
从近几年的新闻来看,如今已经不仅仅是企业和少数个人,就连很多娱乐圈的明星也开始注重知识产权的保护了,相关方面的意识也逐渐提高,此前林志玲、方大同、杨幂等都曾维权自己的名字商标。
作为当下最炽手可热的流量明星之一,蔡徐坤也没有落下。
近期,蔡徐坤正式成立了个人工作室——新沂蔡徐坤影视文化工作室,蔡徐坤以工作室的名义申请了众多商标,都是涉及到自己的名字、名誉和粉丝群体的。
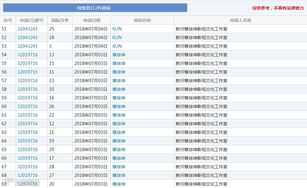
通过商标局官网可以查询到,目前在“新沂蔡徐坤影视文化工作室”名下检索到总计112件商标,最早申请的是在2018年7月3号,最晚申请的则是在2018年7月25号,也就是说蔡徐坤在一个月内就申请了这112件商标。

查询结果显示,这112件商标都是和蔡徐坤以及他的工作室、粉丝团体(IKUN)相关,涉及的只有“KUN”、“蔡徐坤”、“KUN&IKUN”这三件商标,而且几乎是45类全类别注册,保护程度堪称完美。蔡徐坤一次性将所有行业类目都注册了,妥妥的掌握了商标的独家权。
明星作为公众人物,影响力是不容忽视的,一个小小的举动都可能带来巨大影响。于是有不少商家为“搭便车”而将明星、电影角色名称等注册为商标,用以吸引消费者盈利。目前国内外能够有这么强的维权意识的名人并不多,很多明星自己的名字被人抢注过,为了维权而对薄公堂,引起一些不必要的纠纷和麻烦。
作为公众人物,千万不要忽视了商标以及知识产权的重要性,毕竟注册好商标才能得到法律的保护,被人抢注之后再想拿回来就很麻烦了,不仅要耗费人力物力,对自己的心情也会有很大的影响,而且打官司也需要不少费用,何必劳心又劳力,还是趁早注册商标吧!将自己的名字注册成商标,把名字的商业价值发挥到极致是一个很好的做法。

酸甜法务作为专业为企业提供法律咨询、法律解答的专业团队,将竭诚为您提供最优质的法律服务,欢迎来电咨询!
律师预约:178 6517 0318 张老师



