按照《土地管理法》、《城市房地产管理法》、《招标拍卖挂牌出让国有土地使用权规定》和《招标拍卖挂牌出让国有土地使用权规范》等有关法律法规,遵循公开、公正、公平的原则。我局 挂牌出让 3 宗国有土地使用权。现将有关情况公示如下:
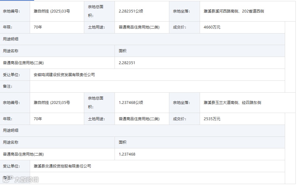
一、地块的基本情况:
二、公示期:2025年10月21日 至 2025年10月27日
三、该宗地双方已签订成交确认书,在30日内签订出让合同,相关事宜在合同中约定
四、联系方式:
联系单位:濉溪县土地储备发展中心
单位地址:濉溪县土地储备发展中心(县建投集团10楼)
邮政编码:235100
联 系 人:王峰 童陆倩
联系电话:0561-7501088
电子邮件:

