
1. 常见结构的尺寸注法
在机械制图中,对于不同类型的孔,其尺寸标注方法有所不同。以下是几种常见孔的尺寸标注方式:
❖ 盲孔

❖ 螺纹孔

❖ 沉孔

❖ 锪平孔

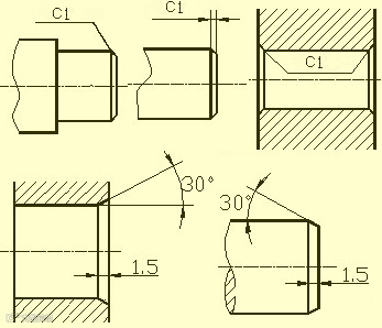
❖ 倒角

2. 零件上的机械加工结构
❖ 退刀槽和砂轮越程槽
在零件切削加工中,为确保刀具顺利退出及装配时零件接触面紧密,被加工表面的台阶处需预先加工退刀槽或砂轮越程槽。车削外圆时,退刀槽尺寸通常标注为“槽宽×直径”或“槽宽×槽深”。磨削外圆或外圆与端面时,则需加工砂轮越程槽。

❖ 钻孔结构
用钻头钻出的盲孔底部带有120°锥角,钻孔深度仅指圆柱部分,不含锥坑。阶梯形钻孔的过渡处为120°圆台,其绘制与尺寸标注需遵循相关规范。

钻孔时,钻头轴线需垂直于被钻孔端面,以确保钻孔精度并防止钻头损坏。正确的钻孔端面结构有三种,均要求满足此垂直度要求。

❖ 凸台和凹坑
零件上的接触面通常需加工处理。为缩减加工面积并确保良好接触,铸件上常设计凸台或凹坑。螺栓连接处可采用凸台或凹坑作为支撑面,同时,为减少加工,也可设计凹槽结构。
3. 常见零件结构
❖ 轴套类零件
这类零件(如轴、衬套)可通过一个基本视图、适当断面图及尺寸标注来完整表达其主要形状和局部结构。为便于加工时查看,通常将轴线水平投影,优选侧垂线位置进行视图布置。
标注轴套类零件尺寸时,常以轴线为径向基准,如Ф14、Ф11(见A-A断面)等,这既符合设计要求,也统一了加工时的工艺基准(如车床加工时的中心孔定位)。长度方向则常选重要端面、接触面或加工面为基准。

如图中所示的表面粗糙度为Ra6.3的右轴肩,被选为长度方向的主要尺寸基准,由此注出13、28、1.5和26.5等尺寸;再以右轴端为长度方向的辅助基,从而标注出轴的总长96。
❖ 盘盖类零件
这类零件呈扁平盘状,包括端盖、阀盖、齿轮等,主要由回转体构成,常带凸缘、均布圆孔和肋等结构。视图选择时,主视图常取过对称面或回转轴线的剖视图,并辅以其他视图(如左、右或俯视图)展示外形和均布结构,如图中左视图展示了带圆角的方形凸缘和四个均布通孔。

在标注盘盖类零件的尺寸时,通常选用通过轴孔的轴线作为径向尺寸基准,长度方向的主要尺寸基准常选用重要的端面。
❖ 叉架类零件
这类零件如拨叉、连杆、支座等,因加工位置多变,选择主视图时需考虑工作位置和形状特征。其他视图常需两个或以上基本视图,并结合局部视图、断面图等表达零件局部结构。例如,踏脚座零件图中的视图选择方案精炼清晰,无需右视图表达轴承和肋的宽度,T字形肋则适宜采用剖面表达。

在标注叉架类零件的尺寸时,通常选用安装基面或零件的对称面作为尺寸基准。尺寸标注方法参见图。
❖ 箱体类零件
这类零件(如阀体、泵体、减速器箱体等)形状结构复杂,加工位置多变。选择主视图时,需重点考虑工作位置和形状特征。同时,应灵活采用剖视、断面、局部视图和斜视图等多种辅助视图,以清晰展现零件的内外结构。

在标注尺寸方面,通常选用设计上要求的轴线、重要的安装面、接触面(或加工面)、箱体某些主要结构的对称面(宽度、长度)等作为尺寸基准。对于箱体上需要切削加工的部分,应尽可能按便于加工和检验的要求来标注尺寸。
4. 表面粗糙度
❖ 表面粗糙度的概念
零件表面微观的峰谷特征称为表面粗糙度,由加工时刀具痕迹和金属塑性变形所致。表面粗糙度是评定零件表面质量的关键指标,影响零件的配合、精度、耐磨性、抗腐蚀性、密封性和外观。
❖ 表面粗糙度的代号、符号及其标注
GB/T 131-1993规定了表面粗糙度代号及其注法。图样上表示零件表面粗糙度的符号见下表。
❖ 表面粗糙度的主要评定参数
零件表面粗糙度的评定参数有:
1)轮廓算术平均偏差(Ra)
在取样长度内,轮廓偏距绝对值的算术平均值。Ra的数值及取样长度l见表。

2)轮廓最大高度(Rz)
在取样长度内,轮廓峰顶线与轮廓峰底线的距离。

备注:使用时优先选用Ra参数。
❖ 表面粗糙度的标注要求
1)表面粗糙度的代号标注示例
表面粗糙度高度参数Ra、Rz、Ry在代号中用数值标注时,除参数代号Ra可省略外,其余在参数值前需标注出相应的参数代号Rz或Ry,标注示例见表。

❖ 表面粗糙度符号在图样上的标注方法
1)表面粗糙度代(符)号一般应注在可见轮廓线、尺寸界线或它们的延长线上,符号的尖端必须从材料外指向表面。
2)表面粗糙度代号中数字及符号的方向必须按规定标注。


表面粗糙度的标注示例
在同一图样上,每表面通常只标注一次代(符)号,靠近相关尺寸线。空间有限时可引出标注。若零件所有或大部分表面粗糙度相同,可统一标注在图样右上角,并注明“其余”。统一标注的文字高度应为图样标注的1.4倍。

零件上连续表面、重复要素(如孔、齿、槽等)的表面和用细实线连接不连续的同一表面,其表面粗糙度代(符)号只注一次。

同一表面上有不同的表面粗糙度要求时,应用细实线画出其分界线,并注出相应的表面粗糙度代号和尺寸。

齿轮、螺纹等工作表面没有画出齿(牙)形时,其表面粗糙度代(符)号注法见图。

中心孔的工作表面,键槽的工作表面,倒角,圆角的表面粗糙度代号可以简化标注。

当零件需局部热处理或镀(涂)覆时,用粗点画线标出范围及尺寸,或直接在表面粗糙度符号横线上注明要求。
5. 标准公差和基本偏差
为实现零件互换性及满足使用要求,国家标准《极限与配合》规定公差带由标准公差和基本偏差构成。标准公差决定公差带大小,基本偏差决定其位置。
1)标准公差(IT)
标准公差的数值由基本尺寸和公差等级来决定。其中公差等级是确定尺寸精确程度的标记。标准公差分为20级,即IT01,IT0,IT1,…,IT18。其尺寸精确程度从IT01到IT18依次降低。标准公差的具体数值见有关标准。

2)基本偏差
基本偏差指确定公差带相对于零线位置的上或下偏差(靠近零线者)。公差带在零线上方时,基本偏差为下偏差;反之则为上偏差。基本偏差共28个,用拉丁字母表示,大写代表孔,小写代表轴。
基本偏差系列图显示:孔A~H和轴k~zc的基本偏差为下偏差,孔K~ZC和轴a~h为上偏差。JS和js公差带对称于零线,上下偏差均为±IT/2。此图仅表示公差带位置,不表示大小,公差带一端开口,由标准公差确定另一端。

基本偏差和标准公差,根据尺寸公差的定义有以下的计算式:
ES=EI+IT 或 EI=ES-IT
ei=es-IT或 es=ei+IT
孔和轴的公差带代号用基本偏差代号与公差带等级代号组成。
6. 配合
基本尺寸相同的、相互结合的孔和轴公差带之间的关系,称为配合。根据使用要求的不同,孔和轴之间的配合有松有紧,因而国标规定配合种类:
1)间隙配合
孔与轴装配时,有间隙(包括最小间隙等于零)的配合。孔的公差带在轴的公差带之上。
2)过渡配合
孔与轴装配时,可能有间隙或过盈的配合。孔的公差带与轴的公差带互相交叠。
3)过盈配合
孔与轴装配时有过盈(包括最小过盈等于零)的配合。孔的公差带在轴的公差带之下。

❖ 基准制
在制造配合的零件时,使其中一种零件作为基准件,它的基本偏差一定,通过改变另一种非基准件的基本偏差来获得各种不同性质配合的制度称为基准制。根据生产实际的需要,国家标准规定了两种基准制。
1)基孔制
基孔制--是指基本偏差为一定的孔的公差带与不同基本偏差的轴的公差带形成各种配合的一种制度。基孔制的孔称为基准孔,其基本偏差代号为H,其下偏差为零。

2)基轴制
基轴制--是指基本偏差为一定的轴的公差带与不同基本偏差的孔的公差带形成各种配合的一种制度。基轴制的轴称为基准轴,其基本偏差代号为h,其上偏差为零。

❖ 配合代号
配合代号由孔和轴的公差带代号构成,形如分数,分子代表孔,分母代表轴。含H于分子的为基孔制配合,含h于分母的为基轴制配合。
例如1:φ25H7/g6的含义是指该配合的基本尺寸为φ25、基孔制的间隙配合,基准孔的公差带为H7,(基本偏差为H公差等级为7级),轴的公差带为g6(基本偏差为g,公差等级为6级)。
例如2:φ25N7/h6 的含义是指该配合的基本尺寸为φ25、基轴制过渡配合,基准轴的公差带为h6,(基本偏差为h,公差等级为6级),孔的公差带为N7(基本偏差为N,公差等级为7级)。
❖ 公差与配合在图样上的标注
1)在装配图上标注公差与配合,采用组合式注法。
2)在零件图上的标注方法有三种形式。

7. 形位公差
零件加工后会出现尺寸、形状及位置误差。如圆柱体可能一端大、一端小或中间细两端粗,截面不圆,属形状误差;阶梯轴各轴段轴线不同,属位置误差。形状公差是实际形状对理想形状的允许变动量,位置公差是实际位置对理想位置的允许变动量,两者统称形位公差。

形位公差项目符号

❖ 形状和位置公差的代号
国家标准GB/T 1182-1996规定用代号来标注形状和位置公差。在实际生产中,当无法用代号标注形位公差时,允许在技术要求中用文字说明。
形位公差代号包括:形位公差各项目的符号,形位公差框格及指引线,形位公差数值和其他有关符号,以及基准代号等。框格内字体的高度h与图样中的尺寸数字等高。

❖ 形位公差标注示例
气门阀杆图中形位公差附近的文字仅为说明,实际图样中无需重复标注。



