本周(10.21-10.27)新房、二手房数据出炉,一起来看下。
NO. 1|壹
新房市场
供应方面,合肥九区本周供应6.89万m²。悦川名苑、璟文院、宸璟湾、和庐序园、望云瑞园进行了楼栋加推。
成交方面,合肥九区本周成交4.57万m²,环比下降3.72%,成交均价24715元/m²,环比上涨0.08%。成交金额11.3亿元。

分区域来看,包河区成交面积占比67.59%,九区排名第一。经开成交面积占比10.28%,九区排名第二。

从成交面积段来看,本周成交面积段130-150m²的占比最大。


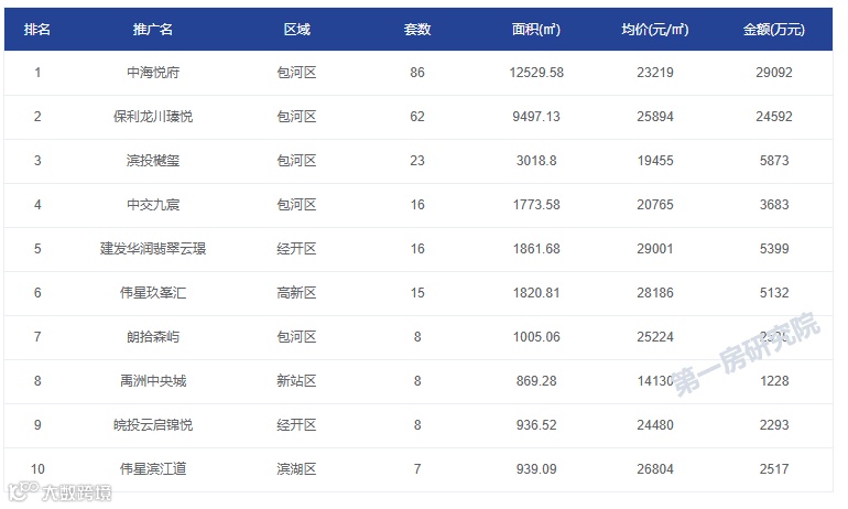
10月21-27日合肥市区备案住宅类商品房330套,备案均价24723元/㎡
第一名,中海悦府备案86套,备案均价23219元/㎡;
第二名,保利龙川瑧悦备案62套,备案均价25894元/㎡;
第三名,滨投樾玺备案23套,备案均价19455元/㎡。
1、土地端:包河区BH202415号地块于2024年6月27日成交,成交总价79508.87万元,楼面价11966元/平方米,溢价率0.29%。住宅历史成交均价2.37万/㎡。
2、市场端:
①项目首开至今累计供应468套,备案444套,去化率94.87%。(含开盘)
3、区位:包河区南二环路以南、包河大道以东。出门就是地铁1号线葛大店站,同时周边有南二环、龙川路、祁门路等主干道,横跨合肥东西。
总结:计容新政后首个入市项目,得房率超90%。周边有合肥市第四十八中学(望湖校区)、合肥市第四十八中学(祁门路校区)、葛大店小学等优质教育资源。距离项目300米就是包河万象汇。
1、土地端:包河区BH202416号地块于2024年6月27日成交,成交总价12.261亿元,楼面价12600元/平方米,溢价率12%。住宅历史成交均价2.49万/㎡。
2、市场端:
①项目首开至今累计供应200套,备案99套,去化率49.5%。(含开盘)
3、区位:项目位于政务东的龙川路与徽州大道交叉口往西约200米,地块位于高铁板块核心位置,距离合肥高铁南站仅500m。
总结:保利龙川瑧悦容积率仅2.0,是板块内难得的洋房产品。项目整盘得房率超90%,洋房产品得房率达95%,而建面约188㎡户型使用率甚至能达到98%。地块还临近绿地大融城、罍街、加侨国际广场、大摩广场、万达广场等,距离骆岗中央公园也仅有 1.5km。
1、土地端:包河区BH202304号地块于2023年4月25日成交,总价14330万元,住宅楼面价10714.29元/㎡、溢价率0.00%。住宅历史成交均价1.8万/㎡。
2、市场端:
①项目首开至今累计供应80套,备案38套,去化率47.5%。(含开盘)
3、区位:项目西近仙寓山路,快速通达南二环与望江东路;南临水阳江路,可直达徽州大道与马鞍山路。
总结:项目紧邻地铁1号线,周边有罍街、后街、包河万象汇、加侨国际广场等城市核芯商圈汇聚,项目周边覆盖多所幼儿园、合肥市望湖小学教育集团卫岗小学(东校区)、合肥市四十八中阳光教育集团六十五中学等优质教育环伺。项目容积率仅1.3,超低密规划。
分区县来看,包河区挂牌面积最高,政务区的挂牌均价最高。

分面积段来看,90-140m²以下的挂牌量最多,整体合肥二手房市场刚需面积段挂牌面积较多。
