

置地雲台映月、天阜江淮壹号案名公布,轨道TOD·棠悦风华预售已拿……各大楼盘开始抢滩金九!
NO. 1|壹
最低1.74万/㎡,淝河纯新盘预售已拿
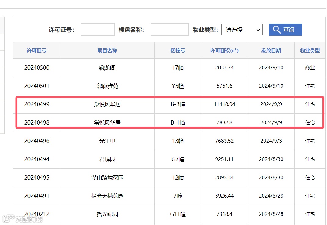
根据合肥市住房保障和房产管理局的消息,轨道TOD·棠悦风华两栋楼已预售拿证。

来源:合肥住房保障和房产管理局
其中,B-3幢为26层的大高,104套房,均价20007元/㎡,主力面积段约104㎡、约115㎡。价格较低的为一楼中间户,约17459元/㎡。

来源:合肥住房保障和房产管理局
B-1幢为17层的小高,64套房,均价22085元/㎡,主力面积段约135㎡、约109㎡。价格较低的为低楼层中间户,约21142元/㎡。

来源:合肥住房保障和房产管理局
作为淝河板块的大型TOD综合体,项目总体量约30万方,包含商办塔楼、一站式商业集群、社区中心公建组团等多重业态。
其中,住宅部分以约104-160㎡的户型为主,当前冻资10万元即可落位选房。
整体来看,项目身上的标签很明显:
其一,这是淝河唯一的TOD综合体,出门就是地铁;
其二,尽管对比1.58万/㎡起的放风价,实际备案均价略微偏高。但作为淝河硕果仅存的毛坯在售盘,依旧存在着些许价格优势。
如果你对轨道TOD棠悦风华项目感兴趣,也可以打开第一房获客宝小程序,点击对应楼盘的详情页咨询。
NO. 2|贰
40大纯新盘抢滩金九
楼市进入金九以来,各大楼盘纷纷加快了自身的入市速度。

比如,置地在省府北的新项目——雲台映月,案名刚刚公布。据悉,项目整体规划6栋洋房+4栋小高层+1栋高层,实际得房率最高超过100%。
还有绿城在董铺湖打造的纯叠墅产品——咏溪雲庐,据说部分户型的实际得房率能够达到120%。
这意味着什么?继保利龙川瑧悦、中海悦府超90%的得房率之后,合肥终于进入到了零公摊的时代。
除此之外,天阜在江淮厂拿下的包河202424号地块,案名也出来了,定为天阜·江淮壹号,9月8日正式对外开放城市展厅。

合肥楼市航拍大图
随着高速壹品、招商玺等千万级豪宅的相继入市,旁边的越秀新项目也坐不住了。
上个周末,观樾对外开放了实景示范区,和樾府的公园会客厅也已对外开放,相信不久之后就会入市。
后期随着这些地块的入市,合肥房地产市场也将呈现出这样的趋势:
1、 新房户型全面拥抱改善,140㎡起步成为常态。越秀观樾、越秀和樾府、绿城咏溪雲庐等楼盘的户型,均已超过200㎡。
说句扎心的话,现在的新房市场,即使瑶海、新站,产品标准都非常地高。更不用说滨湖、包河等城市核心区域的高价地块,会所、泳池、干挂石材到顶、大面积玻璃幕墙等都是标配,很多总价都已达到了千万级。
2、计容新规调整后,多个项目实际得房率均在90%以上。现在也有消息称,2024年5月20日之后出让的土地,全都按照新的计容规则执行,将近20宗涉宅地块。
这些楼盘入市,将会对市场产生降维的打击。毕竟,这是真金白银的性价比,对比周边同面积产品,实际居住面积正常要多个10%。
NO.3|叁
结语
面对这种趋势,合肥新房置业应该选?整体来看,有三类产品需要注意:
其一是计容新政后入市的楼盘,可能价格对比区域同类型产品要高点,但实际得房率很高。
其二是动辄千万级的顶级豪宅作品,如招商玺、高速壹品等,产品、设计、景观等各方面都堪称合肥的天花板。
其三是一大批人才房专为商品房市场化销售,相当一部分都位于新房稀缺的顶流地段,如天鹅湖的文渊府、蜀西湖的擢秀园等。
这也是合肥下半年撬动市场购买力的三把利器,购房者可根据自身的需求选择。
当然,这三把利器都是以改善型产品为主,如果你是刚需,要不看看新站或者三县的新房,要不看看合肥的二手房。
经过长达几年的去泡沫,合肥二手房逐渐回归正常价格,很多房源都具有相当大的性价比。
前段时间,笔者一位朋友在滨湖金融板块买了一个品牌次新房,90多㎡的户型,总价一百六十多万;合肥的四大主城区,更是存在大批量一万块钱左右的二手房,可能房龄老一点,但价格是真的诱人。




