什么是聚乙烯柔性复合管
聚乙烯柔性复合管是一种新型环保管材,由高密度聚乙烯(HDPE)与增强材料复合而成,兼具塑料管的耐腐蚀性和金属管的抗压性,广泛用于液体、气体输送领域。
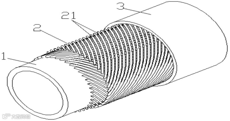
聚乙烯柔性复合管结构
1内芯管:通常采用聚乙烯树脂或交联聚乙烯树脂、聚偏氟乙烯树脂或改性后的其他高分子聚合物树脂;
2-21增强层:为聚合物内衬层上编织或缠绕涤纶工业长丝、芳纶长丝、超高分子聚乙烯长丝或钢丝等;其作用为抵抗内压,平和环向与轴向载荷。
3外护套:采用高密度聚乙烯树脂,具有密封喝保护增强层的作用。
实物图片
核心特点
✅ 柔韧耐用
可弯曲运输和铺设,适应复杂地形,抗冲击、抗拉伸,不易断裂。
✅ 耐腐蚀抗老化
不怕酸碱盐、化学物质,使用寿命长达50年,适合恶劣环境。
✅ 轻便易安装
重量仅为钢管的1/10,无需焊接,快速连接,节省人工成本。
✅ 安全环保
无有害物质析出,符合饮用水标准,100%可回收。
✅ 耐压耐温
工作压力最大可达32MPa,适用温度-40℃至130℃,四季通用。
主要用途
🌾 农业灌溉:节水管道、滴灌系统,轻便耐候,降低维护成本。
🏭 工业输送:化工液体、油气、矿浆等腐蚀性介质的安全运输。
🏙️ 市政工程:给排水、燃气管道,抗沉降,减少渗漏风险。
⛏️ 矿山/工地:泥浆输送、通风管道,耐磨抗压,适应复杂环境。
为什么越来越多的企业选择它?
👉 对比传统钢管:不生锈、不结垢,寿命长3倍!
👉 对比普通塑料管:抗压更强,柔韧不脆裂!
👉 经济高效:安装快、维护少,综合成本更低!
联系我们:
📞0517-87229188 17761847726
🌐 jslgzxsh@163.com
📩 service@xxx.com
生产地址:江苏省淮安市洪泽区东双沟镇仁东路1号

