近期梅西版权对跨境圈的大力围剿正迅速发酵,版权IP的侵权风险正在引发热烈讨论,实际上“专利侵权”的相关TRO数量也在不断上涨,以下产品近期正在大力提告中国卖家,均起诉“专利侵权”卖家们速度自查!
涉案产品为来自广州公司制造的皮带扣,该产品采用金属材质,造型独特,能够有效固定腰带并轻松调节松紧,轻松搭配各类裤子,兼具装饰性与功能性。
起诉时间:2026/3/26
案件号:26-cv-3368
品牌方:Guangzhou Youran Network Technology Co., Ltd.
代理律所:Nitin Kaushik
侵权专利号:USD922252、USD955920
侵权情况如下:
案件信息为密封状态,查询到原告名下有两款皮带扣专利。
专利一、USD922252
专利二、USD955920
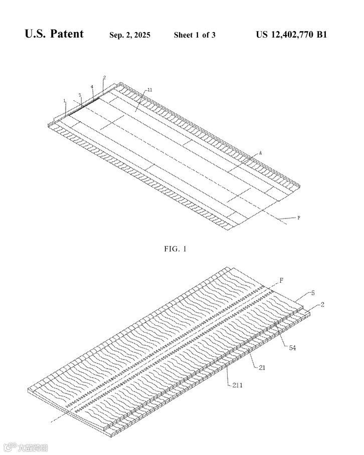
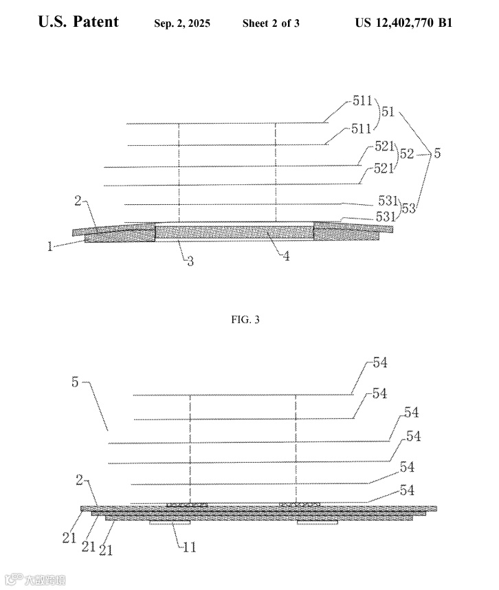
涉案产品是来自国人卖家生产制造的地板清洁垫,该产品能够轻松安装于特定拖把上,表面布满数条纹理,能够高效吸附灰尘,清洁力良好,用后即可直接丢弃省时省力。
起诉时间:2026/1/22
案件号:26-cv-439
品牌方:Dongguan Jiajieshi Technology Co
代理律所:NI, WANG & MASSAND, PLLC
侵权专利号:US12402770B1、USD1048627S
侵权情况如下:
本案涉及地板清洁垫的发明专利及外观专利。
专利一、US12402770B1
专利二、USD1048627S
涉案产品是来自广东国人卖家生产的玩具收纳架,该产品采用实木材质,以及榫卯结构设计,安装方便,能够轻松收纳毛绒玩具,极大节省空间的同时还兼具美观性,孩子能够轻松拿取,有效帮助儿童养成玩具收纳的好习惯。
起诉时间:2026/3/26
案件号:26-cv-3369
品牌方:Weixing Zeng
代理律所:Kaushiklex
侵权专利号:USD1085780、USD1107472
侵权情况如下:
涉案产品是两款毛绒玩具收纳架外观专利。
专利一、USD1085780
专利二、USD1107472
以上三款产品均拥有专利在身,卖家们速度自查店铺,及时下架风险产品。如今的TRO案件中,专利侵权已经越来越高发,一个产品可以有多个专利保护在身,侵权风险非常高。
遇到TRO案件别慌
扫描下方二维码快速处理
深耕跨境领域多年,主营业务包括全球商标专利注册,侵权查询,账号申诉,TRO和解申诉等,一手资源对接,收费透明,全程一对一服务跟进。

