也许很多人难以理解就为了一杯奶茶,值得4万人排队吗?其实茶颜悦色的特别之处就在于,别的奶茶你排队都能买到,唯独你想喝茶颜悦色,必须要买张票来长沙,才能排队拿到号,茶颜悦色已经成为与臭豆腐齐名的长沙旅行的地标性打卡项目了。甚至催生了闲鱼上的“代喝茶颜悦色”的服务,只为过把眼瘾。如今对深圳或周边的人而言,“出门”就能喝到茶颜悦色,自然不能错过这个尝鲜的机会。
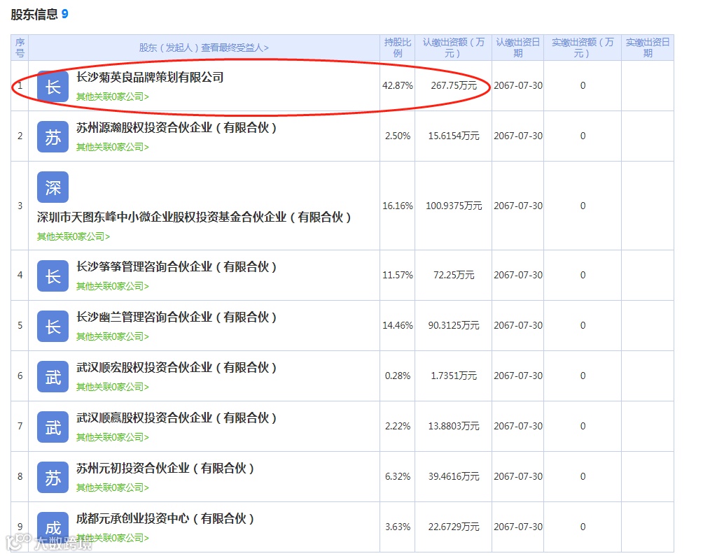
企盾宝资料显示,茶颜悦色品牌的的背后主体为湖南茶悦餐饮管理有限公司,公司法定代表人为吕良,公司注册资本约为624.6万元人民币,公司成立时间为2017年9月5日,公司最大股东为长沙菊英良品牌策划有限公司,占股比例为42.87%。
那么,茶颜悦色为什么能这么火呢?
首先汉语言文学出身的吕良对中国传统文化有深刻独到的理解,加上广告策划的工作经验,吕良选定中国风为茶颜悦色的品牌特色,从品牌名到产品再到视觉设计,无一不是散发着浓浓的中国风情韵味,产品的命名上也是别出心裁,绿茶名为浣沙绿、红茶名为红颜、增加了坚果、巧克力等配料的奶盖茶系列被称为“豆蔻”。
其次,茶颜悦色的”永久求偿权“:只要口味有异,可以在任何时间走进任一家门店要求免费重做,实实在在地拉近了品牌与消费者的距离,为产品品质提供了有效保障。
最后,密集选址也是茶颜悦色的另一大特色。自创立以来,茶颜悦色深耕长沙,以十几平档口店为主,采用密集的打法,基本实现在长沙街巷、景区、购物中心、机场店等高流量地盘的全面覆盖,几乎每隔500米就能看到一家茶颜悦色,强化了品牌在消费者心中的认知度。
但是,也许很多人不知道,2019年8月,一个名为”茶颜观色“的奶茶品牌把”茶颜悦色“给告了。两个品牌只有一字之差,极具迷惑性。
据企盾宝资料显示,“茶颜观色”品牌的主体公司为广州洛旗餐饮管理有限公司。公司法人代表为许绪枝,公司注册资本为100万人民币,公司成立时间稍早于湖南茶悦餐饮管理有限公司,成立于2017年2月15日。公司第一股东为许绪枝,占股60%,第二股东为丁泉,占股40%。
2019年9月湖南省长沙市岳麓区人民法院对原告广州洛旗餐饮管理有限公司诉被告湖南茶悦餐饮管理有限公司侵害商标权纠纷一案作出判决,以原告的起诉不符合条件为由,驳回原告的所有诉求。但被驳回不久,茶颜观色再度对茶悦公司发起诉讼。这次,洛旗公司自认为准备了更加充足的证据和理由,但是,其诉讼请求依然被法院全部驳回。
一年后,即2020年8月,被告湖南茶悦餐饮管理有限公司翻身变成原告,将洛旗公司告上法庭,以被告使用与原告相同或近似装潢标识构成不正当竞争为由向长沙市天心区人民法院起诉。
就在今年4月26日第21个“世界知识产权保护日”,长沙市天心区人民法院官方公众号发布“茶颜悦色”起诉“茶颜观色” 不正当竞争侵权法院一审判决书。法院判决“茶颜观色” 方面败诉,停止在全国范围内与“茶颜悦色”相同或近似装潢的广告宣传、加盟许可招商宣传、虚假宣传不正当竞争行为;并向“茶颜悦色”赔偿经济损失及合理维权费用累计170万元。
证据显示茶颜观色的品牌名字与“茶颜悦色”仅有一字之差,LOGO同样以中国古典仕女为原型,线下门店的装潢元素也差不多,主打中国风。从商标设计、门店场景甚至是招商PPT,茶颜观色都在向茶颜悦色无限“贴近”。
茶颜悦色的官司终于告一段落了,但是这也提醒了企业应该重视知识产权保护,特别是“山寨风”盛行的茶饮市场,因为茶饮的创新与升级没有太多的技术门槛,很容易被抄袭。相关企业应该尽早注册商标,在关联类别上也可予以申请商标,甚至注册一些防御商标,构筑商标防护壁垒。
企盾宝功能模块
1.云搜
针对企业工商数据进行精准检索。
2.企业图谱
通过企业关联图谱快速识别企业风险。
3.关系探寻
多维度探寻企业及法人间的关联关系。
4.信用报告
全景展示企业信用信息,形成精准信用报告。
5.企业画像
多角度探查企业信息,构建全方面画像体系。
全拓数据
企盾宝——数据创造价值
www.qidunbao.com
4008-013-012

