经历了漫长的车市寒冬后,一些在技术和资金方面,都没有太多实力的国产车企,都面临着巨大的经营压力,甚至还有直接倒下。今年上半年,博郡、拜腾、赛麟等造车新势力的接连“暴雷”,让原本就在疫情阴云笼罩下的车市更添一丝凝重,资金问题成为摆在企业面前的一座大山。而这一次,轮到了曾被视为天选之子的长江汽车。
几天前,杭州市余杭区人民法院发布的破产文书显示,造车新势力杭州长江汽车有限公司被法院裁定进入破产清算程序。
公告称,长江汽车的债权人应于2020年11月11日前,向管理人申报债权,书面说明债权数额、有无财产担保及是否属于连带债权,并提供相关证据材料,法院将于11月26日召开第一次债权人会议。
在进入破产程序后,长江汽车的欠薪风波也在持续发酵。欠薪问题自2018年开始,包括贵州长江、成都长江以及杭州长江汽车的各部门员工不断向有关部门投诉,有的甚至直接拉横幅讨薪,但问题始终得不到解决,工资何时发放至今没有准确消息。
并且,自今年8月24日被杭州余杭区人民法院裁定进入破产程序后,长江汽车据称每周发放一次关于“居家等待”的通知,而在几日前,众多员工收到了公司的“解除劳动合同通知书”和“解除劳动合同关系协议书”。
长江汽车前身是成立于1954年的杭州公交客车厂,也曾是公交车领域的骨干企业。90年代中后期走向衰败,进入了工信部拟淘汰企业名单,直到2013年,贵人出现了。这一年,五龙电动车注资重组了这家公司,并更名为杭州长江汽车有限公司,从事新能源商用车的生产制造。
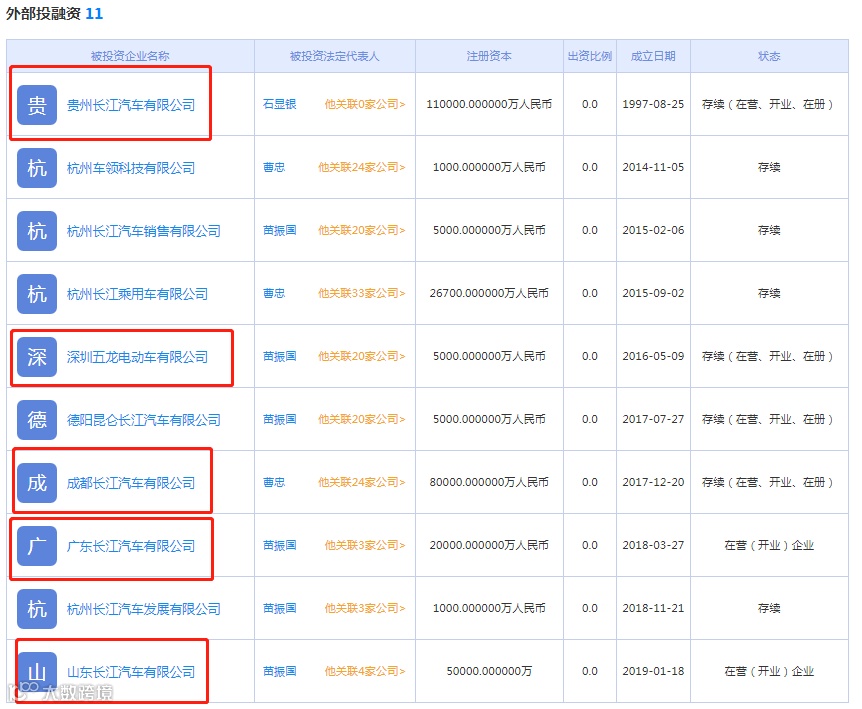
据企盾宝资料显示,杭州长江汽车有限公司注册资本为10亿人民币,法人代表为曹忠,是一家致力于新能源电动汽车研发、制造、销售和售后维保服务的大型现代化制造企业。此外,长江汽车是最早一批获得发改委批文和工信部审核的双证造车企业,也是仅次于北汽新能源后第二家拿到双资质的车企。要知道,从一个造车新势力的品牌发布到车型发布再到后面的上市销售是有“门槛”的,这个“门槛”就是发改委和工信部颁发的“双资质”证书。
而李嘉诚与长江汽车扯上关系,也是因为五龙电动车。2010年有眼光的李嘉诚开始投资新能源汽车行业,成为了五龙电动车的大股东,也就间接成了长江汽车的投资人。也正是李嘉诚站在“背后”,才让长江汽车一时间声名大噪、风光无两。
2016年之后,贵州长江生产基地建立,长江汽车随后加速扩张,在多地建厂、投资,还涉足电池上游材料和电池设计等相关产业链的业务。在“双资质”和大资本的加持下,长江汽车开始走向人生巅峰,五龙电动车拿出50多亿为它建厂,各地方政府也抛出橄榄枝求合作求落户,随后贵州长江、深圳长江、成都长江等子公司相继成立。
李嘉诚、五龙集团、长江汽车,这三者似乎成为了当时新能源市场最具“噱头”的组合。
虽说好的开端是成功的一半,但成功的另一半还需后天的努力。长江汽车就是个很好的例子,它拥有别人羡慕的造车资质与资金支持,但是因为企业经营的问题,最终还是面临出局。
因为前期的扩张,再加上国家补贴退坡,市场需求下滑,长江汽车开始出现资金流动性紧张的状况。而长江汽车缓慢的造车进程和无规划的推进,也被业内认定为“胎死腹中”。
从长江汽车官网中可看到,长江EV共有四款产品:奕阁、奕胜、益众电动公交车以及逸酷。然而除了逸酷为小型纯电动私家车外,奕阁、奕胜均为纯电商用车。此外,逸酷早在2016年就研发出来了,但新能源补贴门槛一再提升,拖到后面这款产品已经达不到补贴要求,导致采购成本太高,缺乏竞争力而没能上市。随后,在2018年北京车展上又亮相三款概念车,但直到现在,这几款产品都未能落地。
雄心壮志后最终却一地鸡毛,或许大家对新势力企业的“暴雷”也习以为常。不管在任何行业,优胜劣汰永远都是生存法则,宏大理想固然重要,但是造车不是造梦,更需要脚踏实地,造出整车接受市场的检验之后才能对成功与否下定义。当前国内的新能源市场,包括补贴政策、民众的购车需求以及市场同级车型的产品都发生了巨大变化,只有跟上时代的步伐才能在造车行业中生存下去。
企盾宝功能模块
1.云搜
针对企业工商数据进行精准检索。
2.企业图谱
通过企业关联图谱快速识别企业风险。
3.关系探寻
多维度探寻企业及法人间的关联关系。
4.信用报告
全景展示企业信用信息,形成精准信用报告。
5.企业画像
多角度探查企业信息,构建全方面画像体系。
全拓数据
企盾宝——数据创造价值
www.qidunbao.com
4008-013-012

