在早前,昆明“别样幸福城”、辽宁大连的君临天下小区烂尾多年,业主因为失业、租约到期等原因,不得已入住缺水断电、没有门窗的烂尾楼,靠电瓶和蜡烛照明,自主取水,在窝棚搭伙做饭。业主们的悲惨遭遇与顽强面对生活的态度感染了无数人。
而如今,又一楼盘烂尾登上微博热搜,#郑州一烂尾楼业主苦等7年无法进户#。原因仍然十分简单粗暴,开发商资金链断了。近日,网曝河南郑州豫森城业主苦等7年,仍没有等来自己所购房子的钥匙,被逼无奈住进没水没电没门没窗的毛坯房。
打开豫森集团的官网,“让世界品味豫森”、“科学筑家,善待您一生!”字样扑面而来,口号和企业愿景说得真好,只是购买了郑州豫森城的众多业主无福消受。
据企盾宝资料显示,豫森城原开发商为豫森地产集团有限公司,该公司成立于2008年,公司法定代表人为王广林。其中王广林占公司80%的股份,王钰鸽占公司20%的股份。
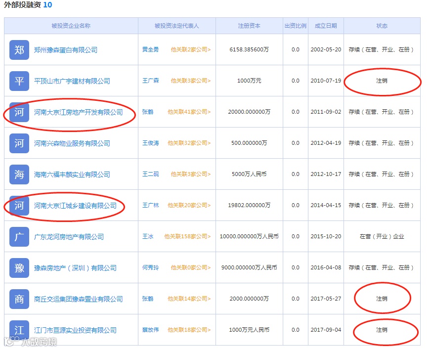
此外,豫森地产集团有限公司对外投资企业还有10家,其中包括河南大京江城乡建设有限公司和河南大京江房地产开发有限公司。其中平顶山市广宇建材有限公司、商丘交运集团豫森置业有限公司、江门市亘源实业投资有限公司均已注销状态。
企盾宝风险信息显示,该公司因自身失信被限制高消费15次,该企业因未按时履行法律义务被法院强制执行4次,目前股东王广林、王钰鸽均被限制高消费。
网上关于“豫森城”的消息,展现出来的不外乎两类:一类是项目初期各式达官显贵站台宣传;另一类就是项目烂尾之后业主啼血维权的新闻。
纵览各类信息后,可以清晰地看出豫森城业主们如今的悲剧与“豫森地产集团有限公司”及其控股的“河南大京江房地产发展有限公司”“河南大京江房地产开发有限公司”在豫森城项目开发上的肆无忌惮、胆大妄为和虚假宣传有着密切关系。
豫森城的烂尾,皆起源于一开始的虚假繁荣。据了解,豫森城属于郑州拆迁改造项目,是豫森集团在郑州开发的第一个楼盘,位于农业路与沙口路交汇处,刚好位于主城区二环内。当时豫森城提出了无证内购的方式,以低于郑州房产均价的方式卖房,顺利吸引到了2000多名购房者购房。可事实上,虽然有很多人买了房,但开发商本身资金紧张。这种千人买房的虚假繁荣,不过是开发商刻意营造的假象。
目前有关豫森城烂尾楼传来了最新消息,金水区大孟砦城中村改造项目(即豫森城项目)指挥部的杨主任表示,这个项目还有不少企业在寻求合作,街道办也在积极帮助引进新的开发商,只要他们愿意接盘,小区就能复工。但,目前谈判的进度有点缓慢。以目前的回应来看,他们想要从烂尾楼搬进新房,还有很长很长的一段路要走。
烂尾楼就是藏在城市光鲜热闹下的暗处的隐忧,一幢幢耸立的水泥空壳背后是成千上万业主大半辈子积蓄的血本无归,甚至无家可归。
企盾宝功能模块
1.云搜
针对企业工商数据进行精准检索。
2.企业图谱
通过企业关联图谱快速识别企业风险。
3.关系探寻
多维度探寻企业及法人间的关联关系。
4.信用报告
全景展示企业信用信息,形成精准信用报告。
5.企业画像
多角度探查企业信息,构建全方面画像体系。
全拓数据
企盾宝——数据创造价值
www.qidunbao.com
4008-013-012

