01
为什么要基于UDS搞Bootloader
假如你的控制器有外壳,却没有设计bootloader的话,每次更新ECU的程序,你都需要把外壳拆开,用烧写器来更新程序。有了bootloader,你就可以通过CAN线来更新程序了。更方便些的话,甚至可以通过OTA进行远程升级。
那为什么使用UDS呢?主要是为了规范bootloader的全过程。比如烧写小明牌ECU时,我们肯定希望其他牌子的ECU处于一个静默的状态,都歇一歇,这就需要一个大家共同执行的标准来进行规范,什么时候停发数据,什么时候不能再储存DTC了等等。
又比如在调试时,大家肯定希望你的控制器经由CAN烧写的过程是大家都能看得懂的,是满足于某种规范的。由此,UDS在设计时考虑了bootloader的需求,专门为bootloader设计了几个服务,供大家使用。主机厂在发需求时自然就要求大家要在UDS规范的基础上完成bootloader功能了。
02
Bootloader应支持的UDS服务
显然bootloader不需要支持19/14等故障类服务。
在boot程序中,10/27/11/3E这样的基础诊断服务需要支持,22/2E读写DID的服务需要支持,31/34/36/37这4个bootloader主打服务需要支持,共10个。
在app段程序中,85和28服务需要支持,保证暂停CAN正常通信,暂停记录DTC,让被升级设备专心升级。
10种boot段服务+2种app段服务
03
测试设备在线Bootloader——三段式
(1)预编程阶段
1. 3E TP报文。
2. 10服务切换到03扩展模式。
3. 85服务和28服务,关DTC和非诊断报文。使整个CAN网络处于安静的状态。这是对整车网络进行操作的,一般都是以功能寻址的方式来发送。注意先用85服务关闭DTC,再使用28服务关报文。
(2)主编程阶段
1. 10服务切换到编程模式,这里要注意,正确的方式是App段程序回复0x78 NRC,接下来跳转到boot段程序,最后由Boot段程序来回复10 02的肯定响应。错误的方式是由App段回复10 02的肯定响应,再进行跳转。
2. 读取一个DID,tester要判断一下返回值。返回值里面可能包含密钥的一部分信息。
3. 27服务,解锁,通过安全验证。
注意10 02服务不应直接进行肯定响应,存在风险
4. 写DID指纹,标记写软件人的身份,ECU回复写指纹成功。(根据OEM要求来执行)
5. 31服务-擦除Flash。ECU肯定响应,擦除成功。
6. 34服务,请求数据下载,ECU回复确认最大块大小。
7. 36服务,开始传输数据。每个块传输完成后,ECU肯定响应。判断是否还有更多块需要下载。最多可以支持255个块。
8. 37服务,请求退出传输。ECU肯定响应。
9. 31服务-校验APP段程序,检查编程一致性/完整性。ECU肯定响应。校验成功。
10. 若有更多块需要下载,重新执行31(擦除Flash区域)-34-36-37-31(校验)服务。若无,往下执行。
11. 11服务,ECU复位。之后应直接跳转到新下载的APP段程序中。
31(擦Flash)-34-36
36-37-31(校验)
(3)后编程状态
1. 10服务切换到03扩展会话。
2. 执行28服务和85服务,使能非诊断报文和DTC。这是对整车网络进行操作的,一般都是以功能寻址的方式来发送。注意先执行28,后执行85,避免DTC误报。
3. 27服务,安全校验,准备写入数据。
4. 2E服务,将编程信息写入到ECU中。
5. 10服务,退回01默认会话。结束。
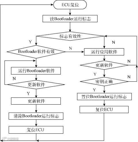
04
BootLoader的启动顺序与转换流程
1. ECU上电或复位后,先进入Boot段。从Flash/EEPROM中读取 App有效标志,运行boot标志 。
2.判断 运行boot标志 ,若为1,则进入Boot段的编程会话(安全等级为上锁),之后写Flash/EEPROM(不安全操作), 运行boot标志 清零。若S3定时器超时则退回Boot段默认会话。
3. 经过安全访问进入Level2解锁状态,开始执行App内存擦除,擦除后 App有效标志 清零(不安全操作)。
4. 开始烧写。烧写成功后 运行boot标志 写0,App有效标志 写1。
2*. 判断 运行boot标志 ,若为0,则进入Boot段的默认会话。
3*. 50ms后判断 App有效标志 ,若为1,则 跳转到 App段默认会话。实现时使用汇编指令执行APP段程序;若为0,退回Boot段默认会话,且不再判断 App有效标志,不会再尝试进入App段。
4*. App段程序若收到了编程会话请求, 运行boot标志写1 ,随即执行ECU复位,这样会重新进入boot段程序。
注:从BOOT跳入APP前需要判断APP的数据完整性,例如进行CRC校验。

