一
高炉净环水系统
冷却设备
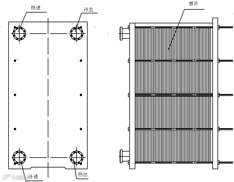
净循环冷却水系统主要供高炉鼓风机站、空压机站、液压站、TRT发电、水—水热交换器等用水。鼓风机站冷却设备有电机、润滑油冷却器、动力油冷却器,冷油器进出口油温为55℃/42℃。空压站冷却设备有空气冷却器、油冷却器等。板式换热器是高炉软水密闭循环的换热设备,通过水—水热交换将使用过的软水冷却下来,见图1。换热设备主要材质有碳钢、铜、不锈钢等。
图 1 板式换热器结构示意图
水处理系统
循环冷却水系统由供水泵、冷却塔、吸水井、补排水系统、旁滤器、管道过滤器、水质稳定剂投加系统等。工艺见图2。
图2 循环水处理工艺流程图
高炉净环水属于典型的间接冷却水系统,水处理上从阻垢缓蚀、杀菌灭藻上考虑,而板式换热器的堵塞是高炉净环水应该关注的问题。板式换热器板片间隙只有1mm,而且流道复杂,很容易堵塞。如果板片堵塞,影响换热效果,不得不进行清洗,板片清洗比较麻烦。堵塞的原因,一是杂物堵塞,二是结垢堵塞。避免杂物堵塞,可在板式换热器进水总管上安装自清洗管道过滤器,依靠其截流住水中杂物。避免结垢除了控制好水的各项指标,投加水处理药剂外,还应关注几台换热器的配水,必须通过调整每台换热器进水阀门,使每台换热器进水均匀,如果进水不均匀,使得水量小的换热器水流速过低,即使水处理工作做得再好,也可能出现结垢现象。
二
高炉软环水
用水设备
高炉冷却目的在于保证高炉不被烧坏并延长其砌体与设备的使用期限,高炉冷却效果的好坏是影响高炉一代寿命的重要因素。高炉冷却系统包括高炉冷却壁、风口、炉底、热风阀等各种冷却设备,而这些设备热负荷强度极高,特别是高炉风口小套热流密度高,若采用以生水为补充水的间接冷却方式,在低浓缩倍数运行,即使投加阻垢缓蚀剂仍不能避免这些换热设备结垢,结垢影响了高炉的寿命。因此,要提高高炉的一代寿命,必须供给优质冷却水。软水(纯水)密闭循环的采用避免了设备结垢,同时没有强制排污水量,从环保角度考虑也是优选的方式。
图3铸铜冷却壁示意图
高炉炉衬内部温度高达1400℃,一般耐火砖都要软化和变形。高炉冷却装置是为延长砖衬寿命而设置的,用以使炉衬内的热量传递出动,并在高炉下部使炉渣在炉衬上冷凝成一层保护性渣皮,按结构不同,高炉冷却设备大致可分为:外部喷水冷却、风口渣口冷却、冷却壁和冷却水箱以及风冷(水冷)炉底等装置。
冷却壁是高炉内部的冷却设备,置于炉壳与炉衬之间,主要材质为铸铁,铸钢或铜。冷却壁主要用于风口及以下区域,起冷却高炉炉缸内衬的作用。图3为铸铜冷却壁示意图。
高炉风口,是保证高炉正常生产的关键部件。通常安装于炉腹与炉底之间的炉墙中,前段有500mm伸入炉内,直接受到液态渣铁的热冲蚀和掉落热料的严重磨损,容易失效,因频繁更换风口导致高炉休风,导致高炉低产。高炉风口的使用环境极端恶劣,要承受约1500度以上的高温。冷却是极重要的因素。由于软水密闭循环的采用,避免了因垢物附着使传热面结垢,烧毁风口的现象。高炉风口的结构有:空腔水冷风口、双腔旋流风口、贯流式风口、双进双出风口、偏心式风口。图4为贯流式风口结构示意图。
图4贯流式风口结构示意图
水处理设备
软水(纯水)密闭循环系统包括水泵、供水管网、脱气罐、膨胀罐、热交换器、加药装置等。工艺见图 5—6。软水(纯水)密闭循环系统多为水—水热交换,在盛满软水(纯水)的膨胀罐内,以氮气作密封,在整个循环过程中系统是密闭的。由于软水(纯水)中存在溶解氧,具有腐蚀倾向,因此须特别注意缓蚀措施。在系统中需要投加缓蚀剂、杀菌剂以保护设备和管道。
图5 高炉软(纯)水密闭循环工艺流程
三
高炉煤气洗涤水
高炉除尘工艺
高炉煤气湿法除尘是利用高炉煤气洗涤装置将煤气中烟尘带进水中达到烟气净化和降温的目的。工艺见图6。高炉煤气洗涤采用塔文除尘、双文方式、比肖夫塔等洗涤方式,高炉煤气入塔前烟尘含量5—10g/Nm3,出文氏管后小于10mg/Nm3。湿法除尘工艺常用的有塔文系统处理流程、双文系统处理流程、比肖夫塔煤气清洗系统(环缝洗涤系统)三种方式。
图6 高炉煤气洗涤工艺流程图
含锌高炉煤气洗涤水的水质特点及故障
高炉煤气洗涤水的水质受高炉冶炼物料的影响很大,特别是高炉铁矿石中含锌,使高炉煤气洗涤水中含有锌离子的结垢型水质。高炉煤气洗涤水系统中各流程段水质也是不同的,为此把高炉煤气洗涤水系统分为回水段、中间段、送水段。回水段是从洗涤设备出来到沉淀设备进口,中间段是从沉淀设备出口到冷水池,送水段是降温冷却后到送往洗涤设备。
在典型的含锌高炉煤气洗涤水系统中沉淀池出水到冷水池管道、送水管道、冷却塔喷头结垢,洗涤塔送水管道、阀门等处尤为严重,供水泵叶轮、洗涤塔喷头也存在结垢现象,洗涤塔出水管道不存在结垢现象。
高炉煤气洗涤水系统中水垢大多为灰白色夹杂黑色颗粒,除水泵叶轮、洗涤塔喷头水垢致密坚硬外,其它都较疏松。从管道中垢样分析成分看,主要是锌、钙、铁和酸不溶物,这说明污垢主要是由锌、钙垢和悬浮物组成。
高炉煤气洗涤水的处理流程
高炉煤气洗涤水从煤气洗涤塔、文氏管、减压阀、湿式电除尘等设施排出,水中主要含有TFe、Fe2O3、FeO、SiO2、CaO、MnO、C等物质,以含铁粉为主,还含有焦炭粉末及少量酚、氰有毒物质。高炉煤气洗涤水处理包括絮凝沉淀、冷却、水质稳定、污泥脱水等主要工序。高炉煤气洗涤水净化煤气后从高炉煤气洗涤系统出来汇集到回水渠道,进沉淀池、出水汇集到高架渠道流到热水池,经水泵加压上冷却塔降温冷却回到冷水池送往高炉煤气洗涤塔循环使用,沉淀池排出污泥经一组渣浆泵送到污泥脱水设备。高炉煤气洗涤水处理流程见图6。
①悬浮物的去除
高炉煤气洗涤水悬浮物含量在700mg/L—3000mg/L,粒径在50—60μm左右,一般大部分在100—300μm左右。采用自然沉淀法去除悬浮物,出水悬浮物在100mg/L—200mg/。煤气洗涤大多数厂采用辐射沉淀池,近年来斜板沉淀池也有应用。为了提高供水质量,减少结垢因素,建议悬浮物控制在35mg/L以内,通过絮凝沉淀可以实现。采用絮凝沉淀可以投加混凝剂和助凝剂,常用的混凝剂有聚合氯化铝和聚合硫酸铁,助凝剂采用聚丙烯酰胺。絮凝剂和助凝剂应投加在沉淀池进水渠道上,相距10米以上,而且应在渠道上安装混合装置,以利于悬浮物和药剂的混合反应,提高沉淀效果。
图6 高炉煤气洗涤水处理流程
②结垢的防止
对于含锌洗涤水结垢是主要故障,为了解决结垢问题。在沉淀池出口投加阻垢剂,实践证明只能缓解结垢速度。最好在回水渠道投加絮凝剂之前先投加氢氧化钠在投加絮凝剂、助凝剂,沉淀池出口投加阻垢剂。投加氢氧化钠调节水的pH值,使其控制在7.2—8.0,在7.7—8.0之间锌的去除率最高,锌离子小于5mg/L。水中加入氢氧化钠后,溶解性的锌离子变成不溶性的氢氧化锌,氢氧化锌在絮凝剂的作用下和悬浮物一起成为絮体在沉淀池中沉淀。氢氧化钠的投加应采用全自动控制方式,把水的pH值控制在范围之内。阻垢剂应根据循环水量连续均匀投加,筛选阻锌好的药剂。
③污泥处置
从沉淀池排出的污泥浓度在10%-20%,用泥浆泵送到二次浓缩池进一步浓缩,经浓缩后将含泥量为30%-40%的泥浆直接送到过滤机,经过滤脱水后得到含水率为20%-30%的泥饼,送到烧结回收利用。
常采用的脱水设备主要有GN筒型内滤式真空过滤机、筒型外滤式真空过滤机、圆盘真空过滤机、带式压滤机和板框压滤机。内滤式真空过滤机在许多钢铁厂应用,但存在操作较复杂、效率低、滤布寿命短、更换时间长,而且脱水率低等缺点,逐渐被带式压滤机和板框压滤机所取代。



