功率二极管失效分析
1、安全工作区及其限制因素
1.1安全工作区
功率二极管的安全工作区(SOA)是由极限工作电流、电压及功耗决定的。最高电压受制于反向重复峰值电压URRM,最大电流由浪涌电流IFSM决定。不论是导通期间浪涌电流通过时产生的功耗,还是反向恢复期间,受电路寄生电感的影响,阳极电压出现过冲诱发动态雪崩而产生的功耗,都必须低于功率二极管所允许的最大功耗,或工作结温低于最高结温 Tjm。快速软恢复二极管的SOA远小于普通功率二极管的SOA。

图1 功率二极管的SOA
1.2浪涌电流容量
对于不同的结构二极管,为了评价其承受浪涌电流的能力,通常在10ms的时间内加上脉宽为1~2s的正弦电流脉冲,使JFSM由500A/cm2增加到2kA/cm2,通过测量给定电流脉冲下的动态I-U特性,就可预测二极管在浪涌电流下是否会引起失效。
为了提高功率二极管抗浪涌电流的能力,要求阳极注入效率随电流密度增加而增大。 除了采用IDEE阳极等新结构外,还可通过采用厚金属化电极或增加压焊点的面积来提高浪涌电流容量。

图2 功率二极管动态I-U特性曲线

图3 IDEE-CIBH与常规PiN二极管的动态I-U特性比较
1.3动态雪崩耐量
在反向恢复期间,当功率二极管的反向尖峰电压超过pn结的雪崩击穿电压时,会出现动态雪崩,碰撞电离所产生的电流会导致其功耗显著增加。动态雪崩耐量就是功率二极管在动态雪崩期间所能消耗的峰值功率密度。功率二极管发生动态雪崩后,虽然会引起额外的功耗,但并不一定会损坏二极管,除非阳极与阴极双侧均发生雪崩击穿,引起电流集中。

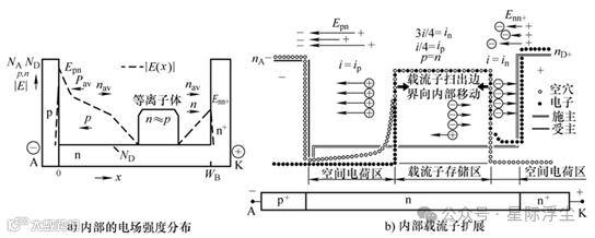
图4 功率二极管发生双侧雪崩时内部电场强度分布与载流子的扩展
如图4a所示,当阳-阴极间的反向电压很高时,pn结会发生雪崩击穿。雪崩产生大量的电子-空穴对,在耗尽层电场的作用下,其电子向阴极侧漂移,空穴向阳极侧漂移,导致阳极pn结处的载流子浓度增加,于是峰值电场强度增大,此处的电场梯度分布变得很陡 (图中a段)。在离pn结稍远的n-区中,因电子浓度 nav增加,补偿了其中原有的空穴浓度 p,导致此处电场梯度变缓(图中b段)。在等离子区边沿处,电场强度必须为零,所以此处的电场梯度分布又变陡(图中c段)。随着pn结动态雪崩的增强,nn+结处的峰值电场也逐渐增强,并出现与pn结相反的梯度。如果原有的自由电子浓度n足够高,能完全补偿正电荷的施主杂质ND,则nn+结处的电场梯度随雪崩电子浓度nav的增加而增加,会导致Enn+增大,于是nn+结处也会发生雪崩。
如图4b所示,在pn结的空间电荷区,以空穴电流为主;在nn+结的空间电荷区, 以电子电流为主。 在n中性区中,电子电流占3/4,而空穴电流占1/4(由于μn≈μp,即 in≈3ip),即电子电流in大于空穴电流ip,所以增加了nn+结处的雪崩载流子与雪崩电流,大量的雪崩载流子使得nn+结的空间电荷区变窄,Enn+进一步提高。当Enn+达到临界击穿电场强度时,nn+结也会发生雪崩击穿。于是极高电流密度在阴极侧的局部区域内产生,触发二极管热损坏,引起局部失效。因此,抑制Enn+有利于减小雪崩电流,提高动态雪崩耐量和可靠性。
提高功率二极管的动态雪崩耐量:
(1)通过降低阳极发射效率、控制少子寿命来改善正向导通时n区的载流子浓度分布。
(2)改善二极管电流分布均匀性,不仅要保证工艺和材料参数变化最小,防止局部出现电流集中,而且需要改善终端结构,避免有源区和终端连接处局部出现电流集中或发生动态雪崩。
(3)采用CIBH或FCE二极管结构有效抑制n-n结电场,避免nn+结在强场下发生雪崩碰撞电离。
(4)采用双质子辐照(即二极管的阳极和阴极都采用质子辐照),具有较高的动态雪崩耐量和超软的反向恢复特性。比如,采用双质子辐照的4.5kV FRD,在125℃、UDC=3.2kV电压下关断90A/cm2正向电流时,反向恢复电流密度最大值为270A/cm2,过电压URM为4kV,由动态雪崩产生峰值功率密度(Jrr·URM)可达1MW/cm 2。
2、失效分析
2.1过热失效
Tint是指当热产生导致温度升高时的载流子浓度ni(T)等于衬底掺杂浓度ND时的温度。 当温度高于Tint时,载流子浓度随温度按指数增长,热产生成为主导因素。由于受材料、工艺等因素的影响,器件Tjm通常远小于Tint。
导通状态由浪涌电流产生的功耗,截止状态由漏电流引起的功耗,反向恢复期间由高反向电压产生的功耗,这些功耗均会导致器件的工作温度升高,并引起温度与电流之间出现正反馈,器件最终发生热击穿。
过热失效通常表现为器件出现局部熔化。如果局部温度过高,发生在点状区域内,还会导致管芯产生裂纹。如果功率二极管的工作频率很高,在断态和通态之间高频转换,会产生很大的功耗,此时器件的过热失效形貌可能会不同。随着温度的升高,首先是阻断能力丧失, 几乎所有的平面终端器件都会在边缘处发生击穿。因此,损坏点通常位于器件的边缘处,或至少是边缘的一小部分。
2.2过电流失效
过电流失效是指功率二极管导通期间浪涌电流通过时产生很高的通态功耗而导致的失效。最高温度会出现在压焊点处,使周围表面的金属化电极熔化。失效位置通常在有源区内, 表现为键合线引脚附近的金属化层被熔化。
2.3过电压失效
过电压失效主要是由功率二极管工作时所承受的电压超过额定电压所致的。过电压引起的损坏通常出现在结边缘终端区。对于1.7kV二极管,过电压引起的损坏点位于有源区与终端区第一个场限环之间,如图5a所示。从失效形貌来看,损坏点较小,说明失效点并没有通过大电流,可能是由于器件使用中两端所加电压超过额定电压所致,也可能是器件制造过程中引入的缺陷所致。如图5b所示,对3. 3kV二极管,过电压导致大部分有源区和部分结终端区被烧毁,说明失效后有大电流流过,因此,可认为破坏点首先出现在终端区,然后延伸至有源区的键合线。

图5 过电压引起的功率二极管失效图例
2.4动态雪崩导致的失效

图6 功率二极管因动态雪崩引起的失效波形与图例
功率二极管反向恢复期间发生动态雪崩后引起电流集中,会导致功率二极管局部失效。图6a,当功率二极管流过360A的IRM(对应的电流密度约为400A/cm2)后,在200ns内反向电压已升到2kV,此后不久便失效了。如图6b所示,动态雪崩引起的失效发生在有源区,有一个小的熔化通道,并伴随有裂纹,裂纹呈60°角分布,这与点状应力作用于 <111>晶向的硅片所致的破坏一致。说明在很小的区域内存在电流集中,并且电流密度和温度极高。
此外,由于材料或工艺均匀性等问题(如存在缺陷、扩散均匀性、寿命控制和电极接触等),在很小面积内通过很大的电流时,也会引起失效。比如掺金二极管在高反向尖峰电压下会直接失效,就是因为金扩散引起非均匀的寿命分布而导致器件内部很小的面积内发生了雪崩击穿。

