
大律师啤酒,突出一个高端!做产品,就是要做针对性的产品!大律师啤酒,大律师谈事专用啤酒,你值得信赖!

7月20日是商标局公告日,也是商标局一周一次的公告日。这次共有27万枚商标获准公告,进入为期三个月的公告期。
其中有几枚公告商标,叫“大律师”。

商标核定使用商品为:21类厨房用具、25类服装鞋帽和32类啤酒等。很明显,这是一次非常不错的商标布局。身为大律师,就算是啤酒也总不能是“感情深,一口闷”吧,装备得好。
所以就需要高端器皿来提高档次了!21类商标,是厨房器具商标,主要范围有:玻璃用具、陶瓷、茶具、酒具等。
在注册32类啤酒商标的时候,同时注册一个装酒神器商标,唯有两个字:专业!所以,这么一想,其实这家公司注册的第25类商标也是非常有作用的。
首先你得看一眼,这家企业在注册商标选择的类别。

工装裤、工作服、腰带、衬衫等。这好像就是妥妥的一套标配啊!喝酒,喝的是大律师啤酒,而且还要用大律师酒杯,身穿大律师专用套装!

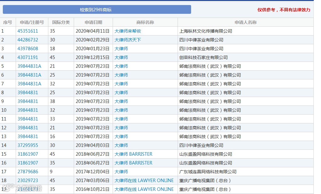
查询中国商标网可知,武汉这家企业其实不止申请了这三枚“大律师”商标。

一共有9枚大律师商标,从目前商标局的公告可知,只有三枚商标获准通过了初审,已经进入公告期了。其他商标至于为什么会被驳回,可能是因为近似的问题。这家武汉企业并不是第一家申请“大律师”商标的企业。
目前查询可知,共有29枚有关“大律师”商标。

但是九枚商标,只通过了三枚商标,也可见商标注册的不易。
注册商标,有时候没有规律可言,看似成功不了, 但它就是成功了。商标是动态,它可能会因为某些商标而导致你申请商标时被拒绝。也因为时差一天,你就能比其他人早一天提交申请,早一步申请成功。
注册商标是风险是不一定,没有百分百的成功,也没有百分百的失败。
来源:微信公号--麦知快讯


