
随着商标注册越来越难,很多创业者把主意打到了已经注册的商标身上。
如果注册商标注册满三年没有被使用的话,就可能会因撤三停止使用注册商标。
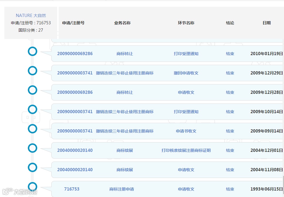
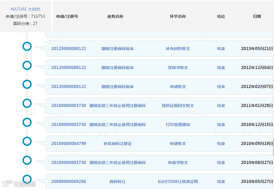
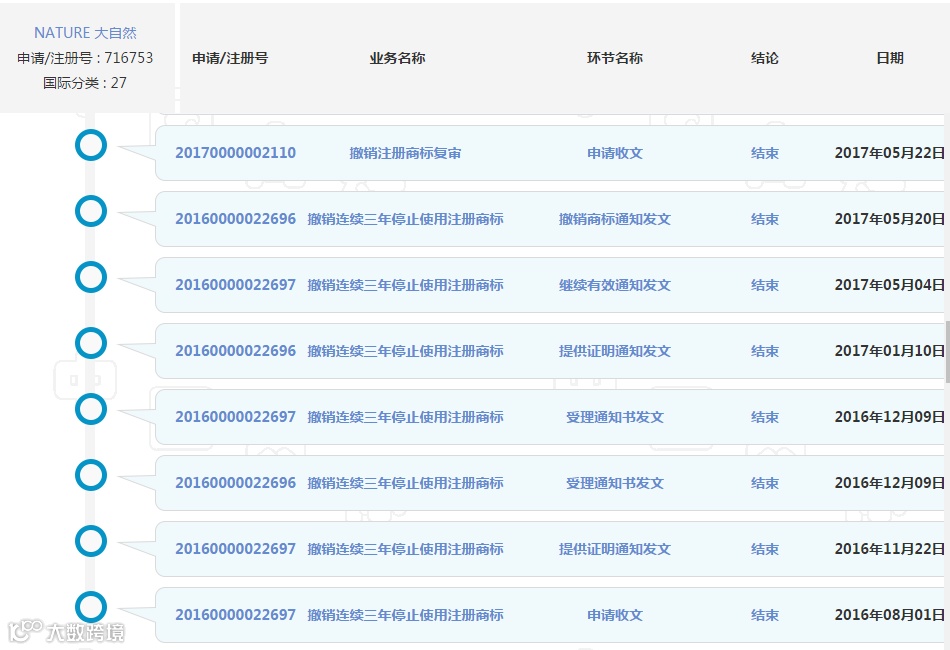
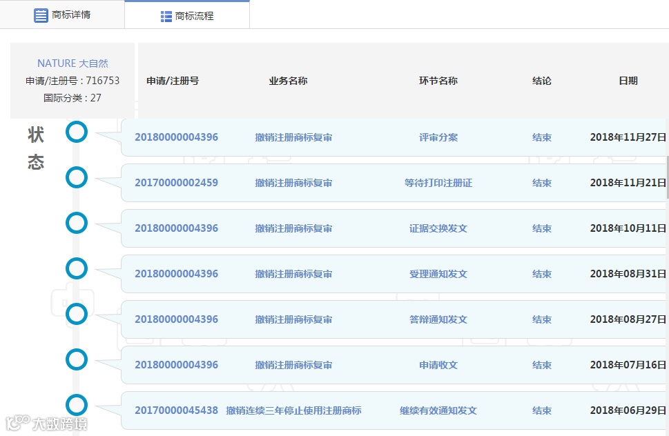
近期有一家公司因商标多次被申请撤三,被网友称目前为止遇到的最惨商标,没有之一。

杭州比纳实业有限公司是一家集科工贸一体化、产供销一条龙的专业性.环保型胶粘剂研发与生产企业,该公司于1993年6月15日提出申请商标“NATURE 大自然”并通过审核。




近三十年间多次被申请撤销连续三年停止使用注册商标,而杭州比纳实业有限公司的应对策略也是让人叹为观止。
所谓越挫越勇,大概就是如此吧!

我国《商标法》第四十九条规定,“注册商标没有正当理由连续三年不使用的,任何单位或者个人可以向商标局申请撤销该注册商标。”
也就是说,如果一个商标满足了“没有正当理由”而且“连续三年不使用”,就会面临被撤三的危险。
商标撤三并不是说只要被提出就会被撤销商标权,如果企业有使用商标的使用证据,并且这个证据是符合根本要求的使用证据,那么企业的商标还有被保护的机会,那么遇到商标撤三应该如何应对呢?

一、准备充足的商标使用证据材料
1.发票
发票作为经济交往中基本的商事凭证,是记录经营活动的一种书面证明,是在购销商品、提供或接受服务以及从事其他经营活动中开具、收取的收付款凭证。因此,真实有效的商品销售发票或服务提供发票可以有力地证明注册商标的使用情况。
另外,相对于以手工方式开具的发票,机打发票更具有证明力。
2.合同/协议
合同、协议是经济主体参与经济活动的重要凭证和依据,但是一定要明确标注商标的具体内容(如名称和注册号等),为商标的使用留下有效证据。
3.产品检验报告
产品检验报告是由具有较高公信力的质量监察部门,或行业协会等权威机构出具的产品认证报告,其手续颇为严格,因而产品检验报告可视为商标使用证据,证明商标持有者有合理使用注册商标。
4.宣传广告或包装物
广告是向相关公众宣传商品或服务的重要方式,商标在广告中通常处于十分显眼的位置,一些纸质广告甚至可以提供明确的时间;商品包装物向来都标识有商标,否则该商品很难进入市场中流通销售。
因此宣传广告或者包装物也可作为商标使用证据,证明商标有被合理使用。
5.商标印制证明材料
商标印制的证明材料也是证明商标使用的证据之一。然而,很多商家只能提供商标的实物,却无法提供印制的具体时间,因此不能作为有效的证据予以采信。
二、将满三年的商标重新提出注册
此方式虽然从某种意义上来说属于浪费,但较省时省力,且最为安全。但别忘了申请人要一致。及时变更联系地址同时与代理机构保持联系,以保证能及时收到商标局通知文件。
三、做好商标监测
可以通过商标监测,实时了解商标现状,及时发现近似的新申请商标,这些商标的注册人可能会对我们长期未使用的商标提“撤三”。

商标被撤三时,企业要积极应对,不要以为商标使用了就对商标撤三不闻不问,如果企业有证据但是没有提交,商标仍然会被撤销,企业的注册商标就这样失去是不值得的。
【温馨提示】来源金名标,版权归属原作者,若有不妥,请联系告知修改或删除,谢谢。
卓一慧众关注疫情下中小企业的发展,已响应国家和地方政府号召,守疫情规则,打赢疫情战,全体伙伴共同奋斗,持续开展在岗、在线,为客户服务,创造更多价值,深耕品质,融合进取,通过商标、专利、版权等知识产权服务,提升疫情下的企业核心竞争力!知识产权服务,就找卓一慧众!


