与爱优腾购买版权影视或自制影视剧不同,B站还养活了一大批UP主,内容极其丰富且独家,非常受年轻人的欢迎。

获悉,阿婆主一般指UP主。UP主(uploader),网络流行词。指在视频网站、论坛、ftp站点上传视频音频文件的人。
up是upload(上传)的简称,是一个日本传入的网络词汇。在B站中的视频博主也被称作是UP主。
近日,B站关联公司上海幻电信息科技有限公司新增多条商标信息,其中一项商标名称为“阿婆主”,申请/注册号为51688083,商标分类为服装鞋帽,目前状态为“注册申请中”。

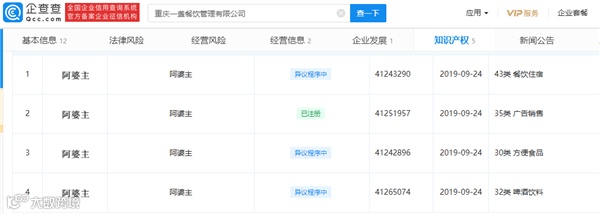
据查询发现,去年9月就有餐饮公司拿到了“阿婆主”的商标,商标分类是“广告销售”。

另一家南京北鲲投资管理有限公司早在2017年5月就拿到了“阿婆主”的商标,而种类恰恰与此次B站申请的商标分类一致,均为“服装鞋帽”。不过两者的商标图案有所不同。

据悉,不久之前,B站还曾申请注册了“一键三连”商标。
10月26日,B站关联公司上海幻电信息科技有限公司新增多条“一键三连”的商标信息,商标状态为“商标申请中”、“等待实质审查”。涉及类别包括了教育娱乐、社会服务、科学仪器、网站服务、广告销售等。

“一键三连”算得上是B站的老传统了,指的是用户在长按点赞键同时,会对喜欢的作品进行点赞、投币、收藏,以表达对作者的赞赏。
根据B站发布的2020第三季度财报显示,哔哩哔哩第三季度营收达32.257亿元,同比增长74%。
数据显示,截至今年第三季度,哔哩哔哩平均月度活跃用户人数(MAU)达1.972亿人,同比增长54%。移动月度活跃用户人数达1.835亿人,同比增长61%;平均每日活跃用户人数(DAU)达5330万人,同比增长42%。B站用户平均年龄为21岁,新增用户的平均年龄为20岁。
商标的知名度就是一个商标的价值所在,有时候一个热点商标,甚至可以为企业创造上亿的价值。在互联网的时代 流量意味着商机、不管是名人还是中小企业都应提高商标保护意识、维护自己的权益。






