众所周知,各大手机品牌都喜欢设立几个自己的独立子品牌,比如小米与红米,vivo与iQOO,OPPO与realme,华为和荣耀等等,而在数年前国内智能手机市场也颇有人气的魅族,也有自己的中低端系列“魅蓝”。
2014年,魅族正式发布了旗下的子品牌魅蓝。随后陆续推出了魅蓝品牌的相关产品。魅蓝以“Quality For Young”为品牌内核,主攻年轻人市场,很快便收获了大量的用户。
2014年,魅族于首次申请“魅蓝”商标,并于同年发布“魅蓝”品牌手机。2015年初,魅族获得了阿里6亿美元的投资,当时其竞争对手主要为小米、荣耀这样的主打性价比的互联网品牌。

然而,魅族科技于2018年做出人事架构调整,将原本魅族魅蓝的工作重新整合,这使得魅蓝的发展进入了暂缓期。最终由于经营不当,魅族的智能手机业务已经日薄西山,市场份额年年下降,魅族最终还是放弃了子品牌魅蓝。
而最后一款魅蓝手机则是2018年5月29日发布的魅蓝6T,此后该系列再无音讯。魅族官方称,自2014年发布,魅蓝系列已发布20多款手机,总销量突破5000万台。
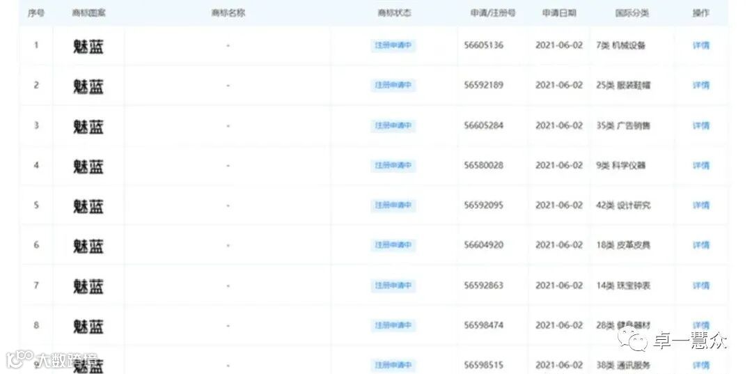
不过,随着魅族科技的新动作,魅蓝手机再次回到了大家视野。根据最新的消息显示,魅族科技于近日申请注册了大量“魅蓝”商标。覆盖国际分类包括,25类 服装鞋帽、7类 机械设备、35类 广告销售、9类 科学仪器、42类 设计研究、18类 皮革皮具、14类 珠宝钟表、28类 健身器材、38类 通讯服务等多个分类,商标状态则均为“注册申请中”。

如果魅蓝品牌商标申请通过,魅族有望重启魅蓝手机产线,恢复中低端手机生产业务,逐渐恢复元气。基于此,目前也有推测认为,这有可能意味着魅族将在接下来再次推出魅蓝系列产品,为用户带来更多定位的产品选择。

魅族复活魅蓝的目的,或许是想重拾千元机市场。高性价比的千元机,通常是口袋不宽裕的年轻人购买第一台手机的首选。不过如今的手机市场竞争激烈已是共识,曾经魅族主攻的中低端市场已被小米、OPPO、vivo推出的子品牌瓜分殆尽,荣耀品牌独立出华为虎视眈眈,魅族想要重新跻身于此难度不小。
不过卓不凡认为,此次大张旗鼓注册商标,至少可以防止被有心人抢注。如果未来魅蓝可以重回人间,希望能找回当年的初心,为更多年轻人带来好用的“青年良品”。





