随着短视频行业的不断发展,直播带货的兴起,电商已经成为各个短视频平台的重要收入来源,之前各个短视频平台的支付模式通常是通过与微信、支付宝等大型支付平台合作完成,但是随着支付渠道手续费的不断增长,主流短视频平台都在积极布局支付领域。

实际上,自2016年8月第一批支付牌照到期续展时,央行已明确表态原则上不再核发新牌照。各个互联网厂商,不论是字节跳动、美团、拼多多还是如今的快手,想获得一张支付牌照都需要通过并购等方式才能实现。
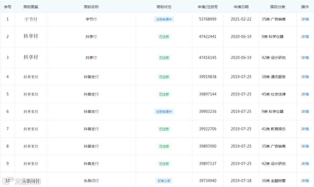
字节跳动布局支付领域就要提前很多,抖音支付于今年1月19日上线,而它的商标则在2019年就开始布局了。

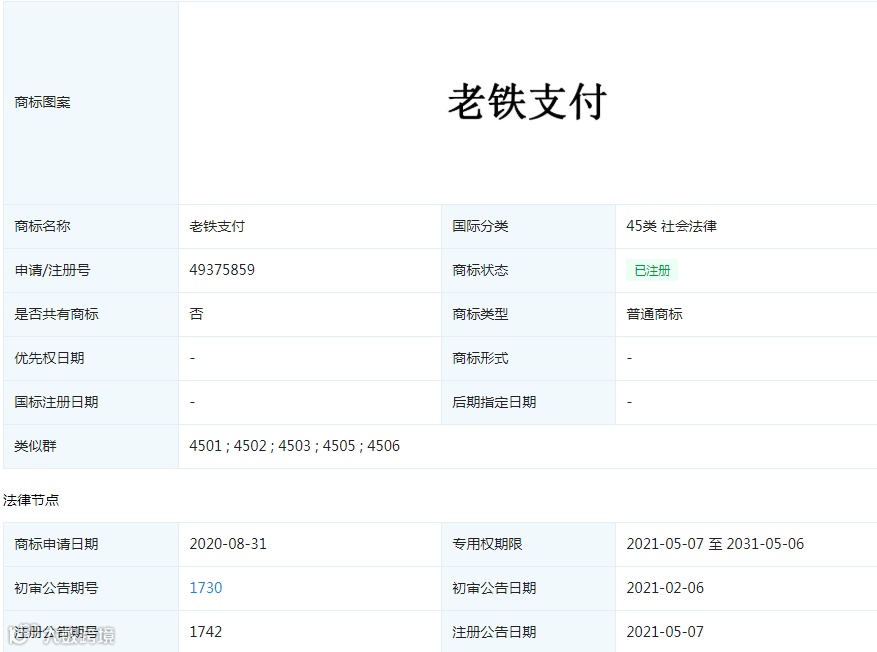
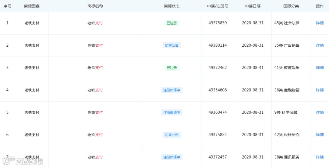
事实上,快手关联公司北京达佳互联信息技术有限公司在去年8月31日就申请了“老铁支付”商标,这说明快手也一直在积极的推进自有支付渠道的落成。

10月12日,快手关联公司北京达佳互联信息技术有限公司申请注册的多个“老铁支付”商标状态变更为“已注册”,国际分类包括社会服务、广告销售、教育娱乐、网站服务,而涉及金融物管、通讯服务、科学仪器3类的“老铁支付”商标状态则为“驳回复审中”。

在没有自己的支付渠道前,快手电商业务最终的支付是要么在其他平台完成、要么就需要依赖第三方支付,对其电商业务更大规模的发展有着不小的阻碍。
可是快手在有了自己的“老铁支付”后,就可以搭建自有支付平台,拥有自己的支付通道,之前付给支付渠道的手续费在未来会更多的留在自己的口袋中。因此快手做支付最为核心的一点,是要补全业务闭环中的最后一块拼图。

近年来,抖音、拼多多、美团等互联网平台布局支付领域,主要是为自己的平台提供支付服务。如果“老铁支付”正式上线,或将成为快手电商业务最大的助力。
在支付领域的商标布局中我们不难看出,相比于快手,字节跳动商标注册的各个环节要提前很多,从而更好地维护自己的知识产权不受他人侵害。因为在商标注册后,商标注册人拥有商标专用权,在全国范围内受法律保护,其他任何人均不能使用,可以有效打击竞争对手,更好地维护自己的品牌。





