价值2000元的冬奥国旗款羽绒服,网店山寨款只卖188元;吉祥物冰墩墩、雪容融毛绒公仔官方售价75-328元,仿冒版最低只要39.9元...北京冬奥会前最后一个“双十一”,一些人动起了特许商品的“歪心思”,此类行为严重侵犯了体育行业的正当权益,监管部门表示将重拳出击打击侵犯奥林匹克知识产权行为,对违法违规“零容忍”。
10月20日,北京冬奥会火种由希腊运抵北京,冬奥会正式进入北京时间。当天,“双十一”购物狂欢节预售也拉开帷幕,李佳琦、薇娅直播分别拿下106.53亿、82.52亿人民币销售战绩,同时带动冬奥特许商品关注度大涨,#北京2022冬奥会纪念品审美#等相关话题冲上微博热搜。
据了解,北京冬奥组委已先后开发了16个品类4500余款特许商品,包括贵金属制品、徽章、毛绒及其他材质玩具、服装服饰及配饰、陶瓷、文具、工艺品、首饰、箱包、家纺、丝绸制品、邮品、伞具、户外用品、紫砂壶等。
不过随着冬奥进入百天倒计时,有不法商家也开始借机制假售假牟取非法利益。
搜索电商平台发现,有商家销售“2022冬奥会”“国家队同款”高仿羽绒服,与此同时,不少商家在吸引流量上做文章,以“冬奥莱”作为关键词为商品引流,借此进行夸大宣传,误导消费者。

北京冬奥会吉祥物玩具也不幸“中招”。在电商平台,不少网点以低价兜售盗版的冰墩墩、雪容融毛绒公仔,将制假售假的侵害对象扩展到少年儿童。总体来看,这些吉祥物玩具外形与正版相似,并多以远低于官方售价吸引消费者,商品未经过质量检验,或带有卫生及安全隐患。

由于互联网的便捷性,不少商贩存在多次转手倒卖现象,侵权范围从电商、二手平台向实体店、社交平台、“直播带货”等方式拓展。这也导致追查难度大,助长了侵权之风。
针对这种现象,国家知识产权局、国家市场监管总局近日印发《北京2022年冬奥会和冬残奥会奥林匹克标志知识产权保护专项行动方案》,提出未经北京2022年冬奥会和冬残奥会组委会、国际奥林匹克委员会或国际残奥委会许可,任何单位或者个人不得为商业目的使用奥林匹克标志。经许可的合法使用人,应当严格按照许可范围规范使用奥林匹克标志。

《专项行动方案》共包含五个方面的重点任务,将保护整治五大类奥林匹克相关标志,北京冬奥会主题口号、火炬传递、奖牌等标志也隶属保护范围。
根据2021年4月北京市场监管局发布的2020年度知识产权领域执法十大典型案例,双奥冰雪(北京)科技有限公司未经许可在其网站上发布含有北京2022年冬奥会会徽图形标识的商业宣传视频等内容被罚款30万元;另近日,北京市场监管局公开了一份处罚文书,内容显示:北京卡路里体育有限公司因违反《奥林匹克标志保护条例》相关规定,被罚五万元。可见,此类的“蹭冬奥热点”行为将被重罚。

《专项行动方案》提出,国家知识产权局、国家市场监管总局将严厉打击未经权利人许可,利用冬奥会和冬残奥会有关元素发布广告,足以引人误认为与权利人之间有赞助或其他支持关系的、误导消费者的违法广告。
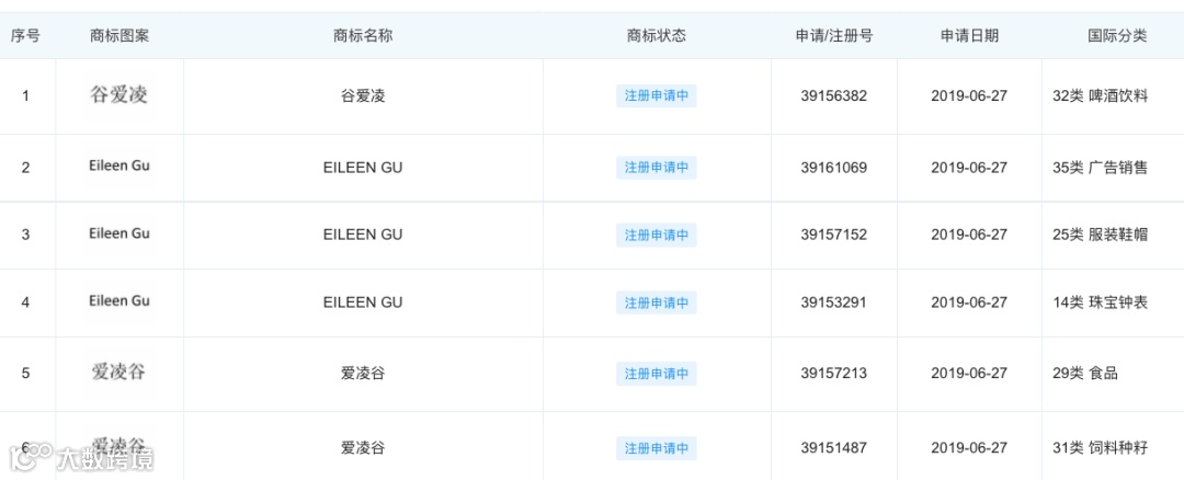
抢注冬奥运动员商标也将受到查处。例如自由式滑雪运动员谷爱凌商标就遭到了恶意抢注,国际分类涉及珠宝钟表、日化用品、健身器材等,申请方为承德市伯乐投资有限公司、天津芳芳和多多科技有限公司等,目前商标状态均为申请中。商标最早在2019年就已经提交申请。类似被抢注商标的事,在不少全红婵等夏奥选手身上也发生过。

《专项行动方案》提出依法严厉打击未经授权将奥运冠军等较高知名度奥运健儿姓名作为商标进行恶意抢注进而损害其姓名权及合法权益的行为以及利用与奥林匹克运动或者残奥会运动有关的元素开展商业活动引人误认的不正当竞争行为。对涉嫌构成犯罪的行为,及时移交公安机关。
针对市场上现存的山寨冬奥特许商品、“蹭冬奥热点”营销等侵权行为,国家知识产权局、国家市场监管总局计划在2021年12月底前根据排查掌握情况,重拳出击,开展专项整治。2022年1月至3月加强督导检查,对侵犯奥林匹克标志知识产权“零容忍”,发现一起查处一起,形成持续震慑的高压态势。赛后推动建立奥林匹克标志知识产权保护长效机制。
由此可见,山寨、抢注、蹭名冬奥会等涉嫌侵权行为,除了面临诉讼风险,还会受到工商机关查处(比如行政处罚、被要求停止侵权行为、没收违法所得、销毁侵权商品以及缴纳高额罚款等),甚至涉嫌构成犯罪的,会移交公安机关审查处理。
因此,建议企业或个体户在做商业宣传前,对相关内容进行审核,可别以为只是用几个字是小问题,要知道非许可商是无权为奥运“加油”的!

苹果碰瓷华为抄袭AIRPODS,国知局以未构成近似商标驳回!




