
今年谁又交出了高分答卷?从目前的反响来看,王老吉必榜上有名。
王老吉多年以来在营销策略上侧重“吉文化”的打造,在不同的时间段推出更合时宜的新产品。
如今,高考降至,在全民高度关注下,王老吉在天猫推出高考定制罐,绑定应援高考、为学子加油的场景,无疑是抓住大众注意力的一个绝佳的切口。而更重要的是,不同于大多品牌追热点的营销,王老吉高考定制罐不仅拥有品牌独有寓意红红火火好运不断的“吉文化”加持,在情感上满足了目标人群在高考前夕传递祝福,祈求好运的精神需求,它更迎合了年轻消费者个性化、定制化的消费诉求,从而更能一举击中用户的内心。

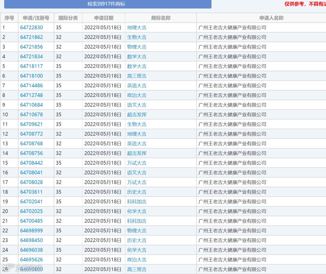
近日,广州王老吉大健康产业有限公司申请注册多个高考相关商标,包括“高三班吉”、“万试大吉”、“超吉发挥”、“科科加吉”、“语文大吉”、“数学大吉”、“英语大吉”等,国际分类为广告销售、啤酒饮料等,目前商标状态多为等待实质审查。
高考月又双叒叕到了,王老吉申请注册多个“万试大吉”等与高考相关的商标,并上线高考定制罐,引发了网友讨论。
啥样的?
每年高考前后,都是品牌借势营销的一个重要节点,对于品牌来说,这也是一次过五关斩六将的“营销大考”。
去年高考季,王老吉推出「高考大吉罐」和「谢师罐」为考生打CALL,引发圈层讨论。今年,王老吉又为2022高考生特别推出了高考定制罐,还上线了一支高考祝福TVC,为高考生加油打气。

据报道称,相比去年将祝福语印在瓶身上,今年王老吉更是细分了场景,特别上线了高三班吉罐、「考学科罐和万试大吉罐这三款特殊定制罐。
高三班吉罐在每个瓶身上印有班级号,加强对应班级的群体归属感,印着不同班级的高三班吉罐见证着同学们高中奋斗的回忆。
高考学科罐有语数外、政史地、理化生学科罐。无论文科还是理科生,都能借助高考学科罐给自己加油打气。这样带有吉祥字眼的学科罐,赋予了产品“好运”属性。

万试大吉罐更是巧用谐音梗,祝福考试旗开得胜,考试开挂。
王老吉这波“整活”,想必也少不了在商标申请上的用心。
在中国商标网查询“广州王老吉大健康产业有限公司”的申请注册情况,截至目前的信息显示,2022年5月28日,王老吉申请注册了26件高考罐相关商标。
主要包括“高三班吉”、“万试大吉”、“超吉发挥”、“科科加吉”、“语文大吉”、“数学大吉”、“英语大吉”等,国际分类为广告销售、啤酒饮料等,目前商标状态多为等待实质审查。

其实,在今年年初,王老吉也曾推出过“百家姓版本”。除原本的“王老吉”外,网友还可以选择其他姓氏的“老吉”罐子,包括“陈老吉”、“李老吉”、“史老吉”、“欧阳老吉”等。
该系列凉茶除了给大众带来了新的购物体验外,其在自身的知识产权方面也是下足了功夫。通过在国家知识产权局官网上的查询显示,王老吉的关联公司广州白云山医药集团股份有限公司从2021年2月份就开始申请了百家姓老吉商标,为产品做好了商标布局。

当时统计信息显示,王老吉关联公司共申请了100个百家姓系列商标,其中有90个商标已经申请注册成功;“黄老吉”、“邵老吉”商标申请被驳回,已显示为无效商标;而“陈老吉”、“梁老吉”、“方老吉”等8个商标显示为“驳回复审中”。
不过据了解,之前的图腾罐在售价上可是非常高,平均价格为8.25元/瓶,希望这次高考版本的能“良心”一些。
据专业人士分析道,王老吉的瓶身营销,成功将品牌的吉文化巧妙地植入到用户心中,将红罐凉茶沉淀为品牌极具辨识度的视觉符号。对于品牌来说,当产品功能卖点很难带给消费者新意时,塑造品牌文化符号,建立起品牌价值的最佳护城河成为品牌新的突破点。
对于用户而言,王老吉已经不单单是一款去火凉茶,更是满足社交需求的产品,王老吉将罐身从单纯的产品变成了一种情感为内核的交流媒介,强化与用户间的情感联结,形成品牌粘性。
不过,尽管商标的申请注册能为品牌筑起了知识产权保护的护城河,但王老吉系列罐的商标保护也面临着一些现实层面的问题。
专业人士表示:“王老吉此举,从商标角度,建立自己的防御商标护城河。但是,根据我国商标法,如果申请的防御性商标未实际使用,是会面临商标连续三年未使用而被撤销的法律风险。此外,商标期满后又会面临续展的问题,这也是需要投入相关费用的。”
此次高考罐商标的申请注册情况还未有更详细的信息,不知日后王老吉会有何新动作?

对此,也不少网友都纷纷点赞了王老吉的知识产权意识,称其十分“会玩”。据王老吉内部人员吐露,此前做高考大吉定制罐的时候,需要在罐身印上金榜题名等字样,但随后了解到金榜题名已经被人注册了商标,所以才有了品牌后面注册xx大吉的一些列动作,可见知识产权意识是一个商业化品牌的根本,也是品牌重视知识产权的重要体现。





