
大家都知道去年特别火的“潘嘎之交”,被很多人当作是茶余饭后的谈资,而这些谈资的背后却也是娱乐圈里显现出的人性复杂的一面。
很多人都想不通,潘长江作为表演艺术家,又连续几年上春晚,本应该是为年轻人做表率,积极投入艺术创作。为什么会走向直播这条路呢?而且还和其他网红一样开始带货。
其实答案只有一个,那就是要挣W,从“潘嘎之交”中我们就可以看得出来,在嘎子迷茫的时候,潘子是予以开导教诲的,并且劝导嘎子有可能把握不住,但是令人想不到的是,随即之后的潘子便开始了直播带货之路,并且一发不可收拾。

近日,媒体曝光了潘长江带货卖茅台酒涉嫌虚假宣传。据媒体报道,在3月初的一场酒水专场直播中,潘长江称:“我和茅台公司董事长认识十几年了,昨晚我把他灌醉了,让他签合同给我定价权”。
随即,潘长江在带货直播中称灌醉酒业董事长拿到定价权的事引发热议,有网友指出,潘长江以每瓶4799元出售的品牌酒,市场价只需每瓶4500元。
随后,潘长江对此事进行回应,表示自己从未在直播间说过认识茅台董事长及获得茅台定价权的话语。

所以此次事件也让网友再次将其与《小兵张嘎》的饰演者谢孟伟之间的渊源——“潘嘎之交”翻出来调侃。该网络词语一语双关地对当今的一些现象进行了讽刺,一是潘长江、嘎子哥两人的友情“淡如水”,被网友代指为一种转身就变脸的塑料情谊;二是说贴牌酒“淡如水”。

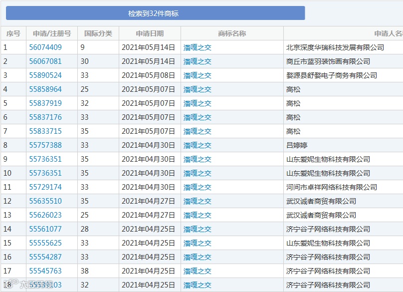
在网友调侃“潘嘎之交”的同时,不少商家也争着“赶潮流”将“潘嘎之交”注册成公司和商标。
企查查App显示,网络热词潘嘎之交已被注册公司,公司全称为潘嘎之交文化传媒(菏泽)有限公司,成立于2021年5月11日,注册资本为10万元人民币,所属行业为娱乐业。

另据商标局官网显示,以“潘嘎之交”作为商标提交的申请共32条,申请时间分别是2021年4月和5月,目前大都处于“等待实质审查”状态,部分“潘嘎之交”显示申请已经被驳回或驳回复审,其余商标申请最终结果如何还不得而知。

今天,以网络流行语等各种热词作为商标申请的新闻时常出现在我们的视野。虽然这种做法可能会给申请人带来一定的利益回报,但是在流行词汇层出不穷的今天,它们也面临着“过气”的风险。因此在他人追热度、赶潮流时,不妨保持理智思考一下,流行语是否要出一个抢注一个,下一个潮流来临之时上一个词汇是否还时尚和受欢迎,这样的商标又是否能落到实处,发挥它的作用?


获1万项LED专利!苏州乐琻完成收购LG Innotek光电化合物半导体业务



