
据媒体报道,9月8日凌晨,苹果召开秋季新品发布会,发布了iPhone14系列配色及售价。据了解,iPhone 14、iPhone 14 Pro及14 Pro Max三款机型起售价与前一代相同。
去年iPhone13发布后,王守义十三香也跟着火了。在王守义专卖店铺里,很多网友问,十三到底香不香。现在iPhone 14出来了,又有网友问“十四香不香?”“十四香还是十三香?”

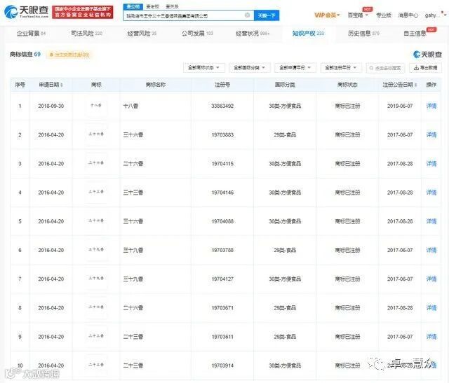
天眼查App显示,“十四香”商标已被驻马店市王守义十三香调味品集团有限公司成功注册,其申请时间为2002年,国际分类为方便食品。截至目前,王守义公司已成功注册“十二香”至“十八香”商标,以及“二十三香”“二十六香”“三十六香”“三十九香”商标,国际分类多为方便食品、食品。


也许很多人会问,一个“十三香”调味品,为什么要注册那么多商标呢?
据悉,王守义十三香集团凭借“十三香”、“十六香”商标,成功赢得商标诉讼案,证明山东乐畅调味品公司注册的“乐畅二十六香”商标与其构成近似,不予注册,守护了自身品牌。
商评委审理认为诉争商标与三引证商标的文字构成、呼叫及整体外观存在较大差异,未构成近似标志,裁定诉争商标予以维持。
王守义十三香集团提起上诉。

一审法院认为,诉争商标中“乐畅”为乐畅公司的字号且本身并无固定含义,诉争商标完整包含了引证商标一,且“二十六香”与“十六香”“十三香”在构成要素上均由中文数字加“香”字构成,具有相似性,在整体含义上诉争商标与引证商标一至三未形成明显区别,尚不能排除相关公众在隔离状态下将上述标志混淆、误认的可能性。
同时,鉴于引证商标三具有较强的显著性和较高的知名度,若共同使用在同一种或类似商品,尤其是曾被认定为驰名的调味品商品上,易导致相关公众对商品来源产生混淆、误认,亦不能排除存在减弱驰名商标显著性的可能性,故诉争商标与引证商标一至三构成使用在同一种或类似商品上的近似商标,诉争商标的注册违反了2013年商标法第三十条的规定,“申请注册的商标同他人在同一种商品或者类似商品上已经注册的或者初步审定的商标相同或者近似的,由商标局驳回申请,不予公告。”
一审法院判决撤销被诉裁定,0并要求国家知识产权局重新作出裁定。
但,国家知识产权局及乐畅公司不服,继续上诉。
二审中,王守义十三香公司提交了行政处罚决定书等证据,用以证明乐畅公司曾因复制、摹仿十三香公司的商标被行政处罚等情况。
二审法院认为一审判决结果并无不当,驳回上诉,维持原判。
王守义十三香再胜一局,商标防御性布局作用凸显。对于很多企业而言,商标防御性布局是企业发展战略之一,为品牌保驾护航。
企业在创立之初及发展进程中,不能忽略商标等知识产权,提早注册商标,及时进行扩类别补充注册,助力品牌长远发展。





