近日,IPRdaily与国方商标软件联合发布了“2021年第一季度「全国申请人」商标申请量排行榜(TOP100)”,该数据提取时间范围:2021年1月1日至2021年3月31日。
根据2021年第一季度商标申请量的前三位全国申请人,分别是:王书艳(8800件)、雷州市潭农种养农民专业合作社(3025件)、广东潭泓渔业科技有限公司(1690件),该统计数据不包含已提交申请但未在商标局官网公布的商标数据。

当卓不凡看到第一名的商标申请人王书艳在今年第一季度就已经申请了8800件商标时,真是被震惊到了。
再通过企查查搜索这位申请人的商标申请情况,再一次被震惊到了!
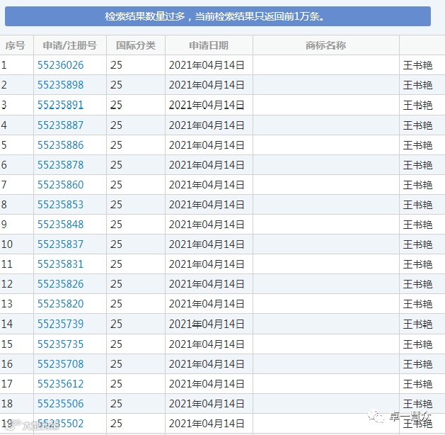
由于检索结果数量过多,当前检索结果只返回前一万条。

目前我们无法看到刚申请的商标是什么,这是因为最近申请时间为4月,是刚注册的商标,所以现在还没有在商标网显示,等过段时间才会更新。
不管怎样,很显然是该申请人又大幅度增多了申请量……
好家伙,真特么好家伙,这是超出商标局官网的显示能力了呀!
所以这位到底总共申请了多少件商标?
既然商标局官网无法显示,那么我们就换个平台看看。
于是卓不凡通过企查查平台检索,发现截至目前王姓申请人竟然已经申请了23334件商标!

仔细看了下,怎么全都是“SKREAM”商标?
即便是按申请日期从早到晚的方式看,除了最早的“JEVOCCI”商标之外,其余也都是“SKREAM”商标,并且还全是注册在第25类上。

翻了好多页全是“SKREAM”商标,看得卓不凡都快不认识这英文了。
等一下,最早的“SKREAM”商标是在今年3月22日注册的,合着这个月她总共申请了两万多件“SKREAM”商标???
服了服了服了,一个非国企亦非上市公司的申请人,这个月在商标注册上得投多少钱呀?
看到这样的申请数,卓不凡情不自禁算了一下账,现在商标注册需要交纳给商标局一笔300元的费用,我们按照官费来算这位一个月在注册商标上花费的钱,两万多件的商标得有七百多万的成本了!
心里打了个突,七百多万啊,都能在北京买套房了……

卓不凡真是搞不明白,SKREAM到底是什么,竟让这位王姓申请人重复注册,且还都在第25类上?
自己不明白没关系,百度一下全都懂。

啊这……貌似是一位英国歌手的名字,所以人家是在用商标表达对偶像的喜爱之情么?
确定过眼神,是家里有矿的人!
坦白讲,追星追成这样真的很少见,毕竟有钱的粉丝都会买广告位给自家爱豆打CALL,甚少会申请大量名一件商标“示爱”。
不过如此反复申请大量商标的行为,势必会引起商标局的注意。
如果认为该申请人涉嫌恶意申请商标注册,那么依据我国《商标法》第六十八条第四款以及《规范商标申请注册行为若干规定》(市场监管总局17号令)的规定,由申请人所在地或者违法行为发生地县级以上市场监督管理部门根据情节给予警告、罚款等行政处罚。有违法所得的,可以处违法所得三倍最高不超过三万元的罚款;没有违法所得的,可以处一万元以下的罚款。
另外,根据国知局印发的《2021年全国知识产权行政保护工作方案》(以下简称《工作方案》),将综合施策,强化商标保护管理。其中特别提出,要加大整治恶意商标注册申请、违反禁止性规定使用商标、冒充注册商标等违法行为。
就算不是恶意抢注,也有非正常商标申请的嫌疑,即申请人利用我国通过注册取得商标权的商标制度,将商标作为牟利手段,大量申请注册商标。
毕竟随着商标注册程序优化、注册周期缩短、注册成本降低、注册资源减少,以傍名牌为目的的商标恶意申请行为时有发生,以转让注册商标牟利而非实际使用为目的的商标囤积注册行为大量出现。
因此该行为对我国商标制度的健康运行造成极大破坏,有悖《商标法》“保障消费者和生产、经营者的利益,促进社会主义市场经济的发展”的立法宗旨,严重妨碍了市场主体的正常经营活动,损害了公平竞争的市场秩序,不利于经济健康发展。因此,非正常商标申请的行为是被明令禁止的。
对于这种非正常申请行为,根据国家知识产权局公布《关于规范商标申请注册行为的若干规定(征求意见稿)》(下称征求意见稿),希望形成严厉打击商标囤积注册、恶意申请的长效机制。征求意见稿创造性地提出了惩戒措施,比如纳入全国信用信息共享平台予以公布;在国家知识产权局的商标申请数量统计中,扣除非正常申请取得的注册商标数量并予以标记等。
现在,商标局正对商标注册各环节进行严密监测,在审查、异议、撤销等各环节从严审查,坚决遏制和打击恶意注册、囤积商标等非正常申请行为。
最后,卓不凡想说一口气在同类别上注册大量同名商标的行为,真是太让人看不懂了。
不过,土豪的世界本来就很“玄学”,你说呢?






