Hedge trimmer
既能平剪又能圆剪,电动绿篱机专利藏巧思
Patent case analysis
专利案例分析——
凭实力出圈
// Gain popularity through strength
在城市绿化精细化养护需求日益提升的当下,一款能兼顾平剪与圆剪的绿篱机,无疑是园林从业者的“得力帮手”。
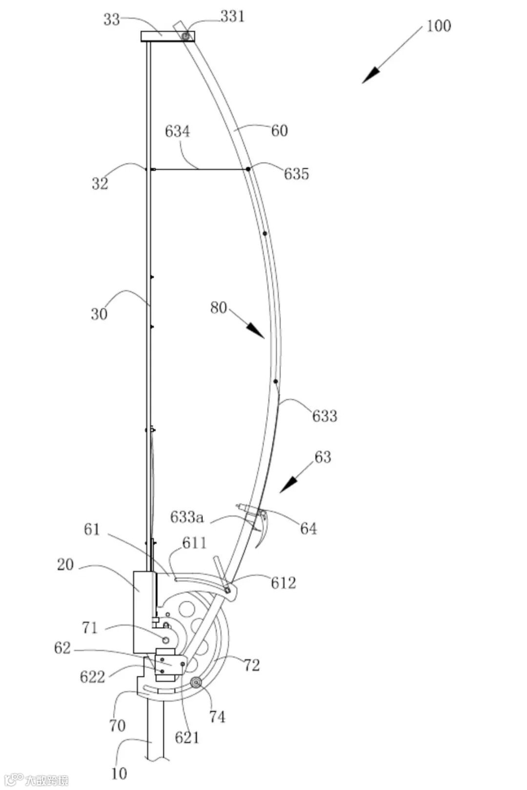
徐州XXXX有限公司的发明专利:电动绿篱机ZL20161020XXXX.0,就凭借独特的结构设计解决了传统绿篱机的作业痛点,而这一专利的诞生与保护过程,也让专利代理师在检索和撰写环节的重要性展露无遗。
01
一机两用
传统绿篱修剪工具的痛点:普通剪刀修剪强度高、效率低;
而这款电动绿篱机专利,凭借一个精巧设计就打破了行业局限。
其核心创新在于增设了弧形支架与第一连接件:弧形支架一端连接刀片末端,另一端通过第一连接件固定在工作舱上,且支架弯曲方向朝向刀片。
当弧形支架绕第一连接件转动时,会带动刀片同步发生曲变形,再通过锁紧件固定支架位置,就能让刀片稳定保持平直或弧形状态。
这一设计直接实现了平剪与圆剪模式的无缝切换,既保留了电动驱动环保无污染的优势,又具备结构简单、操作便捷的特点,大幅降低了绿篱修剪的工作强度与难度,真正做到了“一机适配多种场景”。
02
专业加持
这款专利能精准切中行业痛点、形成稳定的技术保护,背后离不开专利代理师在检索与撰写环节的专业把控,其重要性主要体现在两大方面:
1. 专利检索:
首先,代理师需全面检索现有技术,若检索到相似技术,可及时调整方案,避免专利因缺乏新颖性和创造性被驳回;
其次,通过检索还能明确现有绿篱机专利的保护范围,找准本专利的核心创新差异点——比如传统绿篱机未将“弧形支架”与“双剪切模式”结合,代理师可据此强化这一独特设计的保护主张,让专利的创新价值不被埋没。
2. 专利撰写:
从权利要求书来看,本专利需精准界定保护范围:
既明确“电动驱动”的动力特征、“弧形支架+第一连接件”的核心结构,又未过度限定第一连接件的具体形态(如螺钉、卡扣等),既保证了保护范围的明确性,又为技术落地预留了合理空间。
同时,说明书需清晰阐述专利的技术背景、发明目的、技术方案和有益效果,比如详细说明“环保无污染”的技术优势与电动驱动的关联,为专利的稳定性提供支撑。
但本案的专利保护也暴露了撰写环节的关键注意点:涉案专利在权利要求中明确限定“电动驱动”,虽契合环保设计目的,却也因未将燃油驱动纳入保护(且说明书明确区分了两种驱动方式),导致后续无法通过等同原则将燃油驱动的同类产品纳入保护范围。
最终二审法院认定被诉侵权产品未落入保护范围。
所以,代理师在撰写时需精准平衡保护范围与技术限定:既要基于现有技术明确专利的核心特征,也要预判技术应用的潜在场景,为专利权人争取更合理的保护边界,避免因限定过窄导致专利维权失利。
03
结语
一款优质的专利,既是技术创新的结晶,也是专利代理专业服务的成果。
专利代理师的检索能力决定了专利的“诞生根基”,撰写水平则决定了专利的“保护高度”,二者缺一不可,是企业技术成果转化为核心竞争力的关键桥梁。
——THE END ——

