搜索
首页
大数快讯
大数活动
服务超市
文章专题
出海平台
流量密码
出海蓝图
产业赛道
物流仓储
跨境支付
选品策略
实操手册
报告
跨企查
百科
导航
知识体系
工具箱
更多
找货源
跨境招聘
DeepSeek
首页
>
应该了解的“硬通货”口罩了
>
应该了解的“硬通货”口罩了
卓一慧众
2020-03-04
3
点击上方
卓一慧众
可以订阅哦
疫情以来,口罩成了硬通货,全世界的口罩货架都被瞬间售空。
为解决一罩难求的局面,国内很多企业都跨界生产口罩和防护设备,全国口罩每日产量达到1.16亿只,但即便如此,消费者还是很难买到口罩。
病毒已经在全球扩散,每日1亿的产量对全球市场来说也是杯水车薪。
外科口罩的结构不复杂,企业几天就能安装好生产线。
口罩主要有三层结构,包括外部防水无纺布、中间过滤层、以及内层纱布或无纺布,其中外层和内层的生产相对简单,最重要的是中间过滤层,是一种特殊的熔喷布,由聚丙烯材料制成,是具有独特毛细结构的超细纤维,有很好的过滤和屏蔽功能。
(口罩结构 图片来源网络)
聚丙烯材料从石油中提炼,目前中石化等企业可以大量生产,但是将聚丙烯生产为熔喷布的设备,特别是核心的零部件喷丝板主要依赖进口。这些供应商主要有日本的卡森喷丝板、
德国
恩卡等企业。日本的供应商占有最重要的地位。
(熔喷布加工设备 图片来源网络)
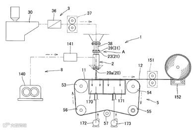
从
专利
文献中可以看到熔喷布的生产原理,利用热风喷射,从喷丝板的喷头的细孔中挤出热聚丙烯,使其呈纤维状延伸,然后集聚在传送带上,根据其自熔接性形成纤维网。喷丝板上排列很多细小的喷嘴,直径只有0 .15mm,喷嘴喷出的熔融聚丙烯流通过高速空气流延伸并集中在移动的传送带上,获得熔喷布。
熔喷布设备
其中最为核心的技术就是喷丝板上的细小喷嘴,这种喷嘴不但尺寸细微,只有0.15mm,还要在如此细小的喷嘴上加工出复杂的孔型,加工难度极大,喷嘴加工的过程需要几个月
时间
。。如果加工精度不高,最后生产出的熔喷布就达不到相应的技术要求。以几家企业的产量,远远不能满足市场的需求。
(喷丝板喷嘴 图片来源网络)
目前这种高精尖的技术主要掌握在几家跨国企业手中,在中国也布局相关的专利。不过基础专利基本过期了。不过对于这种高精密的设备,主要难点在于加工工艺,设备的结构并不复杂。
喷丝板喷嘴专利
所以口罩的产能最终取决于熔喷布生产设备的产量,而熔喷布生产设备最核心的喷丝板喷嘴的生产难度非常大,加工时间需要几个月,短时间内产量无法大幅度提高,而且主要供应商都在日本、德国,产能非常有限。这也使得口罩生产只能最大限度利用当前的设备,通过延长生产线的工作时间增产。
这种细微的喷嘴加工技术直接决定着全球口罩的产量,日本和德国的几家喷丝板企业的产能影响着全球的防疫形势。
【声明】内容源于网络
0
0
卓一慧众
卓一慧众知识产权代理有限公司是一家大型综合性知识产权服务机构, 拥有专业强大的知识产权服务团队,致力于解决客户知识产权问题。 业务咨询:400-9932-799
内容
2009
粉丝
0
关注
在线咨询
卓一慧众
卓一慧众知识产权代理有限公司是一家大型综合性知识产权服务机构, 拥有专业强大的知识产权服务团队,致力于解决客户知识产权问题。 业务咨询:400-9932-799
总阅读
920
粉丝
0
内容
2.0k