
国产电视剧市场似乎从来不缺爆款
前有《陈情令》,后有《庆余年》

这几天,《庆余年》频繁登上热搜
我们从百度指数可以看到
《庆余年》播出后,热度一路走高

近期因为“超前点播”事件又火了一把

随着《庆余年》的热播
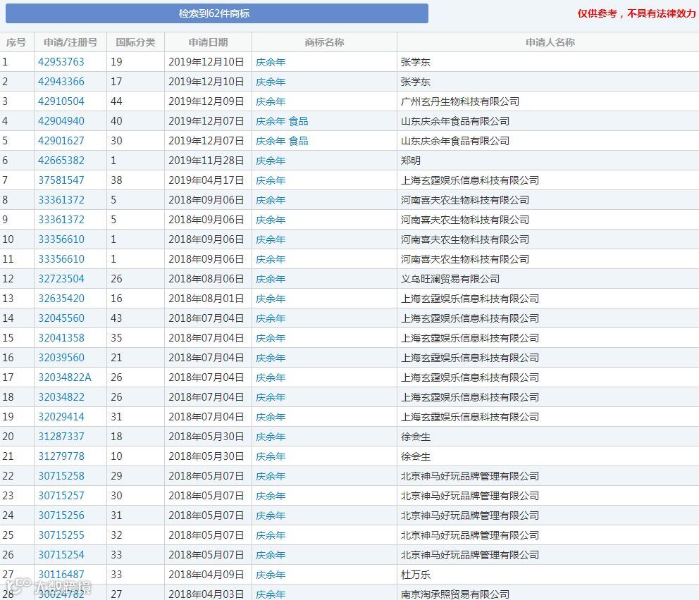
出于好奇,一品君查询了相关商标
原来已经有62件“庆余年”商标被申请注册

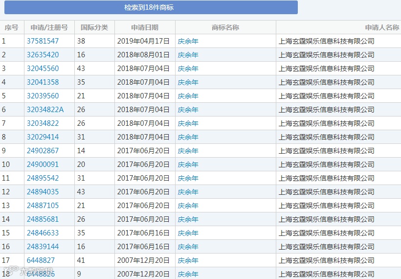
其中《庆余年》小说的版权方——玄霆娱乐,申请了18件

玄霆娱乐就是我们非常熟悉的起点中文网的主体公司,早在《庆余年》小说开始连载的时候,就开始提交商标申请

与小说相关的三个核心类别:9类、41类、42类均已注册成功。
除此之外,还有其他企业和个人申请了“庆余年”商标
再查询一下主角“范闲”的商标

已经被申请11件

其中有5件还是这两个月刚申请的
有关“庆帝”的商标也被申请了不少


一部剧的火爆,很容易导致相关商标被抢注
此前《陈情令》、《亲爱的,热爱的》热播,也是如此
面对这种商标抢注现象,版权方不仅要尽可能全面地做好商标布局,还要做好商标市场监测,一遇到商标被抢注,及时提出异议,进行合理维权。


