8月5日,东京奥运会跳水女子单人10米跳台决赛落下帷幕,年仅14岁的中国小将全红婵夺得冠军,一战封神,为中国再添一金!
在跳水“梦之队”里,每一位队员都是享誉世界的名将。但唯独全红婵,用名不见经传来形容并不为过。此前,她从未参加过任何国际大赛。甚至在国内,全红婵参加的正式比赛也不超过10场。
作为本次东京奥运会中国代表团最小的奥运冠军,若不是奥运延期一年举办,2007年出生的全红婵还达不到奥运跳水的最低年龄要求。

而在跳水女子10米跳台半决赛上,全红婵第二跳32的难度系数,拿到了4个10分,总分高达94.4分。总决赛拿下3轮满分成绩,傲视全场。
这一跳,让全国人民,乃至全世界都记住了“全红婵”这三个字。
“下饺子都比她的水花大!”“天才少女!”“水花消灭术!”一大波赞美,向捧得女子10米跳台冠军的小将全红婵袭来。“恭喜杏哥”“祝贺杏哥”的弹幕瞬间刷屏。为什么叫她“杏哥”呢?

曾经有记者赛后采访时问她觉得自己性格如何,全红婵没听清楚,于是就出现了以下名场面:
“你觉得你性格怎么样?”——“杏哥,杏哥是谁?”
“平时喜欢玩吃鸡还有王者荣耀,可是它限时间啊,没到年龄啊,只能玩两盘,不够啊,哎!”因此得名“杏哥”,也是网友对她的爱称。这么呆萌又可爱的奥运冠军,很难让人不喜欢~

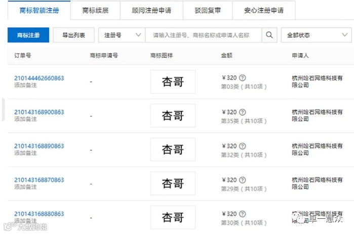
果不其然,2021年8月5日,便有公司申请注册“杏哥”商标,不仅如此,该公司在申请后还发布了一个声明,唯恐大家不知道,这家公司自己承认:申请杏哥商标属于抢注行为,并承诺若抢注成功,会将该商标相关的所有知识产权权益转让给全红婵,表示:抢注是为了保护,无偿转让是该有的觉悟。

我们见过很多迅速低调而迅速抢注商标的。而这家单位却高调的发布声明,怕全网不知道,他们已经抢注了商标,也或许是处于帮助有意抢注商标的申请人节省费用,这些类别我已经提交申请了,你们就不要再提交相同类别了,无论我申请核准公告是否,你们在同类或近似类提交,都在我后面,都会驳回。这家单位在声明中,“高调”使用进行抢注操作字眼。
奥运健儿名字、绰号被抢注商标已经不是什么新鲜事,比如“飞人刘翔”、“刘翔跨越”、林书豪的绰号“林疯狂”、“林旋风”“叶诗文”牌泳衣、“陈一冰”牌冰淇淋等都曾被抢注为商标。

这些名字被抢注成为商标后一旦发生恶意使用或不正当出售事件,就会给运动员带来巨大的负面影响。那么,运动员该如何维护自己在商标法上的权益呢?
根据《民法通则》第九十九条的规定,公民享有姓名权,有权禁止他人未经许可盗用、假冒其姓名。
《商标法》第三十二条规定,商标注册申请人不得损害他人现有的在先权利。可依据第三十三条要求驳回商标注册申请。可依据第四十五条提起宣告该注册无效的形成程序(以“损害他人现有的在先权利”为由请求宣告注册无效要受五年期的限制)。
同时,《侵权责任法》规定,如果商标注册人在商业活动中使用了该商标,运动员可以根据第二条和第三条的规定,起诉请求判令商标注册人承担侵权责任。





