
蓝月亮品牌诞生于1992年,时至今日,蓝月亮已是中国本土市场份额第一的洗衣液品牌。

今年4月10日,著名的品牌评级权威机构发布了2018年中国品牌力指数(简称:C-BPI)品牌排名和分析报告。报告显示,蓝月亮洗衣液、洗手液已经连续八年蝉联行业品牌力指数榜首之位,并摘得C-BPI“黄金品牌”的殊荣。
作为中国日化行业的佼佼者,广州蓝月亮实业有限公司(后简称蓝月亮公司)在商标保护上有着极强的敏锐度。早在蓝月亮品牌创立之初,蓝月亮便向商标局申请注册了相关商标。

根据中国商标网数据,截止目前,蓝月亮公司共申请注册了664件商标,包含“蓝月”、“蓝月亮”、“蓝色月光”、“卫诺”、“BLUE MOON”、“健康小天使”、“消毒真功夫”、“BLUNA”、“洗乐汇”、“蓝月亮机洗神器”、“机洗神器”等商标,涵括多个类别。
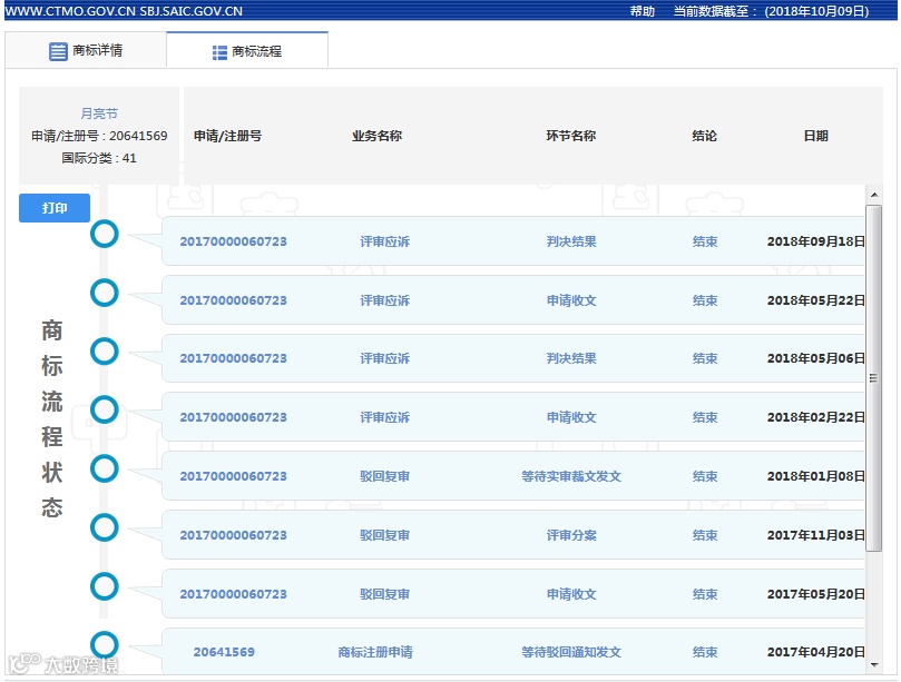
然而,商标并不是想注册就能注册成功的,比如说第20641569号41类“月亮节”商标,蓝月亮公司为此操碎了心,可仍旧没有注册成功。

据了解,自2013年8月启动首届“蓝月亮节”以来,蓝月亮公司已将其作为一年一度的大型盛会,那么,为什么这枚“月亮节”商标却注册不下来呢?
“月亮节”商标屡被驳回
根据中国商标网数据,蓝月亮公司于2016年7月14日申请注册第20641569号“月亮节”商标(诉争商标),指定使用在教育、安排和组织会议、组织表演(演出)、娱乐服务等第41类服务上。
随后,该商标被商标局驳回,蓝月亮公司不服商标局的决定,继而向商评委提出复审申请。同年12月21日,商评委作出复审决定,对诉争商标的注册申请予以驳回。蓝月亮公司不服,继续向北京知识产权法院提起行政诉讼。

2018年4月25日,北京知识产权作出一审判决,驳回蓝月亮公司的诉讼请求。蓝月亮公司不服一审判决,随后向北京市高级人民法院提起上诉。
近日,北京市高级人民法院作出终审判决,驳回了蓝月亮公司的诉讼请求。
北京市高级人民法院在判决书中指出,我国商标法规定的“带有欺骗性”是指商标所使用的文字、图形等掩盖了该商标所使用的商品或服务在质量、主要原料、功能、用途或产地等方面的真实情况,使得公众对商品或服务的真实情况产生错误的认识。

而该枚诉争商标由汉字“月亮节”构成,包含“节”字,容易使人联想到与月亮有关的传统节日,如中秋节、元宵节等。
另外,经过检索,蓝月亮公司共申请了8枚“月亮节”商标,除了第41类,还有第3类、第5类、第9类、第35类、第37类、第38类、第42类“蓝月亮”商标。
与第41类“蓝月亮”商标的结果相同,其余7枚也均未注册成功,目前均处于“申请被驳回、不予受理等,该商标已失效”状态。

商标注册,的确没有百分之百成功,造成商标注册不成功的原因有很多。
我国《商标法》第十条、第十一条等条款规定了不得作为商标使用或注册的标志,企业若是使用了国家名称、国徽、红十字等不得作为商标使用的标志,或是将商品的通用名称、缺乏显著性的名称作为商标注册,那么将无法通过商标局审查,最终导致企业商标注册失败。
因此,企业在选择商标名称的时候,除了考虑到名字好听、好记、便于宣传等影响传播力的因素之外,更要考虑商标是否具有显著性、独创性、近似性、欺骗性等专业问题,这样才能顺利通过商标局审查,提高商标注册成功率。

李佳琦声音商标“OH MY GOD,买它买它!”申请再次被驳回



