
由朱一龙、杨恩又主演的电影《人生大事》,将于2022年4月2日上映。据了解,该电影讲述了“上天堂”公司的殡葬师莫三妹与孤儿武小文之间的故事。
随着上映临近,卓一慧众知产发现,电影《人生大事》商标已被通辽市某殡葬公司申请注册,国际分类为45类-社会服务,当前商标状态为“等待实质审查”中。不仅如此,由二手玫瑰乐队演唱的电影宣传曲《上天堂》也被该殡葬公司申请注册。

众所周知,丧葬文化是很小众、但人人都会经历的领域。只是没想到商标抢注起来都这么卷的吗?
据企查查APP资料显示,与“人生大事”商标相近似的商标共有190件,其中有多件商标早在该片开机更早之前就进行了注册申请,因此并非涉嫌抢注。
不过,有两件商标引起了人们注意。两件商标的申请人均为通辽市某殡葬礼仪服务有限公司,商标的申请时间分别为2021年12月14日和当月29日,国际分类都是第45类社会法律。

查询通辽市某殡葬礼仪服务有限公司的资料我们能够看到,该公司成立于2020年8月,注册地为内蒙古通辽市,经营范围包括:殡葬礼仪服务;骨灰盒、鲜花、寿衣、殡葬用品、工艺品销售;礼仪培训、心理咨询服务;殡葬用品加工及销售。
该公司商标申请数量只有三件,除了上述提到的两件45类“人生大事”商标之外,还于去年12月14日申请了一件“上天堂”商标,国际分类与另外两件商标相同。
如果说在《人生大事》电影上映之前申请注册“人生大事”商标是巧合的话,那么将《人生大事》电影宣传曲的名字“上天堂”申请注册为商标,就很明显地暴露出了商标申请人的抢注意图。

《人生大事》电影尚未播出,名字已率先被他人抢注,作为出品方是否有对自己的知识产权进行保护呢?
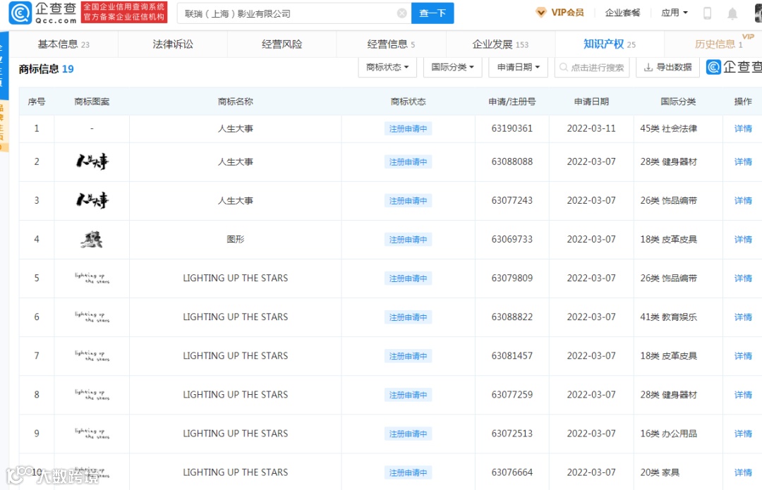
通过对电影《人生大事》出品公司联瑞影业企业信息查询我们能够发现,联瑞(上海)影业有限公司也曾对电影《人生大事》进行过知识产权保护,包括剧本著作权保护及商标布局。
据企查查资料显示,联瑞影业公司已于2021年5月对《人生大事》剧本进行作品著作权登记。此外,联瑞影业公司还申请了九件电影相关图形商标,分别为“人生大事”及“lighting up the stars”的艺术设计字体图案,国际分类涉及16类办公用品、18类皮革皮具、20类家具、21类日用器具、25类服装鞋帽、26类饰品编带、28类健身器材、35类广告销售,九件图形商标的申请时间均为2022年3月7日。此外联瑞影业公司并没有提交其他电影《人生大事》相关的文字商标注册申请,且已申请商标也并未进行全类别保护。

像此类影视作品名称被提前抢注商标的事件并不少见,像前段时间热播的影视剧《人世间》,电影《长津湖》、《奇迹·笨小孩》等,都曾经历过商标被抢注的状况。那么,影视作品应该如何保护自身的权益呢?

首先,像电影《人生大事》一样,在剧本创作完毕之后,及时将作品进行著作权登记便是保护知识产权最行之有效的行为;此外,及早将作品名称及有特色的角色名进行商标申请也很重要,它能够保护我们的作品不被他人蹭热度、抢注商标进行商用,在遭受侵权时,也能够及时利用武器反击,有效保护自身的知识产权不被侵犯。
同时也提醒商标申请人在遵守法律法规的前提下,做好商标布局,不要因为抢注商标、获取不正当利益而最终因小失大,搬石砸脚!


获1万项LED专利!苏州乐琻完成收购LG Innotek光电化合物半导体业务



