
北京学而思公司成立于2005年12月31日,2010年10月正式登陆美国纽交所挂牌交易,成为继新东方后,国内第二家在美国上市的教育培训机构。
随着我国“双减“政策的推出,先是对校外培训机构进行了严厉的打击和整顿,紧接着又公布了职业教育法的修订方案,大力扶持职业教育。由此可见,国家已经打算对泛滥成灾的教育培训机构进行整顿了,这对于学而思来说也是一种业务上的打击。

虽然业务受到了打击,但是也有别的路可以走,如今在老大哥新东方走出了一条自己特色的昔日名师直播带货之路之后,学而思又开始了新的一轮“新好论道”,坚定地走在新东方的后面,全力发力名师直播带货赛道。
就在学而思前几天全面召回自己的名师号召之后,学而思又开了下一个动作:申请严选系列商标!
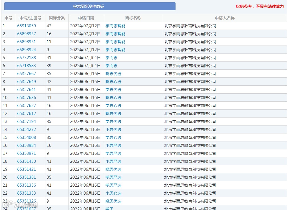
根据商标局官网显示北京学而思教育科技有限公司近日申请注册多个“学思严选”“学思心选”“晓思严选”“学思优选”“小思心选”商标,商标的国际分类包括广告销售、教育娱乐、办公用品等。

学而思申请了“学思严选”“学思心选”“晓思严选”“学思优选”“小思心选”,最终只会选定一个使用而其它的都是作为防御性注册。因为一旦商标被其他企业“注册在先”或者“擦边注册”,再要维权,举证责任、诉讼维权等,成本相对更大。
知识产权保护不是一件简单的事,在此也提醒各位企业主,品牌成立或项目确定后,做好市场未动,商标先行。强化商标先行意识,在布局商标、品牌的时候,提前做好规划,全面布局自己的知识产权,做好商标注册的同时提前将域名进行系统性注册申请,不让恶意抢注者、擦边蹭热度等行为“有机可乘”。
我们设想,如果北京学而思教育科技有限公司现在没有提前布局商标,而是在开播后有一定影响力时才想到注册,那很可能被别人抢注了。即使学而思公司后面能将别人抢注的商标异议掉或者无效掉,但是想想中间得付出多少的时间和精力呢,得不偿失。



本公司所有专利业务皆由北京精翰专利代理有限公司代提交

