
未来 iPhone 之间的通信可以不再依赖蓝牙和 Wi-Fi,根据最新获批的技术专利,苹果正考虑让隔空投送(AirDrop)使用 Li-Fi 传输数据。

苹果曾在 Mac 中使用红外线(IR)发射器 / 接收器,理论上可用于任何短距离数据交换。
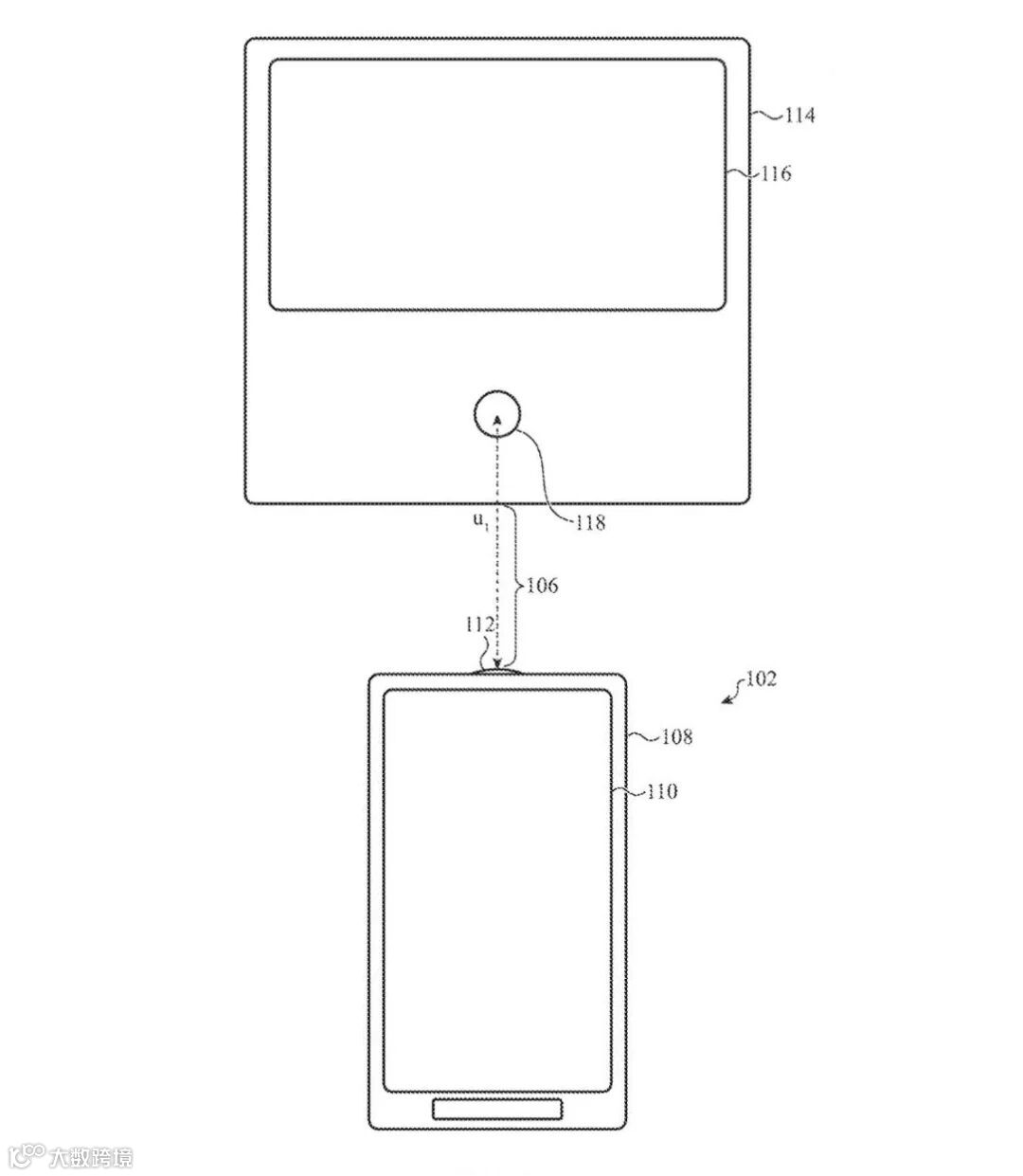
但在实际应用中,红外线往往被用于 Siri Remote 等遥控器,因为红外线传输速度较慢,而且设备之间必须相互精确对准。
而苹果公司近日获得了一项名为《用于便携式电子设备的定向自由空间光通信系统中的光学结构》技术专利,虽然在专利中并未提及 Li-Fi 字眼,但从专利描述来看,就是利用这个光通信系统,改善数据传输。
苹果公司表示,只要两台设备距离很近,且处于相互对准的状态,光通信要比传统的 Wi-Fi 或者蓝牙更安全,更快速。
而且相比较 Wi-Fi、NFC和蓝牙等传统设备到设备数据通信协议,Li-Fi 可以提高数据传输速率(从每秒数 GB 到每秒数 TB)、提高数据传输隐私性和提高数据传输安全性。

尽管苹果公司在整项专利中只使用了两次“Phone”一词,但可以推定这项技术是为 iPhone 设计的。
苹果公司表示,除了手机、平板电脑、笔记本电脑和台式机之外,该专利还可适用于航空、航海、潜水艇或陆地车辆控制设备或网络设备。
专利作为衡量一家企业创新投入的指标,也是判断企业科研成果的标尺,企业不仅要重视专利质量和数量,更要注重保护自己的知识产权。如果您的企业有什么新奇点子,别忘记卓一慧众知识产权进行专利保护哦~



本公司所有专利业务皆由北京精翰专利代理有限公司代提交

