近日,中国运动员谷爱凌在冬奥会上夺得中国第三金的消息火遍全网,一度直接霸占热搜,微博都被直接挤爆了。
据悉,谷爱凌是中美混血,被誉为“滑雪天才少女”。她于2019年6月宣布放弃美国国籍,加入中国国籍,后为中国队夺得多块滑雪金牌。
北京2022年冬奥会自由式滑雪女子大跳台决赛,中国选手谷爱凌在最后一跳中首次跳出了1620的超高难度,获得了94.50的高分,以总分188.25分夺得金牌。

第三跳之前谷爱凌排名第三,但落后第一的法国选手5.25分,第三跳谷爱凌挑战高难度,完成偏轴转体1620的女子大跳台最高难度动作,拿到了94.50的分数。据了解,这个动作谷爱凌之前无论是正式比赛中还是已经发布的训练视频中都从来没有完成过。而谷爱凌一蹴而就,完美落地。
据央视报道,赛后,她说这是人生中最高兴的一天,最高兴的一秒。“最后一跳,我做了一个历史没有女孩挑战过的动作,我想把我的能力展现给世界,拿到了第一名,赢了冬奥会,现在的感觉我都没法形容。”

这是她个人首个冬奥会奖牌,同时也是冬奥会历史上第一枚自由式滑雪女子大跳台项目金牌,以及中国代表团冬奥会历史上的第一枚雪上项目金牌。
需要注意的是,谷爱凌的爆火似乎也令不法分子看到了“商机”。根据天眼查App显示,“谷爱凌”商标申请信息达29条。其中,自然人张某于2019年6月申请的11个“谷爱凌”商标已完成注册,国际分类涉及教育教育娱乐、广告销售、灯具空调等。

但自然人张某的的实际身份还存疑,可能是被恶意抢注。其余多个公司及自然人申请的“谷爱凌”商标流程显示为“被驳回”或“商标无效”。
2月8日,花样滑冰男单短节目开赛!中国花滑选手金博洋再度演绎《卧虎藏龙》获得90.98分。
“金博洋”商标于2019年被申请注册,2020年注册成功。

此外,多家公司曾抢注金博洋商标,当前状态多为“商标无效”、“注册申请中”。

此前,备受瞩目的日本选手羽生结弦将在北京冬奥挑战4A!#金博洋和羽生结弦竞技#!话题也登上微博热搜。
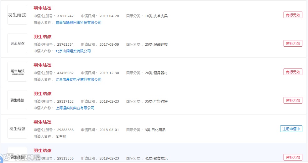
企查查数据显示,羽生结弦商标于2019年被申请注册,2021年注册成功,申请人为株式会社天狼星之队,国际分类涉珠宝钟表、日化用品。

多家公司也曾抢注“羽生结弦”商标,当前状态多为“商标无效”和“注册申请中”。


为了制止这种恶意抢注之风,相关主管部门不断加大监管查处力度。2021年3月,国家知识产权局印发《打击商标恶意抢注行为专项行动方案》中提到,严厉打击恶意抢注具有较高知名度的公众人物姓名、知名作品或者角色名称的;恶意抢注他人具有较高知名度或者较强显著性的商标或者其他商业标志,损害他人在先权益的。

2021年10月国家知识产权局,国家市场监督管理总局印发《北京2022年冬奥会和冬残奥会奥林匹克标志知识产权保护专项行动方案》,提到:依法严厉打击未经授权将奥运冠军等较高知名度奥运健儿姓名作为商标进行恶意抢注进而损害其姓名权及合法权益的行为以及利用与奥林匹克运动或者残奥会运动有关的元素开展商业活动引人误认的不正当竞争行为。对涉嫌构成犯罪的行为,及时移交公安机关。

对于社会公众所熟知的人物姓名,其姓名与自身商业价值紧密关联。如其本人或经其授权后的授权人以其姓名申请商标,不构成侵权;如未取得授权而申请注册的,则构成侵权。如商标注册人未取得本人授权而进行抢注,并且有胁迫该姓名权权利人进行“合作”,或索要高额商标转让费、许可使用费等行为的,则属于恶意抢注行为。





