
七夕情人节,整个世界都冒着粉红色的泡泡,恋爱的气息挡都挡不住。朋友圈、微博、公众号等信息轰炸,你不光要被朋友们撒狗粮,还会被各路商家所调戏,情话撩的人心动,真是使劲浑身解数骗我谈恋爱!
七夕不仅是情侣们放肆发糖的好时机,更是商家难得一遇的营销战场。为了打好这场一年一度的“硬仗”,各路商家可谓是做足了功课,光商标就申请了不少。
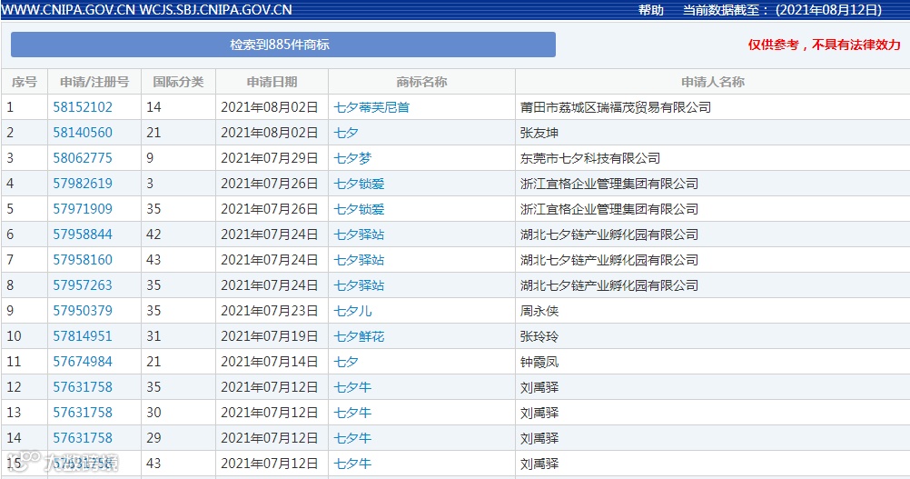
在商标局查询“七夕”商标,相关记录有885条记录,涉及各个类别,主要集中在服装鞋帽(25类)、广告贸易(35类)、教育娱乐(41类)等类别,商标样式也是丰富多彩。

除了“七夕”商标,相关的“鹊桥”、“牛郎”等商标也早已被注册。借势营销,商家们是认真的...
七夕只是个鼓励消费的节日?NO!总有那么一些人能挖掘商机。
比如,今年,63枚“七夕”相关商标在阿里拍卖平台进行公开拍卖,此次拍卖的商标均以评估价起拍,总起拍价为6.3万元,平均一枚商标的起拍价仅为1000元,使用期限4至6年不等。

这批商标为七夕(北京)国际创意文化有限公司名下商标,七夕(北京)国际创意文化有限公司隶属于文化艺术行业,成立于2014年,主要经营范围包括组织文化艺术交流;文艺创作;设计、制作、代理、发布广告;会议服务;承办展览展示等,目前该公司已进入破产清算。
本次商标拍卖分为四个大类:
第一类为图形商标,共26枚。核定使用在备办宴席、咖啡馆、会议室出租、养老院、美容院、园艺、托管计算机站(网站)、云计算、教育等方面,使用期限至2025年9月到10月不等,26枚商标起拍价为26000元,保证金为5200元,加价幅度为520元。
第二类为“Seven love”字母商标7枚。核定使用在苹果酒、鸡尾酒、白酒、米酒、水果罐头、冰淇淋、燕麦、活动物、植物、咖啡、饮料制作配料等方面,使用期限至2026年8月到11月不等,7枚商标起拍价为7000元,保证金为1400元,加价幅度为140元。
第三类为“爱情主题乐园”文字商标26枚。核定使用在美容面膜、化妆品、洗面奶、洗衣粉、珠宝首饰、微生物用营养物质、动画片、手提电话、集成电路、报警器、电能、润滑油等方面,使用期限至2025年10月到2026年3月不等,26枚商标起拍价为26000元,保证金为5200元,加价幅度为520元。
第四类为“一碗川”“七夕”“七夕商城”文字商标4枚。其中,“一碗川”核定使用在备办宴席、咖啡馆、餐厅、会议室出租、养老院、桌子、动物寄养等方面,“七夕”核定使用在娱乐服务、现场表演、书籍出版、综艺表演等方面,“七夕商城”商标为2个,核定使用在货物展出、广告宣传、样品散发、替他人推销、市场营销、计算机网络上的在线广告、为广告宣传目的组织时装表演等方面。4枚商标使用期限至2026年8月到2027年6月不等,起拍价为4000元,保证金为800元,加价幅度为80元。
从阿里拍卖平台页面来看,此次63枚商标上架仅仅几天,已经引起了近2000个网友的热烈围观,50多人设置提醒,足见商标作为无形资产具有的关注度和含金量。对于商标拍卖人来说,使用得当,经营有方,未来这些商标也将发挥无限价值。





