
马云1000万成立新公司,网友吵翻!网友:“不会真的是预制菜吧?”
马云成立“马家厨房”
据最新工商信息显示,11月22日,由马云持股99.9%的杭州大井头贰拾贰号文化艺术有限公司新增一家子公司,主营预制菜、农产品加工和批发等。
该子公司名为杭州马家厨房食品有限公司(下称“马家厨房”),法定代表人为PAU JASON JOHN,注册资本1000万人民币,经营范围包括食品销售(仅销售预包装食品)、货物进出口、食用农产品批发、日用品批发、酒店管理、技术服务等。

此外新消费日报注意到,马家厨房的监事徐诗,曾在马云公益基金会担任高管,目前也兼任多家马云旗下艺术管理公司、咨询公司高管。
不少网友评论称,“很反感预制菜”“不会真的是预制菜吧?”也有人表示,“既然预制菜的趋向已经无可避免,那么还是让马云来做好。”还有人调侃称,“应该不是为了钱,对钱不感兴趣。”
另据新消费日报,除了专业的养殖技术、数字化等领域,对于食品销售、预制菜的关注也是马云旗下多家餐饮、农业公司的经营重点之一。但在“马家厨房”以前,实际可能从事预制菜的生产销售业务的公司并不多。杭州云起餐饮管理有限公司或许是其中之一,但其主营线下餐饮门店,规模相对较小。
目前,“马家厨房”并未对外透露更多业务规划,后续将如何经营还未可知。但据报道,已有外界猜测认为,其或将配套多地渔业养殖产业园,开展更多食品深加工投入。从农业产业链发展角度来看,预制菜深加工模式可以有效链接生产和消费需求,协助农民增收,推动农业价值链向中高端迈进、培育农业国际竞争新优势。
“马家厨房”已申请商标
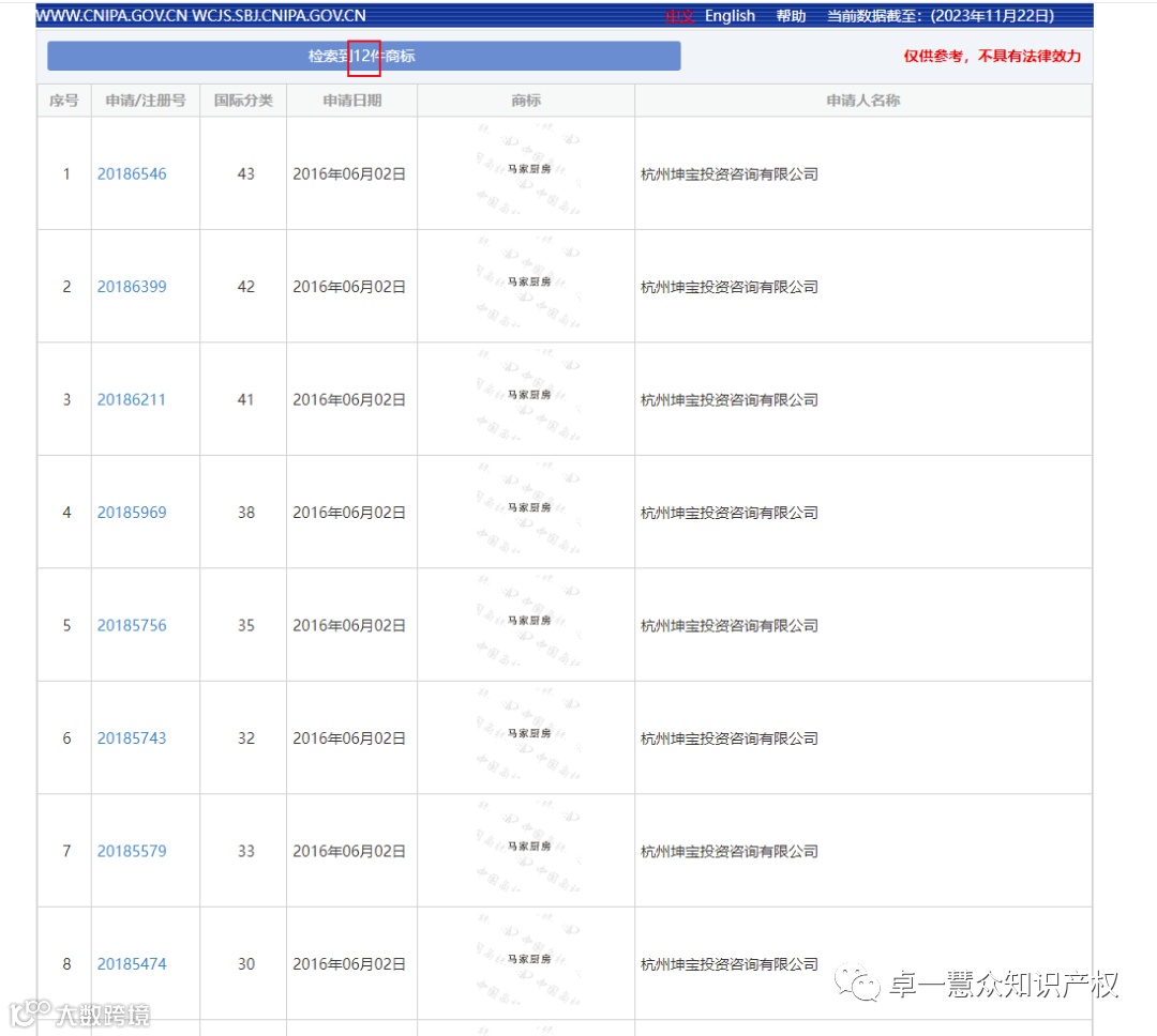
我们常说,市场未动,商标先行。小知通过商标查询发现,早在2016年6月2日,杭州坤宝投资咨询有限公司就申请了大量“马家厨房”商标,而且很多已经注册成功。


而杭州坤宝投资咨询有限公司的法人就是马云。看来马云是早有预谋进军预制菜哦~

预制菜产业专利申请晚且数量少
在专利申请方面,预制菜产业各创新企业的专利申请量并不多,且缺乏系统的布局、龙头企业和核心工艺技术,专利创新质量方面也仍待提高。截至2022年5月15日,预制菜相关产业的发明专利申请仅260件。
当下预制菜以传统加工技术为主,新的专利技术尚较为缺失,预制菜产业发展中,食品加工的方法是主要的发展方向,预制菜的保存、保鲜仍是目前产业发展所关注的重点方向。



本公司所有专利业务皆由北京精翰专利代理有限公司代提交

