撑了3500年的伞,
就这样被他颠覆了。
···
反向折叠伞
春天总是下雨,
早上出门想着
“一伞在手,天下我有”
可结果还是被淋成了落汤狗。
出门、路上还好,
关键是进公司收伞的时候,
总要在门口淋那么几秒,
躲了一路雨,
瞬间湿身的感觉总不那么美好。
进到公司,把伞收起,
伞上的雨滴自然滑落,
好好的地板就这么泡湿。
相信雨天大多数人或多或少都会有这样的一丝不爽,可从来没人想过“是不是伞的设计出了什么问题?”。
毕竟我们的伞撑了至少3500年了,应该没什么大问题吧?伞还要怎样?不一直就是这样吗?
英国61岁的大叔Jenan Kazim以前也这么想,可英国多雨的天气惹恼了他的丈母娘。
“每次下雨,她都会抱怨雨伞把她的地板弄得湿漉漉的”。起初Kazim并未过多在意,直到他有天盯着伞下积了一滩雨。
身为航空工程师的他,
出于职业敏感突发奇想:
会不会是伞的设计出了什么问题?
他开始有意捕捉
下雨天传统雨伞带来的种种不便。
比如他雨天上车时,
想躲进车里再收伞,
但无论如何你都收不进去···
只能迅速地先收伞、再进车,
即便你动作再快,
也还是要淋一身。
进到车里,
湿漉漉的伞好像放哪都不合适,
如果你再粗心大意,随手一放,
那极有可能沾湿重要的东西。
你以为这就完了?
下车时,
还要再过遍水···
不仅如此,
在人多拥挤的地方,
开伞的时候也要小心翼翼,
否则很容易戳到、误伤他人。
如果雨水再遇上大风天,
那根本就撑不住,
打伞跟不打伞效果无异。
面对传统雨伞的种种弊端,
Kazim坐不住了,
运用他所掌握的
数学应用和精密工程方面的知识,
他开始了对传统雨伞全新的升级。
有一点空闲就计算、设计
一个细节修改几十次也在所不惜
不论是结构的设计
还是材料的选择,
有点强迫症的的Kazim,
生动地诠释了完美二字。
前后经历了两年时间,
他拿出了一把颠覆传统的
反向折叠伞。
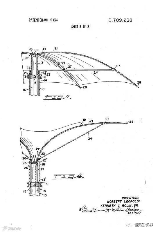
外观跟传统雨伞无大差别,打开与合拢的方向则与传统雨伞完全相反,打开的原理就像花儿盛开一样。
也许这看起来有点奇怪,
但正是这样的颠覆设计,
合理地解决了所有问题。
进车收伞,
人在车里伞在外,
完全不成问题。
下车时,
车门只需开一点空隙,
人未下车伞先开。
由于采用疏水布料
以及独特的花瓣式收束,
沾在伞面的雨水,
会被完全收进伞中。
滴水不漏,
无须再担心沾湿重要文件
或糟蹋地板等让人抓狂的问题。
独特的开合方式,
让你即便在拥挤的人群中,
也不用担心误伤他人。
而遇到大风天,
玻璃纤维制成的辐条,
能有效地对抗强风。
不幸被吹到变形也没关系
轻松一按,
它就能立马恢复原状。
也难怪这样合理解决所有问题,颠覆3500年历史的雨伞,在网站众筹25000欧元时,却获得人们的疯狂支持,最终筹得265397欧。
鲁迅曾说过:
从来如此,便对么?
看来有时稍微颠覆下我们的想法,
就会雨变晴,
对待生活的态度,同样如此。
END
作为家庭及企业装饰的专业服务商,充分发挥公司优势,整合了国内外优秀家居、建材品牌,囊括高端、中端、大众等装饰各环节的材料商,是目前最受欢迎的家庭装饰家园、企业信赖的办公装饰伙伴。
我们已经形成了以家装、工装、软配为核心,涉及到家居建材、家具配饰的采购和物流管理、居住方案实现、装饰人才培训等多个系统化领域,佳鸿集团承诺为所有客户创新及差异化提供最佳解决方案。





