-
优化政府颁布标准与市场自主制定标准结构,对国家标准和行业标准进行整合精简。
-
强化标准验证、实施、监督,健全现代流通、大数据、人工智能、区块链、第五代移动通信(5G)、物联网、储能等领域标准体系。
-
深入开展人工智能社会实验,推动制定智能社会治理相关标准。
-
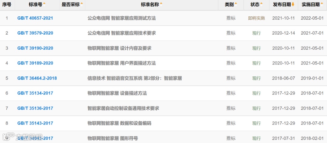
推动统一智能家居、安防等领域标准,探索建立智能设备标识制度。
-
加快制定面部识别、指静脉、虹膜等智能化识别系统的全国统一标准和安全规范。
-
紧贴战略性新兴产业、高新技术产业、先进制造业等重点领域需求,突破一批关键测量技术,研制一批新型标准物质,不断完善国家计量体系。
-
促进内外资企业公平参与我国标准化工作,提高标准制定修订的透明度和开放度。
-
开展标准、计量等国际交流合作。
-
加强标准必要专利国际化建设,积极参与并推动国际知识产权规则形成。

