

企业生命周期环境保护合规管理流程

环境影响评价流程

排污许可申领流程 

突发环境事件应急预案工作流程 

竣工环境保护验收工作流程

清洁生产审核流程

拆除活动污染防治流程

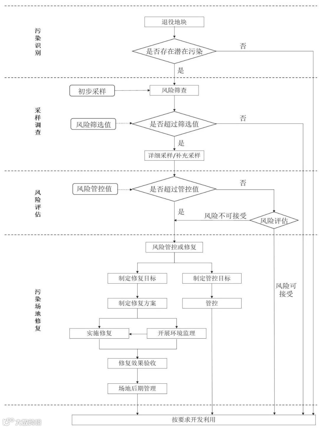
场地调查与修复流程



企业有我,环保无忧


来源:排污许可大环保 编辑:环保莞家

声明:本公众号对转载分享、陈述引用的资讯信息保持立场和观点中立,目的仅在于行业交流,版权归原作者所有。如涉知识产权等问题,请与本号小编联系,我们可及时作删除内容处理!点击下方“阅读原文”了解更多...


