

1、企业存续期间环境保护合规管理流程
1、企业存续期间环境保护合规管理流程
2、环境影响评价流程
2、环境影响评价流程
3、排污许可申领流程
3、排污许可申领流程
4、突发环境事件应急预案工作流程
4、突发环境事件应急预案工作流程
5、竣工环境保护验收工作流程
5、竣工环境保护验收工作流程
6、清洁生产审核流程
6、清洁生产审核流程
7、拆除活动污染防治流程
7、拆除活动污染防治流程
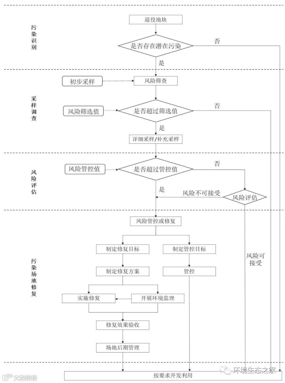
8、场地调查与修复流程
8、场地调查与修复流程

联系我们


整理:环保莞家

声明 | 本号对转载、分享、陈述、观点保持中立,目的仅在于行业交流,版权归原作者所有。如涉版权和知识产权等侵权问题,请与本号后台联系,即刻删除内容处理!点击下方“阅读原文”了解我司更多...


