
极简房门应用方案
继《极简木饰面应用方案》之后
青木又一极简案例书籍倾情巨献
01
一如既往的极简封皮
仔细观察
封皮也是成系列的哦
02
本书的定位为终端销售手册
旨在为极简现代风格的运营商提供直接的销售道具
然对于设计师及工厂而言
本书所有CAD图皆嵌入了标准化思路及思维
并且设计师使用该书
可通过该书中多种设计参考和色彩搭配案例
快速的完成客户方案设计
03
书中所有产品效果图皆是高清品质
配色、场景等经过静心设计与挑选
只为呈现出最佳视觉效果
04
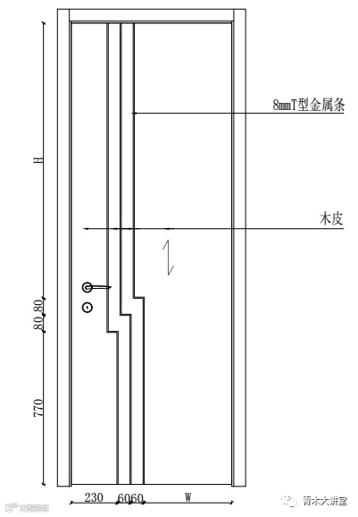
《极简房门应用案例》书中
房门CAD基本都有大样图
且对于设计师及工厂而言
本书所有CAD图皆嵌入了标准化思路及思维
成系列仔细揣摩
或有未知惊喜哦
05
《极简房门应用方案》的重大价值在于
经销商可当销售手册作为订单来源的工具
工厂可作为极简类的产品手册,派发给经销商
为自己的经销商提供产品加工
设计师可作为方案设计参考
给客户设计案例时不妨采用其中的方案进行深化设计
06
综合以上
本书面向经销商、工厂以及设计师群体
▽
PS:成团可享9折优惠,点击去参团更易成团成功哦!
▽

《极简房门应用方案》诞生前奏
《极简木饰面应用方案》推出之后,青木第一时间补救失误的同时,团队电话回访了892位购买书籍的客户,在青木表达歉意后获得了大多数客户们的谅解,更可贵的是,我们也得到了非常多客户们的真诚建议。
正是来自客户们的宝贵心声,《极简房门应用方案》中的部分CAD图有了大样图,书的首页添加了书籍的使用说明,书中的材质也有了更加清晰的标注,甚至于印刷这件小事上,我们也听取建议做了诸多尝试.....
青木团队在此90度鞠躬感谢那些可爱真诚的客户们,我们希望有越来越多的人愿意成为青木书籍的评审员,在青木的下一本书中留下你们的印记。
完

欢迎关注“青木大讲堂”公众号:qingmulecture
青木大讲堂传播整木定制文化,梳理整木定制知识体系,助力设计师快速成长
如果每天五分钟的阅读已经成为习惯,那么让更多的伙伴建立这种习惯吧!
请将学习内容转发到各种群里和朋友圈,让我们一起来快乐的学习吧!
小编个人微信
18482190131(手机号也是微信号)
18072812340(手机号也是微信号)

