Micro OLED | 2023年全球面板产能份额预计:韩国破10%、中国大陆高达67%、日本4%、印度依然为0
Micro OLED | 这家韩企用圆形面蒸发源技术挑战10000 PPI MicroOLED
MicroLED | 苹果获 Micro LED 新专利,Apple Watch、电视、摺叠手机都可用
-
MicroLED | 投资近4000万元!Meta与这一研究所研究AR用MicroLED 技术 Apple | Vision Pro交互设计,苹果的阳谋
-
AR | AR眼镜技术公司Cellid完成1857万元融资
-
AR | 联想发布轻量化AR眼镜:双目1080P立体显示光机,亮度最高2000nit -
OLED | 三星显示刚性OLED市场份额将增加:因Galaxy A24将采用OLED面板
-
XR | 芒果XR虚拟影棚落地湖南广电
Micro OLED | 2023年全球面板产能份额预计:韩国破10%、中国大陆高达67%、日本4%、印度依然为0
据韩媒报道,市场研究公司Display Supply Chain Consultants (DSCC)预测,今年韩国面板产能份额(按出货面积计算)预计将跌至10%以下。2020年,它的市场份额为19%,但到2021年迅速下降至14%,去年为12%,今年将比去年下降3个百分点至9%。据解读,这是因三星显示器、LG显示器关闭液晶面板业务或减少出货量所导致的。此外,DSCC预测,中国大陆面板产能份额将从2020年的53%上升到今年的67%,去年为65%。2025年,中国大陆面板产能份额预计将升至70%。与此同时,韩国将下降至8%。

来源:显示汇
Micro OLED | 这家韩企用圆形面蒸发源技术挑战10000 PPI MicroOLED
近期,OLEDON 首席执行官 Hwang Chang-hoon 宣布,公司正在挑战实现像素密度为 10000 PPI(每英寸像素数)的 MicroOLED。
Micro-OLED是一种在硅基板上沉积有机发光二极管 (OLED) 的技术。 Micro OLED可用于扩展现实 (XR) 设备。业界认为, Micro OLED像素密度必须超过 3000 PPI 才能用于 XR 设备。

来源:OLEDindustry
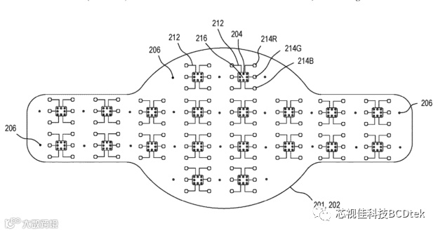
MicroLED | 苹果获 Micro LED 新专利,Apple Watch、电视、摺叠手机都可用
近期美国专利商标局公布了一项苹果 Micro LED 新专利,这项专利发明最早可追溯到 2013 年;文件描述为「与微芯片相关 LED 阵列」,似乎是苹果收购 Micro LED 厂商 LuxVue 时所获得。苹果至今已对这项专利发明进行七次更新,专利代号为 #11676953。
专利文件的摘要显示,苹果描述了一种「显示模块与包括显示模块的系统应用,显示模块可包含显示基板,显示基板又包括了前表面、后表面,以及前表面上的显示区域。多个互连的显示基板从前表面延伸到后表面,发光二极管(Light Emitting Diode,LED)阵列位于显示区域当中,并与多个互连电线连接。苹果在文件中所提供的示意图显示,专利可应用的设备包括穿戴、卷轴,以及摺叠显示器。

来源:CINNO
MicroLED | 投资近4000万元!Meta与这一研究所研究AR用MicroLED 技术
近日,爱尔兰廷德尔国家研究所和 Meta 已建立为期四年的研究合作伙伴关系,以应对开发和制造 MicroLED 设备的挑战。该计划将由 Paul Hurley 教授领导,他最近被任命为 Meta 在廷德尔和科克大学化学学院(UCC)半导体技术领域的工业主席。有消息透露,在这项合作中,Meta 将投资 500 万欧元(约合人民币3910万元)。

来源:新浪VR
Apple | Vision Pro交互设计,苹果的阳谋
在Vision Pro发布至今,可以看到诸多体验过Vision Pro的博主都对这款产品的交互设计表示甚为惊喜。毕竟Vision Pro摆脱了「手柄」外部操控器,用户仅通过眼睛、手、语音便可与设备进行交互,并且眼动、手势与语音之间是打通的,是一整套的交互方式。毫无疑问,苹果在重新定义MR交互方式的标准,而从每个技术上来看,Vision Pro又是苹果多年来布局的一个体现。

来源:VR陀螺
AR | AR眼镜技术公司Cellid完成1857万元融资
6月28日消息,AR眼镜技术初创公司CellidInc.宣布完成了由Tokyo Electron Limited子公司TEL Venture Capital,Inc参投的3.7亿日元(约合人民币1857万元)融资,融资完成后Cellid融资总额达到15.8亿日元(约合人民币7931万元)。本次融资始于2023年5月,2021年11月,Cellid完成了由AXA Life Insurance Co.,Ltd.、EPCO Co.,Ltd.等三家公司投资的5亿日元融资。

来源:MoguraVR
AR | 联想发布轻量化AR眼镜:双目1080P立体显示光机,亮度最高2000nit
6月29日消息,6月28日,联想在 2023MWC 上海正式发布轻量化 AR 眼镜联想晨星 G2 light。这款 AR 眼镜拥有双目 1080P 立体显示光机,亮度最高 2000nit,并具备轻量化、低成本优势。
根据产品介绍,G2 light 内置有 9 轴传感器融合算法,拥有 50% 透过率的光机,可以确保用户能看清环境的同时也能看清显示画面。为了保证画面稳定性和舒适佩戴体验,G2 light 采用设备端 IMU 数据,可结合云端 AI 防抖算法,实现低功耗、低延时、大角度旋转的第一视角视频防抖。

来源:MicroDisplay
OLED | 三星显示刚性OLED市场份额将增加:因Galaxy A24将采用OLED面板
近日,市场研究公司 Stone Partners 称,三星显示预计今年第二季度将出货 2940 万块用于移动设备的刚性 OLED 面板,预计将占据80.4%的市场份额。今年第一季度,三星显示的刚性OLED出货量为2280万片。与上一季度相比,市场份额也有所增加。三星显示一季度刚性OLED市场份额为72.8%。中国的和辉光电(EDO)排名行业第二,维信诺排名第三。

来源:OLEDindustry
XR | 芒果XR虚拟影棚落地湖南广电
芒果XR虚拟棚正式投入使用,将改变传统的制作模式与拍摄手法,引领内容制作进入数字化拍摄新时代!该影棚坐落在湖南广电集团(台)B3区270平米演播厅,由集团(台)科技委统筹规划、技术调度中心打造,采用洲明UpadIV2.6、UDF03系列LED显示屏分别作为“立面屏、地砖屏”,
近几年,虚拟拍摄在国外发展迅速,应用丰富。芒果XR虚拟棚,为内容生产提供了一个探索创新的平台与制作基地,相信这一XR虚拟棚也将孵化更多创意、打造更多爆款,为观众带来更多震撼和沉浸的视觉体验。


