
许多科技公司都非常热衷于申请专利,这些申请的专利除了能够保护自己的技术不被别人所剽窃之外,还能够看出科技公司对于未来产品发展的方向和想法。而苹果 作为目前世界上最热门的科技公司,自然也是申请了不少有用、有趣甚至奇怪的专利。而通过这些颇具“黑科技”意味的专利,我们似乎能够畅想一下未来苹果的产 品将会发展成什么样,亦或现有的产品将会出现哪些神奇的功能。

能探测烟雾、防水又防摔的iPhone
iPhone作为目前苹果最重要的产品,绝对是未来使用大量专利的重头戏。而从最近苹果申请的专利来看,许多黑科技未来都有可能出现在iPhone上。
比如首先是这个无线烟雾探测器专利,目前苹果对智能家居领域充满了兴趣,而烟雾探测作为智能家居中最重要的产品类型,将可以直接让我们的iPhone变成烟雾探测器。

苹果在专利文件中描述道,这个无线烟雾探测器基于一套光检测系统,可以通过内置的光线传感器来侦测光束中是否混合烟雾颗粒,或者探测出在一定范围空间内是否为无烟环境。
如果侦测出冒烟或起火的情况,苹果设备将会触发一系列警报机制,不仅可以针对室内做出警报提醒,还可以向其他苹果设备实时发出警报,比如MacBook Air检测到厨房发生了火灾,那么你的iPhone将会自动提醒出现特殊情况。此外,它还能够向911呼叫紧急援助,同时还可以远程控制启动洒水装置,在紧急情况下,手机还可以开启位置服务,这样如果被困的话就可以更容易被人施救。

而目前iPhone也是出了名的脆弱,而苹果也有让iPhone防水又防摔的专利。比如这项名为“电子设备外壳”,它描述了一种iPhone安全系统。当板载传感器——包括加速度计、陀螺仪、摄像头和麦克风——检测到机身正在坠落时,这套系统便会弹出机身4角内置的弹簧健身器,来吸收坠地的冲击力。
苹果还在专利中指出,这套保护系统甚至能让iPhone漂浮在液体表面,这对于不慎落水的iPhone显然是个救命的功能。而除了漂浮之外,苹果还有直接让iPhone防水的专利。这项名为“隐藏接口的电子设备”的专利通过拥有自愈弹性体来防止iPhone等设备的端口进水。

从专利内容来看,苹果采用一种自我修复的弹性体材料,保护电气设备的接口,目前这些接口通常暴露在空气当中,很容易碰到硬物或者电流导致损坏,比如苹果的Lightning接口。
设备上进行充电,数据传输或者音频传输的探针很容易穿透这种弹性体材料,在使用完毕,探针收缩之后,弹性体材料可以自我修复探针穿过造成的孔洞,而重新变成密闭状态,以达到保护接口和探针,防水防尘的目的。
Force Touch键盘和摄像头投射虚拟键盘

苹果现在已经在12英寸的新MacBook和iPhone 6s/Plus上加入了Force Touch和3D Touch技术,而这项新技术也已经有了非常广阔的应用前景,甚至开始让Android等对手产品纷纷效仿。而其实除了笔记本和iPhone之外,苹果似乎还打算在键盘上也键入这种技术。
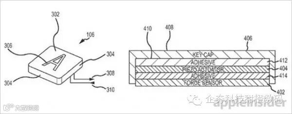
这项专利描述了一款集成了类似Force Touch触控技术、同时不使用任何键轴的QWERTY全尺寸键盘。这种专利键盘在去除机械键轴之后,可以将键盘的高度降低数毫米,未来有希望帮助苹果打造尺寸更薄的MacBook产品。
专利所描述的键盘原理与之前苹果的Force Touch触控技术类似,只是尺寸大了不少。每个物理按键下都配备压力传感器,压力传感器位于键帽下面,致动器能产生触觉反馈。
在输入的过程中,通过对键盘的不同按压力度穿输出特定的信号,包括嵌入式的压力传感器。在确定用户按压的力度后,键盘控制器会接收到信号并进一步处理。随后键盘会通过用户点击的不同力度模拟出不同的机械键盘手感,并且与传动装置配合。

除了Force Touch技术键盘之外,苹果还发明了一种可以在任何角度下投射出虚拟键盘的摄像头专利。虽然之前苹果的产品经常配备前置或后置摄像头,但是通常都固定在某个角度,并且与桌面基本垂直,而这对于用户来说想要记录一些影响不太方面。
而苹果提出的一项解决方案就是这项名为“任何角度摄像机镜头附件”的专利,可以通过反射透镜将光线反射,并且还能通过磁铁、吸盘、夹子甚至是粘合剂一类的方式进行固定。同时苹果还表示可以使用旋转机制来摆脱附件角度的束缚。
而对于这种摄像头的专利,苹果还提出了进一步应用的可能性,从专利描述图片中可以看到,一台类似于iPad Pro大小的设备被放在了摄像头底座上,并且可以检测人脸和手的角度在最适合的位置投射出虚拟键盘用来进行打字。
模拟不同触感或能折叠的曲面OLED显示屏

曲面屏幕一直是我们期待在iPhone上看到的特性,而苹果一项名为“柔性电子设备”专利技术,可使未来的iPhone可进行多个角度的弯曲或折叠。
不同于市场上已有的曲面屏手机,苹果在专利文件中表示,柔性电子设备包括延展性的零部件,如机壳、屏幕玻璃、电池、电路板、显示屏及其他零部件,未来苹果可利用塑料、光纤化合物、超薄玻璃等材料制造手机。从更多的专利图片上看,这些可弯曲的手机甚至还可以直接缠绕在手腕上,变成一款智能手镯。也许这就是未来的一种趋势,可穿戴设备和智能手机将会合为一体。
而除了曲面OLED屏幕之外,如何为已经拥有3D Touch技术的屏幕增加更多的功能,也是苹果一直在考虑的问题,而苹果已经计划将这项技术变得更成熟、更先进,可以模拟出不同材质的表面带给用户不同的感觉,比如木材或者金属,用户甚至感觉到局部的震动或温度变化。

这项专利名称为“模拟材料的表面接触”,苹果将会对新MacBook或Apple Watch上使用的Force Touch多点触控板进行增强,可以利用振动,模仿变形的表面。根据新专利的描述,这种振动利用与目前Force Touch触控板中相似的触觉引擎,不过这种引擎将能够同时支持横向和纵向移动。
另外,该系统还可以利用电容传感器、定位传感器、力觉传感器等检测到的数据,将位置和压力显示在屏幕上。同时苹果还会将这一技术加入到计算机显示技术上,用户在点击屏幕时会模拟出玻璃、木材或塑料的不同材质的纹理。比如当屏幕上显示出木头的图案,用户就可以在触控时感受到与木材相近的触觉。通过手指的压力调整震动的力度,模拟出不同材料反射出的不同力度。
该项专利中最有趣的部分就是苹果计划利用Peltier设备或者相似的设备来创造温度差。Peltier设备是一种固态热泵,它能让温度从设备的一头传到另一头,这主要取决于电流的方向,既可发热也可冷却。而这样就可以直接带给用户不同的温度感受,比如当用户长时间将手指放到模拟金属或玻璃的表面上,然后屏幕局部就会升高温度,仿佛真的是用户将体温传递到了屏幕上。而这些所有侦测功能不需要不同的组件,只要通过压电致动器,就可以组合起来产生热量。
内置扫描仪功能的鼠标

在配件产品中,除了键盘之外,鼠标也非常重要,而苹果也在鼠标上打起了主意,希望能够把鼠标变成一款扫描仪。想象一下,想要将什么东西扫描成电子版,只要将鼠标在上面来回滑动一圈就可以实现了,是不是特别方便。
这项专利名叫“在鼠标内部合并颜色传感器”, 简单的说就是将一台微型扫描仪“塞”到了鼠标的里面。
在过去的十年里,鼠标已经基本告别了传统的滚轮定位方式,而是更多的采用了光学传感器和激光定位的方式。而苹果自家的Magic Mouse鼠标更是可以在无需鼠标垫的情况下,通过激光追踪的方式在不规则的表面使用。而通过加入一个普通传感器或颜色传感器,可以在激光追踪的前提下,对鼠标经过的表面进行记录,直接将图像传输到计算机中。作为一种输入设备,鼠标可以通过对颜色传感器收集到的数据进行动态调整,再经过计算机的处理,直接变成一台扫描仪使用。
更强大的摄像头
其实现在iPhone的摄像头在众多旗舰级智能手机中已经算强大,不过苹果似乎并不满足于此,想要让iPhone的摄像头变得更加强大。

比如这项苹果在iPhone上使用三个摄像头传感器的专利,每个传感器分别用来解析捕捉的不同颜色,实现更好的效果。
这项专利名称为“三色分光摄像头模块”,简单的说就是带分光器的数码摄像头专利。从专利图片上看,该专利采用了基于棱镜的传感器方案,并内置在一台iPhone之类的电子设备中。该技术最大的亮点是无需对色彩通道进行处理或“去马赛克”,从而最大化像素阵列的解析度。
三传感器影像技术在专业级相机中较为常见,三传感器影像技术可将实际光线分成三股,通常为红、绿、蓝三原色。在通过三棱镜时,每片传感器可以按照常规的方式进行排布、或者贴近棱镜表面,因此在感光以及提升照片解析度方面都会带来很大的提升。
除了增加传感器数量之外,苹果还打算提升一下被大家忽略的闪光灯。从专利来看,苹果想使用一台iOS设备远程操控几台辅助iOS设备,从而让这些辅助设备为主设备开启闪光灯照明,增加主设备摄像头的光线强度。
由于这项技术需要同时用到几台iOS设备,所以苹果欲将其打造成为一个全新的“社交摄像头闪光灯”系统。当然这项技术不仅仅局限于iOS设备之间,其主设备还可以是一部照相机或者是带有照相功能的设备,辅助设备也可以是仅带有闪光灯的装置,例如是带有闪光灯的iPhone充电器或者是外设设备等。
柔性不易坏的耳机接头

许多人都遇到过这样的事情,耳机用得好好的,但是接头的地方由于长期弯折,受到破损而导致耳机报废。因此苹果为了解决这个问题,发明了一种全新的耳机接口,这种新型耳机接口使用了柔性材质零部件,可以防止因意外而导致耳机接口断裂或对设备造成直接损害。
苹果的这项新专利名为“柔性TRS连接器”,新专利简单的勾勒出了一些耳机连接器的设计方案草图,而图像描述中耳机连接器和外面的套管部分将使用柔性材料。根据专利描述文件显示,如果使用了柔性或具有弹性的零部件,那么新的耳机插头则可以承受一定程度的弯曲防止折断。而目前市场上的耳机接头都无法承担任何程度的弯曲,很容易导致接头断裂或损坏设备。
而苹果公司在专利中描述的TRS插头则采用的是柔性、弹性材料或热塑弹性材料,允许耳机接头出现一定程度的弯曲而不损坏。通常来说,这些材料还可以取代介电绝缘体,贯穿整个套筒的内部构件可以由涂覆在导电层中的弹性体。而这种新型的柔性插头完全可以经受得住轻微的弯曲,在某些情况下完全可以避免因轻微的弯曲而导致的插头损坏。


