所谓降维打击,就是你的对手拥有你所没有的武器,而且这种武器是另一个维度的武器,你根本无从防范。
就像90年代美国打伊拉克,一堆陆地的武器,在海、空维度的武器面前,只有充当废铁的命运。
传统的医药批发企业,只有ERP的数据,这些数据可以看成陆地的武器,电商模式未普及的时候,大家就拼各自的内部管理效率,靠着ERP的数据支撑,来点点滴滴优化内部的效率。
当电商模式越来越普及,电商的数据,就可以看成海、空的武器,特别是对第三方平台来说,他们拥有各家企业的数据。当“我有你没有”的时候,降维打击的可能就出现了。
你的这些行为,就是在把自己陷于未来被降维打击的境地。
▲ 别人已经用数据在运营业务,你的公司还在靠猜想来运营。
▲你为第三方电商平台苦逼贡献了自己的数据,第三方平台却拿着包括你的数据在内卖给你。
▲你不愿意掏钱建立自己的电商平台、数据中心,而在各第三方平台缴纳这种费、交那种费却不亦乐乎。
医药批发企业要避免被降维打击,一方面是学习用数据指导运营的能力,一方面是看紧自己的数据,不要轻易把数据贡献给第三方平台。另一方就是利用爬虫技术,去挖第三方平台的数据为己所用。
在大数据崛起的时代,这些客户信息、客户行为弥足珍贵,光这些数据就可以作为一个提升“企业估值”的点了。如果再进一步挖掘,则可在日常的品种运营、客户运营、广告投放、精准推荐等方面获得更高效率、产出。而,这些也都是基于用户行为进行数据分析,再以数据驱动运营、指导推广。
大平台,借助这些进驻的企业所贡献的数据,获得了越来越大的“市值”,而企业苦逼贡献了数据,还承受着大平台的“降维攻击”的风险。例如,某医药交易平台,在各省市,收购了1-2家医药公司,搞“自营”业务,依据各家公司贡献出来的客户数据、品种交易数据,未来将轻而易举就能实现“降维攻击”,想收拾哪个医药批发企业都可以。
所以医药批发企业,应该更深入认识到数据的价值,保护自己的数据,以做自己的“市值”为目标来经营数据,既能赚当前的利润,也可通过电商模式和数据采集、分析来提升自己的“市值”,从而取得长远发展。
而,拥有完整的会员体系和会员数据,并将这些数据资源充分利用起来,实质上是让自己的运营获得“事半功倍”的效果。
大数据很高大上,对一个已经启用B2B商城的医药批发企业而言,自己的“小数据”也很有价值。
对于医药批发企业来说,尽量的弄懂和运用数据分析,通过数据来指导:营销、促销、采购,为企业创造价值,才是最重要的。
幸福时空B2B商城,数据的来源多样,会从多方面采集数据,对采购商(药店)的行为刻画更加全面精准。
利用数据分析来操盘B2B商城的运营,工作更有时效性,并确保能更及时响应每一个采购商的当前需求。

1、销售订单分析
1、销售订单分析
销量统计主要针对B2B平台上的订单信息汇总,包括:每日的订单量、金额、取消合作、配送状态。针对天/周/月销售指标的监控,最重要的两个指标(销售额与订单量)通过图标展示出来,同时展示每日的达成率,可以非常醒目的掌握最重要的信息。不达标?根据此信息就可以找到负责人进行责问了。
2、页面点击量汇总
2、页面点击量汇总
根据用户观看时长、停留退出点、汇总高峰期等构成的数据,根据这些数据统计出来用户的关注点,点击率数据是用来判断客户的关注点的工具,知道了每个菜单栏的上每条结果的点击率,结合关键词排名位置和搜索次数,就可以大致了解能带来的点击流量。

(首页、搜索页、分类页、快速下单、限量抢购、限时抢购、组合套餐、维价专区、刮刮卡、砸金蛋、大转盘)
该功能是统计商城的各个页面的点击量和各入口的点击量,支持不同时段进行统计。通过对页面以及入口点击量数据的分析,能得出以下若干结论:
▲有多少访客访问网站,访问深度怎么样;
▲访客对那个模块比较感兴趣,以及效果怎么样;
▲查看网页的相关数据,着重优化,降低跳出率;
▲对访客浏览页面的相关数据,并与预期相比,发现差异。
有了这些结论,我们可以做哪些事情?
1)、调整一些品类的出现页面入口,让一些品类更容易呈现在客户面前。
2)、对重要的页面,优化页面的性能、视觉,重点提升给客户的体验。
3)、对跳出率高的页面,重点排查问题和优化。
4)、结合下单转化率,调整运营策略。
3、平均客单价
3、平均客单价
通过年/月/日的搜索,分析出销售金额、平均客单价、客流量,
【客流量:日访客数,按访问IP地址(重复ip计算为1个)计算】;
【销售额:日订单额汇总】;
【客单价:(日订单额/日下单客户数)汇总】。
从而分析客流量、登录率、成交率、回头率,以及客单数和客单价。

4、商品浏览排行
4、商品浏览排行
通过对搜索人群的分析,了解潜在客户的特征及喜好;通过对客户人群的分析,了解行业内的竞争态势。客户通过在平台上浏览的商品进行分析,客户的需求是哪一类的商品,企业是否有货,商品的多个客户关注的,那后续是否可以储备更大的囤货量,与厂家拿更优惠的价格政策。

5、商品收藏排行
5、商品收藏排行
为了帮助企业更好地规划商品上,商品参谋也提供了多种纬度的方法。
面向有品牌的商家,商品参谋提供丰富的排行榜信息,了解自有品牌及竞争品牌的排名。同时提供客户注重的是那些商品。了解当前的商品的趋势,这类品牌商品价格,利润点,哪类买家喜欢这个品牌。深入了解这款商品的数据表现。

6、采购商浏览排行
6、采购商浏览排行
B2B平台的产品页面,是企业推广成功的核心之一。潜在客户群体一直在关注什么商品?上图通过埋点技术抓取客户浏览过的商品,精准的告诉内勤人员,客户现在关注的产品、需求的什么。通过这么 “积极信号”让内勤人员更好的去服务客户,推荐产品,从而提升客单价客单量。

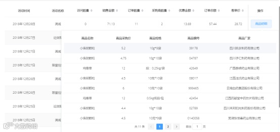
7、促销活动汇总
7、促销活动汇总
分析销售活动数据,目的就是为了分析活动的业绩,辅助改善活动质量。可以从三个层面上来分析一个活动的情况。
1. 活动的直接业绩指标:包括活动销售量/额、利润额、目标完成率、利润完成率、往期活动对比、活动期间用户参与数、新增客户数、客单价、连带率等。
2. 活动的影响:包括对活动前和活动后的影响,分析商品价格走势、客单价走势、活动的爆发度、衰减度等。
3. 活动的效率:主要是关注投入产出,分析带来的流量、销售额等。

8、关键词排行
8、关键词排行
利用客户频繁搜索某关键词,来分析产品有多少客户潜在需要,从而定位目标客户,营销者想要发现目标客户;首先应该做的不是盲目的去定位客户,而是全面地了解企业产品的数据情况。如果不清楚自身产品的定位,不知道自己产品的市场情况,在客户身上花费再多的精力也是枉然。

9、客户搜索排行
9、客户搜索排行
分析客户需求,然后匹配产品优势,从而把优势产品推荐给客户,这个过程其实是一个双向过程。根据客户搜索关键词转化率:搜索到商品下单的订单数/搜索到的商品点击次数,当营销者搞清楚了产品的市场情况之后,就能大致定位目标客户;比如定位到某一类客户,但这一类客户对产品的需求又有差异,这时候就需要利用大数据工具去分析更细分群体的精确需求。






