天天财经独家,速关注
继4月份“版权门”后,视觉中国12月10日再遭重罚。
由于违规从事互联网新闻信息服务、违规与境外企业开展涉及互联网新闻信息服务业务的合作等问题,12月10日,国家网信办指导天津网信办会同江苏网信办、北京网信办约谈视觉中国网站负责人,指导上海网信办约谈IC photo网站负责人,责令两家网站立即停止违法违规行为,全面彻底整改。即日起两家网站暂停服务。
今年4月11日“版权门”事件以来,视觉中国股价已下跌28%。

来源:Wind
被网信部门约谈
国家网信办官网12月10日下午发布消息,12月10日,针对视觉中国网站(域名vcg.com)和IC photo网站(域名dfic.cn)违规从事互联网新闻信息服务、违规与境外企业开展涉及互联网新闻信息服务业务的合作等问题,国家网信办指导天津网信办会同江苏网信办、北京网信办约谈视觉中国网站负责人,指导上海网信办约谈IC photo网站负责人,责令两家网站立即停止违法违规行为,全面彻底整改。两家网站负责人表示,将不折不扣落实管理要求,以严肃认真的态度进行自查整改,即日起网站暂停服务。

有关地方网信办负责人指出,视觉中国网站、IC photo网站违反国家互联网有关法律法规和管理要求,在未取得互联网新闻信息服务许可情况下从事互联网新闻信息服务,在未经安全评估情况下与境外企业开展涉及互联网新闻信息服务业务的合作,严重扰乱网络传播秩序。针对上述问题,两家网站要严格遵守法律法规,切实履行企业主体责任,对违法违规行为进行全面自查自纠,确保类似问题不再发生。
随后,中证君打开视觉中国的网站发现,页面已经是一片空白,只有网页中间的一行字:落实有关管理要求,视觉中国网站自即时起全面开展自查整改,整改期间网站暂停服务。
视觉中国网站截图
由于该消息15:15分发布,视觉中国12月10日的股价未受到影响。公司股价全天维持震荡走势,上涨0.40%。

机构纷纷减持
Wind数据显示,今年第三季度,视觉中国股东户数大幅减少,由二季度末的46497户锐减为三季度末的33984户,环比下滑26.91%。

来源:Wind
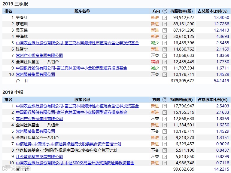
财报显示,今年9月18日,视觉中国迎来大规模解禁,大多数机构股东都已经不在前十大流通股东之列。而两只基金,中国农业银行股份有限公司-富兰克林国海弹性市值混合型证券投资基金和中国银行股份有限公司-富兰克林国海中小盘股票型证券投资基金也已经进行了减持。


来源:Wind
今年11月18日,视觉中国公告称,公司5名实控人之一的吴春红于11月15日晚逝世。
公告显示,吴春红女士直接持有公司股份9391万股,占公司股份总额的13.41%,通过华泰柏瑞-视觉中国特定多客户资产管理计划持有公司股份197万股。吴春红生前未在公司任职,公司董事会、监事会及高级管理人员正常履职,公司各项经营管理活动一切正常,此事项对公司的生产经营不会产生重大影响。
曾因黑洞“版权门”事件被罚
4月10日晚间,全球六地同步直播发布首张黑洞照片事件被刷屏。但是,4月11日,视觉中国网站上出现了这张照片,并注明此图如用于商业用途,请致电或咨询客户代表。随后,很多企业的官方微博也发布视觉中国网站的截图,上面被声明了“版权”的图片都是自己企业的LOGO(徽标或商标)。
更严重的是,团中央官微4月11日下午发布两张截图,分别是在视觉中国网站上提供的中华人民共和国国旗和国徽图案,并带有“版权所有:视觉中国”的版权声明以及如用于商业用途的咨询电话。团中央官微表示:“国旗、国徽的版权也是贵公司的?”并@视觉中国影像。
4月11日,天津市网信办对公司子公司汉华易美传播违法有害信息的行为进行立案调查,同时公司主动暂时关停了公司网站。4月18日,天津市网信办对公司作出了罚款30万元的行政处罚。4月26日,公司网站向部分客户测试开放;5月12日,经有关部门同意,公司网站向所有客户全面恢复服务。
今年一季度,视觉中国的营收和净利润分别同比增长5.53%和44.22%。但到了第二季度,公司营收同比下降26.97%,净利润同比下降了22.59%。第三季度,公司营收和净利又分别下降16.51%和1.26%。
半年报中,视觉中国还用了大篇幅解释“版权门”事件的影响及后续情况。公司称,受到此次事件影响,以及2018年底剥离亿迅资产组导致合并报表范围变化等因素影响,公司2019年上半年营收和净利润出现下降。其中公司核心主业“视觉内容与服务”实现营业收入3.98亿元,同比增长0.1%。报告期内,核心主业占上市公司总收入99%。
视觉中国称,事件发生后,公司在有关部门的指导下,对内容安全审核、版权规范标注等进行了全方位的整改,在较短的时间内全面恢复了业务。尽管该事件短期内对公司业绩有一定影响,但长期来看,有利于公司商业模式优化,有利于内容、技术、获客等核心竞争力的提升。
编辑:张楠 叶松

推荐阅读
➤高开1.82%,换手率41.27%,邮储银行登陆A股,43亿“绿鞋”资金护航
➤保罗·沃尔克,“最伟大的美联储主席”,曾警告特朗普金融监管松绑很危险

戳!

