
继王府井内幕交易案被调查后,又一免税概念内幕交易案被调查。
曾8连板的“免税概念”牛股-格力地产遭到二级市场重力一击,股价一字跌停,市值相比上一个交易日蒸发约14.87亿元。
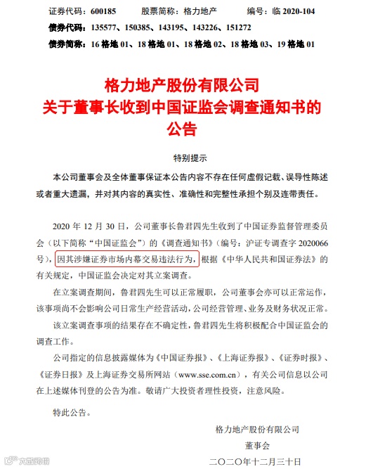
12月30日晚间,格力地产发布公告称,董事长鲁君四因涉嫌证券市场内幕交易违法行为,被证监会立案调查。另外,A股另一家上市公司科华生物早盘一度跌停,原因是格力地产董事长鲁君四为该公司监事会主席。

此前,格力地产股价大幅上涨时,上交所就要求其结合公司生产经营、股东减持及近期重大资产重组等事项充分做好风险提示,自查前期提交的内幕信息知情人名单是否完整、是否存在内幕交易情况。
格力地产回复上交所问询函时明确表示“公司股票不存在内幕交易”。随着证监会介入,格力地产是否存在内幕交易事实将逐渐公开。
值得关注的是,昨晚格力地产还发布了一则《格力地产股份有限公司关于重大资产重组的进展公告》称,此前运作的购买珠海市免税企业集团有限公司100%股权事项可能存在被暂停或终止的风险。

在上述消息的影响下,今日(12月31日)早盘,格力地产开盘跌停,每股6.46元。截至今日收盘,格力地产股价仍以跌停价报收,跌停板上超5300万股挂跌停板“逃命”。
格力地产于2009年借壳上市,前身为西安海星现代科技股份有限公司。
在地产主业外,格力地产今年持续推进在生物医药大健康、免税业务领域的资产重组,以寄望形成以免税业务为特色的大消费产业、发展可期的生物医药大健康产业,以及坚持精品化路线的房地产业三大板块为核心的大型上市公司。
据格力地产2020年三季度报告显示,前三季度实现营业收入42.5亿元,同比增长23.85%;实现归母净利润5.97亿元,同比增长19.02%。

但其剔除预收款后的资产负债率为77.08%,净负债率为197.26%,现金短债比为0.45倍,连踩“三条红线”。
现金短债比是企业在一定时期内,经营现金净流量同流动短期负债的比率,能够反映企业某一时间点的现金流压力及安全性。现金短债比率=年经营现金净流量/年末短期负债×100%,在流动资产大于流动负债的情况下,企业的短期偿债能力指标更好,更安全。
今年上半年,格力地产公告称,公司正在进行发行股份及支付现金,购买珠海市免税企业集团有限公司 100%股权并募集配套资金的重大资产重组事项。
消息一出,一度引发外界瞩目,涉足免税业务被视为能极大提振格力地产的盈利能力。在“免税概念”的加持下,近年股价表现低迷的格力地产股价8连板涨停。

格力地产的股价走出了“过山车”行情,期间公司股价也一度到达18.1元/股的历史最高点,涨幅逼近4倍。股神派数据显示,格力地产股价从今年的5元附近最高涨至18.1元,涨幅超260%。
在股价创下18.1元高点后,格力地产开始步入下跌通道,至今股价回调幅度达64.3%。上演了“过山车”行情。
三季报数据显示,香港中央结算有限公司(“北上资金”称号)在6月30日至9月30日期间加仓了约1539.43万股,位列第5大流通股东席位。同时,全国社保基金一一零组合加仓了1132.81万股,位列第9大流通股东席位。
如果北上资金和社保基金一直持有至今并没有卖出,他们加仓的股份或浮亏超40%。
事实上,上市公司高管因掌握大量内幕信息,早已是证监会进行有关内幕交易调查的重点关注对象。此类公告一出,上市公司往往受到“牵连”出现股价“跳水”。
有律师称,在调查结果出来前,高管个人被调查对上市公司的影响尚难判断,但同时出现高管涉嫌内幕交易和上市公司信息披露违规的案例屡见不鲜。
监管部门曾多次发声强调,将坚持不懈打击内幕交易违法行为,维护资本市场秩序,保护中小投资者利益。亦有律师表示,新《证券法》已大幅提高内幕交易违法行为的处罚力度,《刑法》也正在进行配套调整。
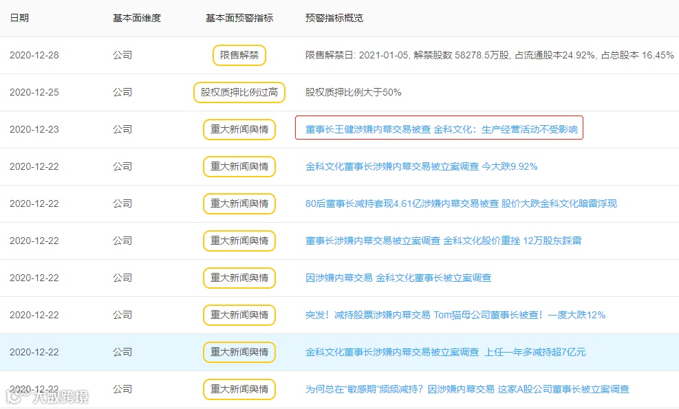
据股神派不完全数据统计,近10日左右,除了格力地产之外,已有至少3家上市公司高管因涉嫌内幕交易遭到证监会调查,其中包括2位董事长。

例如,12月21日金科文化董事长王健先生因2019年11月至2020年3月期间减持公司股票涉嫌内幕交易,被证监会立案调查。12月22日,金科文化暴跌9.92%。此外,*ST北讯与顾家家居先后公告称,公司高管收到证监会内幕交易《调查通知书》。
其中,顾家家居董事长顾江生因涉及在该公司2018年至2019年收购喜临门家具股份有限公司(简称“喜临门”)的过程中,通过二级市场交易喜临门股票的事项,被证监会立案调查。
在公告发布公告后,顾家家居次日开盘即大跌8.79%,盘中一度逼近跌停板,当日报收70.64元/股,跌幅为4.62%。

内幕交易破坏市场公平交易原则,侵害投资者合法权益,一直是资本市场久治不愈的“顽疾”。随着民事责任规则的健全、行政执法力度的加大和刑法的完善,相信未来内幕交易行为将会得到更加严厉的制裁。
【
隐藏福利!】学会趋势投资,做聪明的操盘手。
进入公众号“股神派”首页,发送关键词“涨停”,获取股神派 [潜力金股股票池]。
免责申明:文章中部分数据、资讯来源于网络,仅供参考,与股神派无关,不构成理财、投资建议。
