搜索
首页
大数快讯
大数活动
服务超市
文章专题
出海平台
流量密码
出海蓝图
产业赛道
物流仓储
跨境支付
选品策略
实操手册
报告
跨企查
百科
导航
知识体系
工具箱
更多
找货源
跨境招聘
DeepSeek
首页
>
连收9张罚单!
>
连收9张罚单!
中国证券报
2024-07-26
2
天天财经独家,速关注
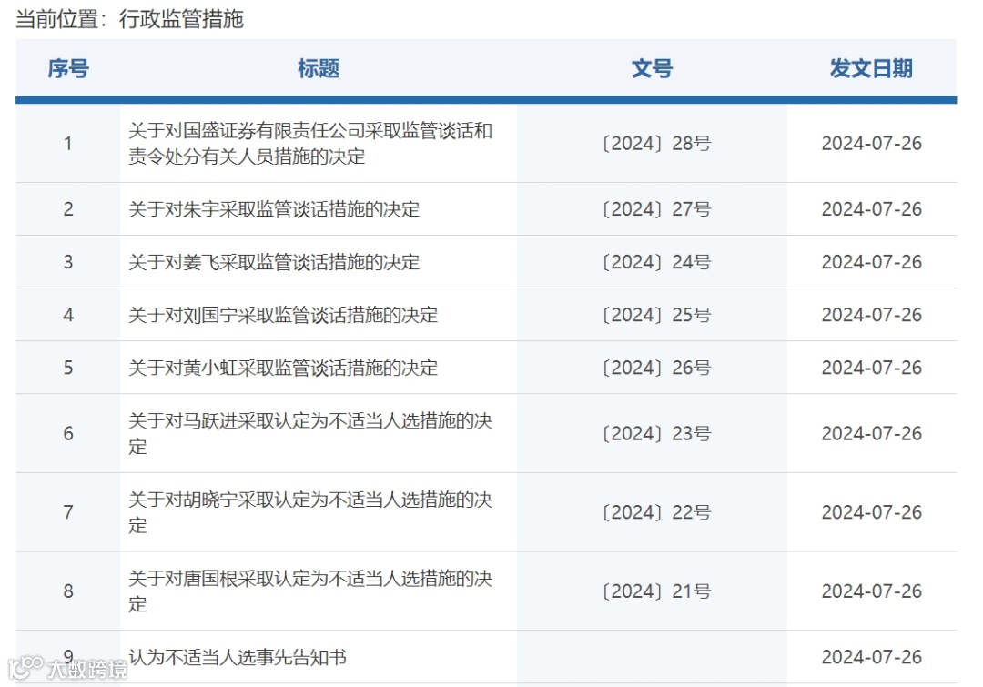
7月26日,江西证监局网站挂出多张国盛证券相关的罚单。其中时任副总裁、部分项目风控会的负责人朱宇等4人被采取监管谈话措施;时任国盛证券董事长裘强等4人被采取认定为不适当人选措施。
图片来源:江西证监局网站
同日,国盛证券向中国证券报记者回应称,本次行政监管措施主要针对的是2020年7月国盛证券被中国证监会接管前,在公司治理与展业中存在的相关问题。国盛证券对监管处罚决定坚决支持,并已按照监管要求启动内部问责。
国盛证券表示,公司自2022年底回归江西省属国资以来,全面加强党的领导,规范完善公司治理,全方位提升内控管理,目前合规稳健经营,发展势头良好。公司将认真学习贯彻党的二十届三中全会及新“国九条”精神,落实中央金融工作会议部署,全面提升合规管理能力,守住不发生重大风险事件底线,牢牢把握为实体经济
服务
的根本宗旨,做好金融“五篇大文章”,努力推动实现高
质量
发展。
公司被责令处分有关人员
江西证监局表示,经查,国盛证券有限责任公司存在接管前未按规定如实
报告
股东实际持股比例,董事会、经理层人员超出授权履职,股票质押业务内控不完善和为股东的关联方提供
融资
,核心业务人员违反廉洁从业规定,授权未取得高管任职资格人员实际履行高管职务等情况,反映出公司未能有效实施合规管理,违反了《证券公司股权管理规定》(证监会令第156号)第二十七条,《证券公司合规管理试行规定》(证监会公告〔2008〕30号)第三条的规定。国盛证券孙剑、陈迎丰、胡强、胡振齐、魏蕊辉、罗静、周明来、钟定将、李志宏等人作为相关股票质押业务参与人员,应对相关违规行为负有责任。
根据《证券公司股权管理规定》第三十八条、《证券公司合规管理试行规定》第二十六条第一款、《证券公司监督管理条例》(国务院令第653号)第七十条第一款第三项规定,江西证监局决定对国盛证券采取以下行政监管措施,并记入证券期货市场诚信档案:其一,请国盛证券主要负责人携带有效身份证件于2024年8月5日上午10时至江西证监局接受监管谈话。其二,责令国盛证券自本行政监管措施作出之日起10个工作日内,根据公司有关制度规定,作出处分孙剑、陈迎丰、胡强、胡振齐、魏蕊辉、罗静、周明来、钟定将、李志宏的决定,并在作出决定之日起3个工作日内向江西证监局提交书面报告。
4人
被采取监管谈话措施
江西证监局还表示,经查,国盛证券有限责任公司存在经理层人员超出授权履职,股票质押业务内控不完善和为股东的关联方提供融资等情况,反映出公司未能有效实施合规管理,违反了《证券公司合规管理试行规定》(证监会公告〔2008〕30号)第三条的规定。朱宇作为国盛证券有限责任公司时任副总裁、部分项目风控会的负责人,负有责任。刘国宁作为国盛证券有限责任公司时任副总裁、相关股票质押项目投决会负责人,负有责任。姜飞作为国盛证券有限责任公司时任合规总监兼首席风险官、相关股票质押项目的审批高管,负有责任。根据相关规定,江西证监局决定对朱宇、刘国宁、姜飞采取监管谈话的行政监管措施,并记入证券期货市场诚信档案,朱宇、刘国宁、姜飞应携带有效身份证件于2024年8月6日下午15时到江西证监局接受监管谈话。
江西证监局表示,经查,黄小虹作为国盛证券有限责任公司时任固定收益总部债权融资二部负责人,在部分债券项目展业过程中存在偷税漏税和向他人行贿等情况,违反了《证券期货经营机构及其工作人员廉洁从业规定》(证监会令第145号)第九条第一款第(一)项、第十条第(六)项和第十二条第(五)项的规定。根据有关规定,江西证监局决定对黄小虹采取监管谈话的行政监管措施,并记入证券期货市场诚信档案,黄小虹应携带有效身份证件于2024年8月6日下午16时到江西证监局接受监管谈话。
4人被采取认定为不适当人选措施
江西证监局还表示,马跃进作为公司时任总裁、相关股票质押项目的审批高管,胡晓宁作为国盛证券有限责任公司时任财务总监、相关股票质押项目风控会负责人,均对上述违反了《证券公司合规管理试行规定》(证监会公告〔2008〕30号)第三条的规定负有责任。
根据相关规定,江西证监局决定:认定马跃进为不适当人选,自本监管措施决定作出之日起3年内不得担任证券公司的董事、监事、高级管理人员和分支机构负责人等职务或者实际履行上述职务,并记入证券期货市场诚信档案。此外,认定胡晓宁为不适当人选,自本监管措施决定作出之日起1年内不得担任证券公司的董事、监事、高级管理人员和分支机构负责人等职务或者实际履行上述职务,并记入证券期货市场诚信档案。
江西证监局还表示,经查,唐国根未取得证券公司高管人员任职资格,却在国盛证券有限责任公司开展的21笔股票质押业务中实际履行高管职务,且分管的股票质押业务存在内控不完善和为股东的关联方提供融资的情况,反映出公司未能有效实施合规管理,违反了《证券公司合规管理试行规定》(证监会公告〔2008〕30号)第三条的规定。唐国根作为直接当事人和相关股票质押业务负责人,负有责任。根据相关规定,江西证监局决定:认定唐国根为不适当人选,自本监管措施决定作出之日起1年内不得担任证券公司部门负责人、分支机构负责人及以上职务或实际履行上述职务,并记入证券期货市场诚信档案。
同日,江西证监局表示,经查,国盛证券有限责任公司存在接管前未如实报告股东持股比例的事项,违反了《证券公司治理准则》(证监会公告〔2012〕41号)第十条第二款、《证券公司合规管理试行规定》第三条的规定。裘强作为时任国盛证券有限责任公司董事长,负有责任。按照相关规定,江西证监局拟作出如下监督管理措施决定:认定裘强为不适当人选,自本监管措施决定作出之日起10年内不得担任证券公司的董事、监事、高级管理人员和分支机构负责人等职务或者实际履行上述职务。
审读:徐昭
编辑:王寅
校对:张典阁
监制:张楠
签发:
彭勇
推荐阅读
➤
刚刚,A股“YYDS”跌了!
➤
国资委权威回应!
➤
高盛、桥水警告……
➤
低碳中国,绿色出行
【声明】内容源于网络
0
0
中国证券报
《中国证券报》,由新华通讯社主管主办、中国证券报有限责任公司出版,证券市场唯一“中字头”信息披露媒体,是融权威发布、政策解读、资讯视讯于一体的新型财经全媒体机构,集价值发掘、数据研发、投教投服投研于一身的资本市场服务商。做多中国,相和义利。
内容
14139
粉丝
0
关注
在线咨询
中国证券报
《中国证券报》,由新华通讯社主管主办、中国证券报有限责任公司出版,证券市场唯一“中字头”信息披露媒体,是融权威发布、政策解读、资讯视讯于一体的新型财经全媒体机构,集价值发掘、数据研发、投教投服投研于一身的资本市场服务商。做多中国,相和义利。
总阅读
7.4k
粉丝
0
内容
14.1k