近期,有关城投债利好的消息频出!
0
消息一:9月百亿城投债提前兑付!
1
随着地方政府化解隐性债务工作持续推进,各层级城投公司均在通过一系列“组合拳”释放债务风险。比如,部分城投债发行人会将仍在存续期的城投债进行提前兑付,以加快债务置换速度。
详情如下:
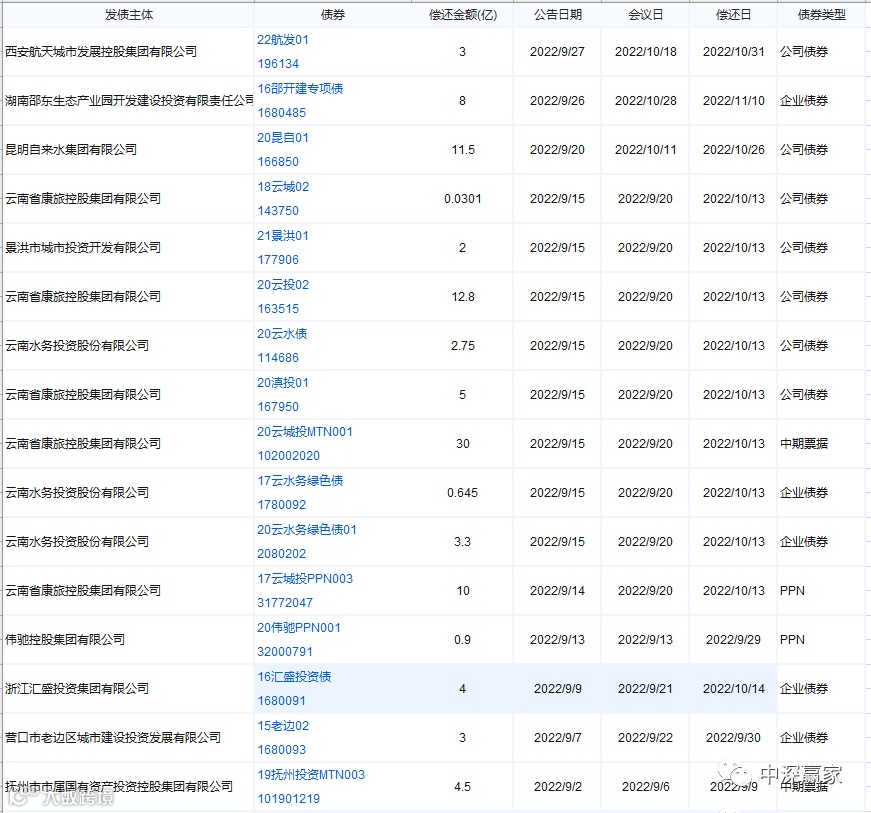
根据企业预警通的统计数据,2022年9月拟通过持有人会议提前兑付的城投公司债券合计有17只,拟提前兑付的城投公司债券金额为102.13亿元,数量和金额均创2022年新高。
从统计的数据来看,拟提前偿付的城投债券中,公司债券拟提前兑付7只,金额为37.08亿元,只数和金额均为最多;企业债券拟提前兑付5只,金额为18.95亿元;PPN拟提前兑付3只,金额为11.60亿元;中期票据拟提前兑付2只,金额为34.50亿元。
0
消息二:银行加大信贷投放力度,助力基建投资领域
2
为高效服务实体经济,稳住经济大盘,今年1-9月,工商银行、农业银行、建设银行、中国银行、交通银行和邮储银行6家国有银行不断加大信贷投放力度,助力基建领域投资。
详情如下:
工商银行——围绕基础设施基金投资项目配套融资、交通水利能源网络型基础设施等五大重点领域和“十四五”规划重点项目营销,基建领域贷款余额比上年末增加逾6400亿元;
建设银行——1月-9月在基础设施行业领域的贷款余额为5.66万亿元,较上年末增加近5800亿元;
邮储银行——公告指出,在上半年主动前移投放节奏的基础上,统筹做好下半年信贷增长安排,积极增加信贷投放,存贷比和信贷资产占比继续提升;在非信贷资产的安排上,提升资金使用效率,提升非息收入贡献。在负债管理上,持续优化以价值存款为核心的负债发展机制,实现了“增长适度、结构优化、成本下行”;
交通银行——持续加强信用风险管理,严控新增、出清存量,坚决守住不发生系统性金融风险底线。今年前9个月,融资总量超过8000亿元;
中国银行——主动对接国家稳经济政策,制定实施支持实体经济的行动方案,三季度末,客户贷款较年初增加1.69万亿元,达17.41万亿元,增长10.78%;
农业银行——加大对制造业、基础设施建设等金融支持,前三季度,县域新增贷款超9000亿元。
0
消息三:贵州、山东相继出台政策利好城投债!
3
9月“城投债”短久期成交上升,贵州、山东等省份接连出台政策利好城投债发行。
详情如下:
01
贵州发行城投债成本降低
02
山东“城投债”政策利好
7月份,山东潍坊市城投集团举办“政银企共话深度合作 赋能城市高质量发展”高层次金融机构恳谈会,会议中提出希望省内各金融机构对潍坊市的发展倾注更多关心,更加了解城投、熟悉城投,各金融机构也对市城投公司的转型发展取得的显著成果和形成的平台公司转型发展“潍坊城投”模式给予了充分肯定。
截至2022年8月25日,山东省城投平台存量债余额为12241亿元,涉及发行人249家。
从发行人主体评级来看,AA平台超半数,占比51.4%;AAA和AA+平台分别为23家和78家,占比分别为9.2%和31.3%。
从地级市来看,山东省存量城投债主要集中在青岛市、济南市、潍坊市,合计占比54.3%。其中青岛市存量债规模最大,为3838亿元,涉及城投平台数量最多,为53家。其次为济南市和潍坊市,城投存量债规模分别为1667亿元、1145亿元,平台数量分别为16家、45家。
综上,在低利率叠加资产荒的大背景下,政策不断利好城投债,再次提升了投资者对“城投信仰”的信心!
相比传统的理财产品,城投债无论是收益率还是过往兑付情况,均符合投资者预期,近30年来零违约的兑付记录,让标准化城投债在无数投资者心里,成为债券圈难以替代的YYDS!
写在最后
在市场资金充裕,投资利率降低,风险加剧这样的大背景下,城投债凭借有地方政府信用背书,收益率相对较高等硬核优势,经常出现“一债难求”的现象,尤其是资质较好的城投公司发行的债券,刚出来就会被抢购一空。
在接触投资者时,经常可以听到这样的声音:“以前买城投债,随便挑随便选,哪个收益高买哪个。现在买城投债,纯靠运气,只要能买到,别管收益高低,抢到就好!”

