品牌营销,选蓝狮问道
对于在B站进行“三连推广”的广告主而言,精准追踪和分析搜索广告的投放效果至关重要。其中,了解用户通过哪些关键词找到并点击了您的广告,是优化搜索策略、提升转化效率的核心环节。蓝狮问道运营团队整理出以下查看B站三连推广搜索广告关键词数据的详细路径供参考。
一、 核心数据查看路径
登录后台:
首先,访问B站三连推广官网并登录您的广告主后台。
进入报表中心:
在后台主界面,找到并点击顶部的 “报表” 导航栏,进入报表分析中心。选择搜索广告报表:
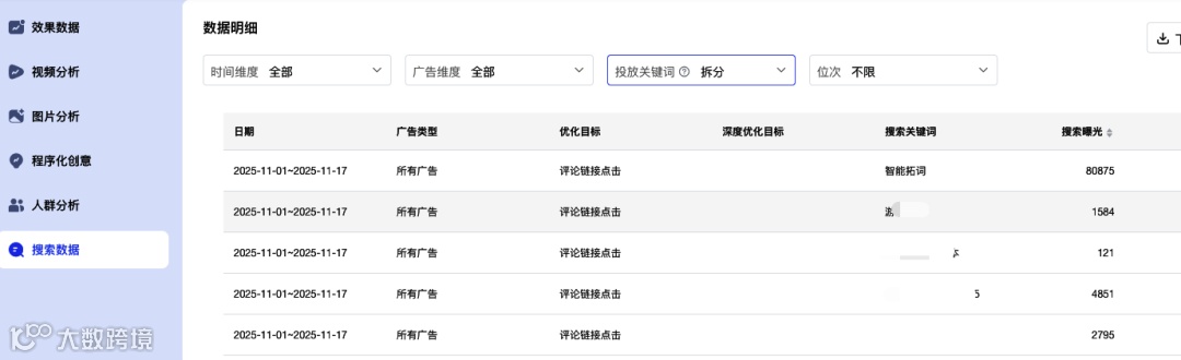
在报表中心页面,您会看到多种报表类型。请选择 “搜索数据”。
下拉到下面找到数据明细:
在搜索广告报表页面,找到 “数据明细” 的位置。
在维度列表中,找到投放关键词,选择“拆分”关键词。
注释:根据bilibili官方,智能拓词是在搜索快投或搜索直投计划下,由算法根据品牌、账号、素材等相关信息,通过模型训练拓展出的适合搜索投放的一批搜索词,可以帮助账号提升搜索跑量。由于算法能力的敏感性,智能拓词的具体明细暂时不会对外公开。
查看与分析数据:
选择拆分“关键词”维度后,报表数据列表中将新增一列“关键词”。您现在可以清晰地看到:每个关键词带来的展示量、点击量、花费、平均点击价格、搜索点击成本、搜索转化成不等核心数据。
您可以对这些数据进行排序(如按点击量或花费降序),快速识别出高消耗或高触达的关键词。
右侧有个下载按钮,可以下载到本地进行报表格式化。
二、 核心数据指标解读
在关键词报表中,您需要重点关注以下几项数据,以评估每个关键词的效能:
关键词:用户实际在B站搜索框中输入的搜索词。
展示量:该关键词触发了您的广告并展示给用户的次数。
点击量:用户看到广告后,点击的次数。
点击率:点击量与展示量的比率,反映了关键词与广告创意的匹配度和吸引力。
花费:该关键词消耗的总广告费用。
平均点击价格:该关键词下,每次点击的平均花费。
三、 数据应用与优化建议
获取关键词数据后,应据此进行持续的投放优化:
拓展高价值关键词:
筛选出点击率高、转化效果好的关键词,将它们添加到您的关键词词包中,并进行重点投放。过滤无效关键词:
对于展示量高但点击率极低,或有点击但无后续转化的关键词,应考虑将其添加为 “否定关键词”,以避免不必要的广告预算浪费。优化出价策略:
对核心转化关键词可以提高出价,争夺更靠前的排名;对于表现一般的广谱词,可以适当降低出价,控制成本。优化广告创意:
确保您的广告标题、描述和素材与高频关键词高度相关,这样可以有效提升广告的点击率和用户体验。
常见问题
问:为什么有些搜索词看不到具体关键词数据?
答:B站可能会对少量搜索量极低或涉及隐私的词汇进行数据整合或屏蔽,以“其他”等形式展示,这是正常现象。
问:数据更新有延迟吗?
答:是的,广告数据通常会有一定的延迟,一般为几十分钟到数小时不等,请以报表中显示的数据时间为准。
总结:定期通过“报表 > 搜索数据 > 拆分关键词维度”这一路径分析数据,是驱动B站搜索广告投放成功的基石。通过精细化的关键词管理,您可以显著提升广告投资的回报率。
(注:本文内容及源图由蓝狮问道官方运营团队整理,仅供分享,若有侵权联系删)
更多关于信息流广告投放、内容运营与投放指南可通过可通过【蓝狮问道】官网或以下方式联系我们咨询

