在施工生产过程中
公司涌现出了一批批勤于思考、敢于创新
勇于实践、善于应用的先进典型
他们创造的优秀成果促进了工程优质履约
为企业的高质量发展贡献了力量
为进一步提高职工的创造积极性
公司评选出了“五小优秀成果”
空间曲面阳台施工关键技术
河南分公司 徐红杰
该成果涵盖空间曲面阳台模板深化设计及精准安装技术,混凝土高质量成型控制技术,爬架机位加高件研制、加工及安拆技术;拉杆式悬挑脚手架研制及应用技术。该成套技术已广泛应用于瀚海思念城东西院近3000个空间曲面阳台施工。
一种现浇箱梁箱室内预应力张拉千斤顶安装工具
基础设施分公司 张玉斌
该成果提出一种现浇箱梁箱室内预应力张拉千斤顶安装工具,解决了现浇预应力箱梁张拉适用的千斤顶安装效率低、占用场地大、浪费劳动力的技术问题。本专利一方面可以节约箱室内千斤顶安装托架的搭设,另一方面可以大大提高千斤顶安装的作业效率,节约工期,同时还可以减少现浇梁支架的占用时间,提高架体周转效率。张拉一束顶板钢绞线可以减少18m左右钢管托架的搭设,节约工期2小时,按照3跨一联的单箱双室预应力箱梁,可减少托架搭设288m,缩短工期1.5天;若现浇梁数量多,规模大,取得的经济效益将更加明显。
入出库扫码系统
河南分公司 王晓东
入出库扫码系统利用手机微信或支付宝扫描库房对应二维码能够清晰的查看库存物品种类和数量,库房管理人员登录账号进行入库,领用人扫描二维码进行查询、领料,库存物品一目了然。仓库数量可添加、删除,库存物品种类可分类存入不同仓库,一个库房对应一个二维码,贴在库房门口,当场领料当场扫码办理出库,方便快捷。验收现场进行入库、出库工作,能更清晰记录入账物品种类和数量,能清楚记录物品领用详情。
一种建筑外墙现浇与预制保温一体化系统
郑州分公司 窦国举
该成果通过将保护层和保温板在工厂预制加工为一体(以下简称PCF板),吊装至现场并作为模板使用,从而达到清水混凝土的效果,后期免抹灰。经过测算对比,项目7#楼此次共节约维修及抹灰成本22.1万元。该技术获得专利13项,其中发明专利2项。获得国家级QC1项,河南省建设厅科技进步奖二等奖1项,河南省工程建设特等奖1项,河南省工法1项,BIM龙图杯优秀奖1项,获得局优秀施工方案二等奖1项,中建七局2019年十大创新成果,核心期刊论文3篇。
快速建造下提高铝模板一次成型合格率
郑州分公司 候金科
本课题主要通过浇筑前、浇筑中、浇筑后对铝模板成型效果进行实时的跟踪测量,综合把控影响铝模板合格率的各项因素,从而达到免抹灰的效果。在实际应用中该铝模板一次成型合格率效果显著,为现场高层后期免抹灰创造了有利了条件,经过认定核算对比,相比免抹灰情况下,每栋楼节约成本31万元左右。
一种简易型安全警示支架
郑州分公司 胡永华
该成果是一种简易的安全警示支架,包括太阳能警示灯、警戒带卡锁、警戒带托架、警示立杆、语音警示器、锁杆栓、升降套管、底座、万向自锁轮、重力固定架等。该发明结构简单,操作容易,组装拆卸便于携带,警戒带使用后便于回收重复使用,同时配有语音警示器及夜间太阳能警示灯,提供了较大的安全保障,特别适用于施工现场的起重设备安拆、外架拆除、施工电梯安拆等阶段性高空作业施工场所,起到警示过往施工人员的作用,避免安全隐患的发生。
一种用于工程建设管理展示一体机
郑州分公司 石攀峰
该一体机用于工程建设管理展示,包括底座和展示装置。支撑杆垂直固定在底座的顶部,支撑杆的顶部固定有连接板,连接板的四角处均设有通孔。展示板的底部设有与连接板相配合的螺纹孔,连接板通过螺钉与展示板固定连接。展示板的上表面对称设有滑槽,双向螺纹杆的一端通过轴承与展示板转动连接,通过伸缩杆可以适合不同长度的纸张,在外管的端部固定有限位环,在内杆的端部固定有限位板,通过限位环和限位板可以防止外管和内杆脱落,并且可以增加稳定性,结构简单,便于使用,能够全方面的展示工程建设管理。
锚拉筋随主体结构一次成型
郑州分公司 王爽
该成果通过保证锚拉筋设置位置准确、外露长度满足搭接要求,主体结构上,安装锚拉筋处的模板不被破坏,从而提高模板的周转率。采用锚拉筋随主体结构一次成型技术成果,精准的安装和固定锚拉筋,有效的提高此处的模板周转率。给主体结构安装锚拉筋处模板提前开洞,然后把锚拉筋安装到设置位置,开洞处采用两瓣刚性铁件封堵,最后在铁件中间再加一根次背楞固定铁件,使此部位铁件模板形成整体,达到强度和刚度满足使用要求。
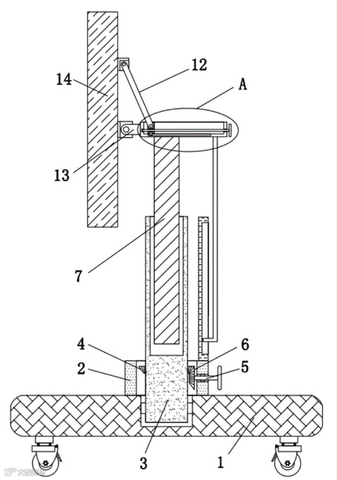
一种建筑用施工电梯与建筑物桥接装置
郑州分公司 李学会
本装置为建筑用施工电梯与建筑物桥接装置,此装置通过铰链翻转搭接至建筑物上,施工人员及施工装置通过此装置进入楼层内部,待人员进入楼层后,将此装置重新翻转至轿厢内部。本装置既解决了施工安全问题,保障人员能够安全进入楼层,也方便施工机具能够轻松顺利通过。使用新装置后,根据现场实际测算,相较以前,每运送100m³加气块能够节约0.5个工日,每运送100吨砂浆能够节约0.4个工日。现场预计使用砌块3.04万m³、各类砂浆2.89万吨,运送上述材料共计节约267.6个工日,每个工日按照实际单价200元/工日计算,共计能够节约53520元。
厚型涂料测量工具
郑州分公司 冯华毅
该成果通过将刻度与测针在固定件上连接起来,使用尾部推柄,将测针插入涂料内,利用刻度直接读出涂料厚度。在钢结构施工中,防火涂料是一项重要工序,涂料的厚度直接关系到防火性能,对主体结构影响重大,而厚型防火涂料厚度为7~50毫米,现今很多仪器无法测量。该工具结构精致,操作简单,读数精准,便于携带,能够快速、精准、随时的测量厚型涂料。制作精良,造价经济,通俗易懂,使工人能够随时控制涂料施工厚度,杜绝返工和材料浪费。
图文来源:刘洋
责任编辑:高歌
微信审核:张传浩、张博
中建七局总承包公司微平台
没时间解释了,快长按左边二维码关注我们~~

