
为推动企业高质量发展
公司持续推进创新驱动专项行动
今年以来
各单位立足生产实践
从满足项目实际需求入手
着力解决建设过程中的重难点问题
积极研发创新技术和工艺
已累计获国家发明专利授权7项

现浇钢筋混凝土异型支座结构
传统的异形结构造型采用木模板加工,多依赖于经验切割,存在成型效果差、木模板浪费严重等问题。
为破解难题,技术团队提出一种弧形模板下料工具及方法。通过圆弧段割线,提高了木模板下料的精确度和效率,确保了钢结构异形支座的成型质量,提高了施工效率。
河南分公司
高大建筑物的垂直度测量
现有高大建筑物的垂直度测量,测量工具不易携带,测量处理过程复杂,且易受现场环境限制,测量效率低。
该方法具有操作方便、效率高、定量化和高精度的优势,给现场施工带来便利的同时,也为下一步结构物垂直度测量信息化打下坚实基础。
河南分公司

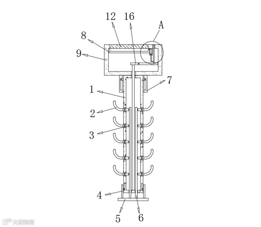
装配式高层住宅工程
传统全钢爬架遇外墙免拆保温板施工需将保温板打孔,使支座附着安装于外墙,破坏了外墙保温,且施工空间狭小、施工困难。如外墙保温板进行预留孔洞,则使支座与保温板之间保温板缺失严重,造成外墙渗漏风险增加,且施工操作困难。
针对这一问题,技术团队研发出一种支撑型钢垫板,将爬架支座安装于钢垫板上,使钢垫板穿过免拆保温板与结构层连接,钢垫板可预留也可现场安装。该发明对免拆保温板破坏性小,对外墙结构扰动性小,保证了爬架的稳定性及安全性,施工操作简单,施工对外墙保温破坏性小,有效保障了施工后观感与质量,实现了装配式施工预期目的,提升了工程施工效率。
河南分公司
主体结构施工。
回填土与散水下方的回填物相连,当悬挑结构下方的土沉降时,会引起散水下方的土相应扰动、变形、沉降,从而使散水悬空,造成不良影响。
本专利在地下室顶板与散水之间设置支墙,并且将首层悬挑板与散水一端植筋连接,使散水成为稳定的构造措施,提高了散水与首层悬挑板的整体性和抗裂性,并且通过砌筑支墙能够将散水及首层悬挑板下方围成封闭空间,能够提高回填物回填后夯实的密实度,从而降低散水发生沉降的风险。并且使用本方法能够使散水施工过程系统化,从而提高整体结构的稳定性以及散水的整体性,处理效果更好,解决了现有技术中散水结构容易下沉、回填物密实度不够的问题。
郑州分公司
主体结构施工。
由于布料管长度不能调节,当移动浇筑不同梁柱时,操作工人无法控制混凝土输送的停止和开始;输送不连续时,臂架末端的软管处会产生非常大的振动,会导致臂架末端定位不准,增加操作危险及臂架疲劳度。
本专利通过增加阀门,便于及时控制关停混凝土的流出,避免混凝土的洒落影响后续楼层浇筑强度;设置上扶环,便于工人对布料管的抓握控制,避免布料管惯性摆动可能造成的甩动工人跌落楼层的危险;设置套管在局部不方便动用天泵料杆的时候,可以推动套管,使支撑弹簧压缩,即可延长布料距离,不用时支撑弹簧膨胀,套管收回,使用方便,提高布料效率;设置鹅颈管和橡胶软管结合,降低橡胶软管厚度同时,鹅颈管增加拉扯强度,不易被挤压变形,橡胶软管插在鹅颈管内,拆卸更换,节约成本,设置橡胶软管内壁上的防脱环和鹅颈管上部开设伸缩缝,适应多种型号的布料机使用,增加适用范围。
郑州分公司
地基及基础施工阶段。
现有的基坑沉降监测用装置在使用时,对基坑钻孔内的土壤与沉降件接触作用面积较小,导致土壤沉降件不能有效的随基坑钻孔内的土壤沉降而向下移动,从而导致沉降监测不够准确。
本专利将沉降件放入基坑钻孔内,沉降件一端与钻孔底壁接触时,拨动机构与沉降件发生相对移动,直至沉降件的底部外壁与钻孔底壁完全贴合,拨动机构对承接机构进行拨动,使得承接机构延伸至沉降件外壁的一端相对沉降件外壁展开,将钻孔与沉降件外壁之间的间隙进行回填时,承接机构增加土壤对沉降件的作用面积,使得沉降件能有效随土壤沉降而向下移动,保证沉降监测的准确性。
郑州分公司
钢筋加工。
钢筋端头螺纹处经常出现毛刺等质量问题,导致无法直接在现场使用,影响正常施工。
本专利将套丝机构和打磨机构设为一体,提高打磨效率。套丝机构与打磨机构之间既啮合又可拆解连接,便于采用同一个驱动机构驱动套丝机构工作,又便于二者分拆后,利用打磨机构对钢筋进行打磨。通过弹簧使橡胶底座与支撑组件弹性连接,使得橡胶底座不会乱移动,只有在受到钢筋端头的推力时才会有少量的移动,并且弹簧的反力还能保证橡胶底座与钢筋端头贴合,更好地与钢筋端头配合对钢筋端头打磨,提高打磨质量。
郑州分公司

图文来源:科技部(企业技术中心)
微信编辑:白晓囡
微信审核:冯梦迟、杨伟涛
扫码关注我们
扬帆起航、逐梦前行、砺进共赢
全力谱写总承包高质量发展新篇章!

