
关键特征
l 单片机UART/BRG
l 直流到16MHz(1M波特)操作
l 晶体或外部时钟输入
l 片上波特率发生器-72可选波特率
l 具有屏蔽能力的中断模式
l 微处理器总线接口
l 80C86 兼容
l 单+5V电源
l 低功耗操作1mA/MHz Typ
l 调制解调器接口
l 断线产生和检测
l 操作温度范围:-55°C至+125°C
l 无铅加退火可用(符合RoHS标准)

描述
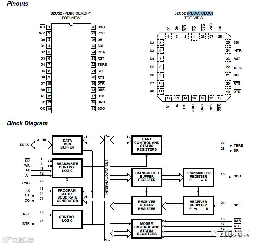
MD82C52/7是intersil生产的一种高性能可编程通用异步收发器(UART)和波特率发生器(BRG)在一个芯片上。利用Intersil高级缩放Saji-IV CMOS工艺,82C52将支持数据速率高达1M波特与16X时钟(16MHz时钟频率)异步。
片上波特率发生器可以使用单个工业标准晶体或外部频率源对72种不同波特率中的任意一种进行编程。在使用三种工业标准晶体(1.8432 MHz、2.45 76MHz或3.072MHz)中的任何一种时,设计了一种独特的预刻度分频电路,以提供标准的RS232-C波特率。可编程缓冲时钟输出(CO)是可用的,并且可以被编程以提供缓冲振荡器或16x波特率时钟用于通用系统使用。
西安福川电子科技有限公司
西安市高新区锦业路32号锦业时代第4幢3单元12层31203号
手机:17791259573
座机:029-88256270
网址:www.aiboco.com
邮箱:sales@aiboco.com
更多军标产品,请阅读原文,有你所需~


